The Project Gutenberg EBook of The House that Jill Built, by E. C. Gardner
This eBook is for the use of anyone anywhere at no cost and with
almost no restrictions whatsoever. You may copy it, give it away or
re-use it under the terms of the Project Gutenberg License included
with this eBook or online at www.gutenberg.org
Title: The House that Jill Built
after Jack's had proved a failure
Author: E. C. Gardner
Release Date: April 30, 2005 [EBook #15678]
Language: English
Character set encoding: ISO-8859-1
*** START OF THIS PROJECT GUTENBERG EBOOK THE HOUSE THAT JILL BUILT ***
Produced by Audrey Longhurst, Jeannie Howse and the Online
Distributed Proofreading (https://www.pgdp.net), from images
generously provided by the Hearth Library, Cornell
University (http://hearth.library.cornell.edu/).
Author of "Homes and How to Make Them." "Home Interiors,"
"Common Sense in Church Building," etc.
| Page | |
| CHAPTER I. A Wise Father And A Glad Son-in-law |
7 |
| CHAPTER II. Moral Suasion For Malarial Marshes |
20 |
| CHAPTER III. A First Visit And Sage Advice |
32 |
| CHAPTER IV. Many Fires Make Small Dividends |
48 |
| CHAPTER V. When The Floods Beat And The Rains Descend |
63 |
| CHAPTER VI. The Wisdom Of Jill In The Kitchen |
78 |
| CHAPTER VII. Be Honest And Keep Warm |
90 |
| CHAPTER VIII. Truth, Poetry And Roofs |
103 |
| CHAPTER IX. Professional Etiquette—Blinds And Bessie |
115 |
| CHAPTER X. More Questions Of Fire And Water |
128 |
| CHAPTER XI. What Shall We Stand Upon? |
140 |
| CHAPTER XII. From Mathematics To Ancient Bric-a-Brac |
151 |
| CHAPTER XIII. Economy, Cleanliness, And Health |
166 |
| CHAPTER XIV. Safe Flues And More Light |
177 |
| CHAPTER XV. A Dangerous Rival |
189 |
| CHAPTER XVI. A New Way Of Getting Up Stairs And A New Missionary Field |
203 |
| CHAPTER XVII. The Right Side Of Paint, A Protest And A Promise |
221 |
| CHAPTER XVIII. The House Finished And The Home Begun |
233 |
| CHAPTER XIX. Ten Years After |
250 |
| CHAPTER XX. A Double Conclusion |
258 |
| Page | |
| Building Sites | 16 |
| Bricks | 46, 53, 58 |
| Blinds | 116 |
| Chimneys | 179 |
| Contract Work | 233 |
| Competitive Plans | 237 |
| Doors | 194 |
| Fireproof Construction | 54 |
| False Chimney-Piece | 98 |
| Fireplaces | 134 |
| Floors | 140 |
| Fashion | 224 |
| Gutters | 129 |
| Heating | 97, 132 |
| Height Of Rooms | 138 |
| Hard Wood | 197 |
| Interior Finish | 221 |
| Kitchen Arrangements | 81, 125 |
| Plumbing | 166, 177 |
| Pantries | 186, 189 |
| Paint | 223 |
| Roofs | 69, 113 |
| Stairs | 38, 214 |
| Stained Glass | 38, 183 |
| Terra Cotta | 61 |
| Under-Draining | 24 |
| Ventilating Flues | 178 |
| Windows | 110, 183 |
| Wooden Buildings | 51 |
On a recent visit to the young woman whose experiences and observations are contained in this book, I was greatly pleased to find her zeal and interest in domestic architecture unabated. She sees that there have been changes and improvements in the art of house building, but declares that while some of her opinions and suggestions of ten years ago have been approved and accepted, it is still true that by far the greater number of those who plan and build houses are guided by transient fashion, thoughtless conservatism and a silly seeking for sensational results, rather than by truth, simplicity and common sense.
She has no doubt that her daughter, Bessie, will study and practice domestic architecture, and naturally expects the houses of the future to contain charms and comforts of which we have as yet only the faintest conception.
E.C. Gardner.
Springfield, Mass., November, 1895.
"MR. E.C. Gardner, architect, has consented to write us a series of articles upon house-building," said one of his associates to the editor of Our Continent a few months since. "What do you think of it?"
"We have no sort of use for such a thing," replied the editor. "There are treatises enough professing to instruct people how to build houses. You can't make every man his own carpenter any more than you can make him his own lawyer. More's the pity."
"But I thought you said you wanted some one who had sense enough to put a thoroughly capable and accomplished housewife's notions of what a house should be into readable prose?"
"So I did," responded the editor, "and I still want it, and am likely to want it for a long time. I do not wish articles on House-building but on Home-building, and you will never get such from an architect."
"Don't be too sure of that," said the other, who had had a taste of the writer's quality before. "Suppose he should wish to try it?"
"Well,—let him," was the grumbled assent.
The editor did not believe in architects. He had built one or two houses that did well enough on paper, but were simply appalling in their unfitness when he came to try to adapt the occupants to the earthly tabernacles which had been erected for their use and enjoyment. He had read house-building books, examined plans and discoursed with architects until he verily believed that the whole business was a snare and a delusion. After this experience he had settled down to the serious belief that the best way to build a house was to erect first a square building containing but one room, and then add on rooms as the occupants learned their needs or the family increased in numbers. In this way, he stoutly maintained, had been erected all those old houses, whose irregularity of outline and frequent surprises in interior arrangement never cease to charm. He asserted boldly that a man's house ought to grow around him like an oyster's-shell, and should fit him just as perfectly; in fact, that it should be created, not built. From architects and their works he prayed devoutly to be delivered, and having theretofore illustrated that part of the proverb which avers that "fools build houses," he declared himself determined thenceforth only to illustrate the latter-part of the proverb:—"and wise men live in them."
Having, however, became sponsor in some sort for what Mr. Gardner might write, he was bound to give attention to it. Very much to his surprise, he found it instead of a thankless task, a most agreeable entertainment. Seldom, indeed, have wit and wisdom been so happily blended as in these pages. The narrative that runs through the whole constitutes a silver thread of merriment on which the pearls of sense are strung with lavish freedom. Every page is sure to contain the subject-matter for a hearty laugh close-linked with a lesson that may well be conned by the most serious-minded. The philosophy of home-building and home-improving is expounded with a subtlety of humor and an aptness of illustration as rare as they are relishable.
There are three classes of people to whom this little volume with its quaint descriptions and wise suggestions will be peculiarly welcome.
First—Those who contemplate, at some time, the building of a home. It matters not whether it is to be humble or palatial, "The House that Jill Built" will be found to contain not only the most valuable suggestions, but a humorous gaiety that will be sure to add pleasure to this duty.
Second—Those who desire at any time to enlarge, modify or improve the homes in which they live; for they will find very forcibly illustrated in its pages the principles which should govern such modification.
Third—Those who, like the writer hereof, have suffered in purse and comfort from the lack of such a pleasant and philosophical treatise, and who will be glad to see how their blunders might have been avoided.
"The House that Jill Built" is founded on the rock of common sense. It does not profess to tell the prospective builder how to be his own architect and carpenter; it does not fit him out with a plan ready made and tested—by somebody else: but deftly and easily it leads him to think about the essential elements of the home he desires until, almost unconsciously, he finds himself prepared to give such directions to an honest architect as will secure for his home, convenience, safety and that peculiar fitness which is the chief element of beauty in domestic architecture. It is not so much for what is taught as for what is suggested that the book is valuable. What the author has written is perhaps not more remarkable than the peculiar art with which he compels the reader to think for himself. "The House that Jill Built" may fairly be said to take the first place among the many works that are designed to make our domestic architecture what it ought to be—the art by which the house-builder may erect a home adapted to his needs, commensurate with his means, in harmony with its surroundings and conducive to the health and comfort of its occupants. What the author's pen has so well described his pencil has illustrated with equal happiness.
In penance for the lack of faith displayed at the outset and in hearty approval of the pages that follow, the Editor has written these words.
A.W. Tourgée.
Philadelphia, Oct., 1882.
mong the wedding-presents was a small white envelope containing two
smaller slips of paper. On one of these, which was folded around the
other, was written,
The enclosed slip was a bank-check, duly stamped and endorsed. Did any old wizard's magic-box ever hold greater promise in smaller compass! Certainly not more than the bride saw in imagination as she read the figures upon the crisp bit of tissue. Walls, roof and stately chimneys arose in pleasant pictures before her mental vision. There were broad windows taking in floods of sunshine; fireplaces that glowed with living flames and never smoked; lazy lounging places and cosy corners for busy work or quiet study; sleepy bed-rooms; a kitchen that made housework the finest art and the surest science, and oh, such closets, such stairways, such comforts! such defiance of the elements, such security against cold and heat, against fire, flood and tempest! such economy! such immunity from all the ills that domestic life is heir to, from intractable servants to sewer-gas!
If some ardent esthete had arrested her flight of fancy by asking whether she found room for soul-satisfying beauty, she would have dropped from her air-castle, landing squarely upon her feet, and replied that if her house was comfortable and told no lies it would be beautiful enough for her—which was saying a great deal, however interpreted, for she loved beauty, as all well-balanced mortals ought, and she would have been conspicuously out of place in a house that was not beautiful.
Perhaps I ought to explain that the house that Jack built, intending to establish Jill as its mistress when it should be completed, had proved most unsatisfactory to that extremely practical young woman. In consequence, she had obstinately refused to name the happy day till the poor, patient fellow had kept bachelor's hall nearly a year. At last, in consideration of an unqualified permission to "make the house over" to any extent, the rough place that threatened to upset them was made smooth. Her father's present, wisely withheld till peace was declared, left nothing to be desired, and they started on their wedding journey as happy as if they owned the universe. This excursion, however, came near being a failure from the sentimental standpoint, because, wherever Jill discovered a house that gave any outward sign of inward grace, it must be visited and examined as to its internal arrangements. Naturally this struck Jack as an unromantic diversion, but he soon caught the spirit, and after much practice gave his salutatory address with apparent eagerness:
"My wife and I happen to be passing through town and have been struck by the appearance of your house. Will you kindly allow us to have a glimpse of the interior?"
The request was invariably granted, for nothing is more gratifying than the fame of having the "finest house in town." Unhappily the interiors were never satisfactory to Jill, and her valedictory to the owners of the striking houses seldom went beyond thanks for their courtesy.
"We visited several houses on our trip," she observed to her father—
"Several hundred," said Jack—
"But were disappointed in them all. Many of them must have cost more than ours will cost, but the money seemed to us foolishly spent."
"Yes," said her husband, "we concluded that the chief plank in the platform of the architects and builders was 'Millions for display—not one cent for comfort.'"
"Well, Jack, we have learned one thing on our travels—where not to look for the plans of our house."
A box of letters from her dear five hundred friends awaited Jill's return, and a whole afternoon was devoted to them. Each letter contained some allusion to the new house. At least ten conveyed underscored advice of the most vital importance, which, if not followed, would demoralize the servants, distress her husband and ultimately destroy her domestic peace. Taken at a single dose, the counsel was confusing, to say the least; but Jill read it faithfully, laid it away for future reference, and gave the summary to her husband somewhat as follows:
"It appears, Jack, my dear, to be absolutely indispensable to our future happiness that the house shall front north, south, east and west."
"Let's build it on a pivot."
"We must not have large halls to keep warm in cold weather, and we must have large halls 'for style.' The stories must not be less than eleven nor more than nine feet high. It must be carpeted throughout and all the floors must be bare. It must be warmed by steam and hot water and furnaces and fireplaces and base-burners and coal grates."
"We shan't have to go away from home to get into purgatory, shall we?"
"Hush! The walls of the rooms must be calcimined, painted, frescoed and papered; they must be dyed in the mortar, finished with leather, with tiles, with tapestry and with solid wood panels. There must be blinds—outside blinds, awnings, inside shutters, rolling blinds, Venetian shades and no blinds at all. There must be wide, low-roofed piazzas all around the house, so that we can live out of doors in the summer, and on no account must the sun be excluded from the windows of the first story by piazza roofs. At least eight patent sanitary plumbing articles, and as many cooking ranges, are each the only one safe and fit to be used. The house must be high and low—"
"I'm Jack and you shall be game—"
"It must be of bricks, wood and stone, separately and in combination; it must be Queen Anne, Gothic, French, Japanesque and classic American, and it must be painted all the colors of an autumn landscape."
"Well, there's one comfort," said Jack; "you haven't paid for this advice, so you won't be obliged to take it in order to save it."
"I should think not, indeed, but that isn't the trouble. These letters are from my special friends, wise, practical people, who know everything about building and housekeeping, and they speak from solemn conviction based on personal experience."
"Moral: When the doctors differ, do as you please."
Three of the letters, reserved for the last on account of their unusual bulk, contained actual plans. One was from an old school friend who had married an architect and couldn't afford to send a wedding present, but offered the plans as a sort of apology, privately feeling that they would be the most valuable of all the gifts; the second was from a married brother in Kansas who had just built himself a new house, and thought his sister could not do better than use the same plans, which he had "borrowed" from his architect; and the third was from Aunt Melville, who was supposed (by herself) to hold the family destiny in the hollow of her hand.
"For once," she wrote, "your father has done a most sensible thing. Every girl ought to have a present of a new house on her wedding-day. You were very silly to make such a fuss about the house that Jack built, for it is a very stylish-looking house, even if it isn't quite so convenient inside; but of course you can improve upon it, and fortunately I can contribute just what you need—the plans of the house that your Uncle Melville built for George last year. It isn't as large as it ought to be, but it will suit you and Jack admirably. You must tell me how much you have to spend. This house can be very prettily built for eight or ten thousand dollars, and if you haven't as much as that you must ask for more. The hall is decidedly stylish, and, with the library at one side and drawing-room at the other, you will have just room enough for your little social parties. The room behind the drawing-room Jack needs for his private use, his study, office, smoking-room or whatever he calls it—a place to keep his gun, his top-boots, his fishing-rod and his horrid pipes; where he can revel to his heart's content in the hideous disorder of a 'man's room,' pile as much rubbish as he likes on the table, lock the doors and defy the rest of the household on house-cleaning days. The dining-room is good and the kitchen arrangements are perfect. George's wife has changed servants but three times since they began housekeeping, nearly a year ago, which certainly proves that there is every possible convenience for doing work easily. The outside of the house is not wholly satisfactory. There should be a tower, and you must put one on somewhere."
Then followed several pages of advice about furnishings and a postscript announced that Colonel Livingston was charmed with the house and would probably build one like it for Clara. The charm of Aunt Melville's advice lay in its abundant variety. It was new every morning and fresh every evening. The latest thing was always the best. The plans of to-morrow were certain to be better than those of yesterday.
Jill therefore made a careful study of the first installment, not doubting that others of superior merit would be forthcoming. She found many things to approve. The hall promised comfort and good cheer, whether stylish or not. The vista across through the parlor bay and the wide library window would give a pleasant freedom and breadth. The stairs were well placed, the second landing with its window of stained glass being especially attractive, whether as a point of observation or as a cosy retreat, itself partly visible from the hall below. Every chamber had a closet of its own, not to mention several extra ones, and there was a place for every bed.
"As for your sanctum, Jack, I don't at all approve. It will be hard enough, I've no doubt, to keep you from lapsing into barbarism, and I shall never allow you to set up a den, a regular Bluebeard's room, all by yourself. I promise never to put your table in order, but I wouldn't trust the best of men with the care of a closet or a bureau-drawer for a single week, much less of an entire room with two closets, a case of drawers, a cupboard and a chimney-piece. But the chief fault of the plan is that it doesn't happen to suit our lot. The entrances are not right, the outlooks are not right, the chimneys are not right."
"Turn it around."
"And spoil it? No; I learned a second lesson on our journey, and it was well worth what it cost. We shall never find a plan made for somebody else that will suit us."
"Not good enough?"
"It isn't a question of goodness—it's a question of fitness. Neither Cousin George's, nor any other house I ever saw, is precisely what we need."
"Moral: Draw your own plans."
"We must, and we'll begin to-morrow."
"Why not this evening?"
"We couldn't see."
"Light the gas."
"Oh, but we must make the plans out of doors on the lot. We shall then know where every room will be, every door and especially every window. We must fix the centre of the sitting-room in the most commanding situation, and be certain that the dining-room windows do not look straight into somebody's wood-shed. Then, if there are any views of blue hills and forests far away over the river, I shall be uncomfortable if we do not get the full benefit of them."
"Don't you expect to have anything interesting inside the house?"
"Except my husband? Oh yes! but it would be a wicked waste of opportunities not to accept the blessings provided for us without money and without price, which only require us to stand in the right places and open our hearts and windows to receive them."
Jill's second lesson was indeed worth learning, even if it cost a wedding journey. Every house must suit its own ground and fit its own household, otherwise it can neither be comfortable nor beautiful.
The next morning, armed with a bundle of laths, sharpened at one end, and equipped with paper, pencil and tape-line, the prospective house-builders proceeded to lay out, not the house but the plan. They planted doors, windows, fireplaces and closets, stoves, lounges, easy-chairs and bedsteads, as if they were so many seeds that would grow up beside the laths on which their respective names were written and bear fruit each according to its kind. Later in the day a high step-ladder was introduced, from the top of which Jill scanned the surrounding country, while Jack stood ready to catch her if she fell. The neighbors were intensely interested, and their curiosity was mixed with indignation when, toward night, a man was discovered cutting down two of the rock-maple trees that Jill's grandfather planted more than fifty years before, and which stood entirely beyond any possible location of the new house.
"This evening, Jack, you must write for the architect to come."
"I thought you were going to make your own plans."
"I have made them, or rather I have laid them out on the ground and in the air. I know what I want and how I want it. Now we must have every particular set down in black and white."
Jack wrote accordingly. The architect was too busy to respond at once in person, but sent a letter referring to certain principles that reach somewhat below the lowest foundation-stones and above the tops of the tallest chimneys.

"
ou are quite right," the architect wrote, "to fix the plan of your
house on the lot before it is made on paper, provided first the lot is
a good one. Nothing shows the innate perversity of mankind more
forcibly than the average character of the sites chosen for human
habitations in cities, in villages and in the open country. Or does it
rather indicate the instinctive struggle for supremacy over nature? The
'dear old nurse' is most peaceably inclined toward us, yet we shall
never be satisfied till all the valleys are exalted and the hills laid
low. Not because we object to hills and valleys—quite the contrary;
but we must show our strength and daring. Nobody wants the North Pole,
but we are furious to have a breach made in the wall that surrounds it.
If we discover a mighty primeval forest we straightway grind our axes
to cut it down; an open prairie we plant with trees. When we find
ourselves in an unclean, malarious bog, instead of taking the short cut
out, shaking the mud from our feet and keeping clear of it forever
after, we plunge in deeper still and swear by all the bones of our
ancestors that we will not only walk through it dry-shod, but will
build our homes in the midst of it and keep them clean and sweet and
dry. The
good mother beckons to us with her sunshine and whispers
with her fragrant breezes that on the other side of the river or across
the bay the land is high and dry, that just beyond the bluffs are the
sunny slopes where she expected us to build our houses, and, like saucy
children as we are, we say that is the very reason we prefer to go
somewhere else.
"Now, if the particular spot of earth on which you expect to set up the temple of your home is not well adapted to that sacred purpose, think a bit before you commence digging. If it is low, wet and difficult of drainage; if the surface water or the drains from adjacent lands have no outlet except across it; if its size and shape compel your house to stand so near your neighbor on the south that he takes all the sunshine and gives you the odors of his dinner and the conversation of his cook in exchange; if there are no pleasant outlooks; if it is shaded by trees owned by somebody who will not be persuaded to cut them down for love nor money—by all means turn it into a fish-pond, a sheep-pasture or a public park. You can never build upon it a satisfactory home. Perhaps it is within five minutes' walk of the post-office and on the same street with Mrs. Adoniram Brown, and these considerations outweigh all others. In that case there is no help for you. You must make the best of it as it is.
"If you have a suspicion that the ground is naturally wet, that it contains hidden springs or conceals an impervious basin, making in effect a pool of standing water underground, the first necessity is a clean outlet—not a sewer—low enough to underdrain the lot at least a foot and a-half below the bottom of the cellar. Having found the clean outlet, lay small drain tiles, two or three inches in diameter, under the entire house and for several feet all around it, like a big gridiron. When this is buried under one or two feet of clean gravel or sand you will have a permanently dry plot of ground to build upon. The same treatment will be effective if the ground is "springy." But there must be a "cut-off" encircling the house. This you can make by digging a trench a foot wide, reaching down to the drain tiles, and filling it nearly to the top with loose stones or coarse gravel, the surface of the ground being graded to slope sharply toward the trench. The surface water between it and the house, and any moisture creeping toward the house from without, will then be caught in this porous trap and fall to the gridiron.
"It is possible, theoretically, to build an underground cellar so tight that it may be lifted up on posts and used for a water-tank, or set afloat like a compartment-built iron steamer. Such walls may be necessary under certain circumstances. They may be necessary for cellars that are founded in swamps, in salt marshes below the level of the sea, and in old river-beds, where the original iniquity of the standing water is made still more iniquitous by the inevitable foulness of the washing from streets and the unclean refuse from sinks and back doors. But for buildings that have four independent walls, with room enough for a man to ride around his own house in a wheelbarrow without trespassing on his neighbors, and which are not hopelessly depressed below all their surroundings, it is better to use a little moral suasion on the land itself than to spend one's resources in a defiant water-proof construction. Instead of drain tiles, small stones covered with a thin layer of hay or straw before being buried in the sand may be used if more economical.
"If you cannot find the clean outlet for these buried drains or tiles below the level of the cellar bottom, then raise the cellar, house and all. No matter if you are accused of having a 'stuck up' house—better be stuck up than stuck in the mud. Raise it till the entire cellar is well above the level of thorough drainage. If this happens to carry it above the surface of the ground, set the house on posts and hang the cellar under the floor like a work-bag under a table or the basket to a balloon.
"The foundation walls must indeed touch solid bottom and extend below the action of frost; but if the wall above the gridiron and below the paving of the cellar is of hard stones, or very hard bricks laid in cement, there will be little risk from rising moisture.
"After all, the chief danger is not from underground springs, from clean surface water or an occasional rising of the floods, but from the unclean wastes that in our present half-civilized state are constantly going out of our homes to poison and pollute the earth and air around them."
"Half-civilized indeed!" said Jack, interrupting the reading of the letter. "Besides, he is premature as well as impertinent. He doesn't know but the house will stand on a granite boulder."
"I suppose he intends to warn us, and I am not certain that our lot is as dry as it ought to be. At all events we will have some holes dug in different places and see if any water comes into them."
"Of course it will. Haven't we just had the 'equinoctial'? The ground is full of water everywhere."
"If it is full this spring it will be full every spring. We may as well order the drain tiles."
"It shall be done," said Jack. "Now let us have the second proviso. I hope it will be shorter than the first."
"And, secondly," Jill continued reading, "provided you know what your house is for. It is my conviction that of all the people who carefully plan and laboriously build themselves houses, scarcely one in ten could give a radical, intelligent reason for building them. To live in, of course; but how to live is the question, and why. As they have been in the habit of living? As their neighbors live? As they would like to live? As they ought to live? Is domestic comfort and well-being the chief motive? It is not, usually; hence, there are in the world a great many more houses than homes."
"Oh, bother the preaching! It's all true, but we don't happen to need it. When is he coming?"
"Next week, and he hopes we shall have 'some general idea of what we want.' How very condescending! We know precisely what we want, as I can easily show him."
Jill accordingly produced a fresh sheet of "cross-section" paper, on whose double plaid lines the most helpless tyro in drawing can make a plan with mathematical accuracy provided he can count ten, and on this began to draw the plan of the first floor, expounding as she drew.
"If we call the side of the house which is next the street the front, the main entrance must be at the east side, because we need the whole of the south side for our living rooms. You know the view toward the southwest is the finest we shall have, especially from the chambers."
"How do I know? I didn't climb the step-ladder."
"And we must have a large bay window directly on that corner. The hall must run through the house crosswise, with the stairs on the west side of the house. As there is nothing to be seen in this direction except the white walls and green blinds of the parsonage, the windows on the stair-landing shall have stained glass. The dining-room will be at the north side of the hall, with plenty of eastern windows, and behind that the kitchen with windows at opposite sides. But you wouldn't understand the beauty of my kitchen arrangements now. By-and-by, when you are wiser, I will explain them. Do you like a fireplace in the hall, Jack?"
"I don't know as I do. Do you?"
"Of course! certainly."
"I shall be of all men most miserable without one. Can't we have two?"
"Perhaps so; but first let me read you Cousin Bessie's letter:
My Dearest Jill:
I'm perfectly delighted to hear about the new
house. It will be an immense success. I know it will—you are
so wise and so practical. How I shall enjoy visiting you!
It is delightful to build houses now. Everybody thinks so much
more of the beautiful than they used to. Some of my friends
have the loveliest rooms. The tones are so harmonious, the
decorations so exquisite! Such sympathetic feeling and
spiritual unity! I wish you could see Kitty Kane's hall. It
isn't bigger than a bandbox, but there's the cunningest
little fireplace in one corner, with real antique andirons and
the quaintest old Dutch tiles. They never make a fire in it;
couldn't if they wanted to—it smokes so. But it is so lovely
and gives the hall such a sweet expression. You will forgive
me, won't you, Jill, dear? but you know you are so practical,
and I do hope you won't forget the esthetic needs of home
life.
Your loving cousin, Bet."
"Let's give up the hall fireplace," said Jack.
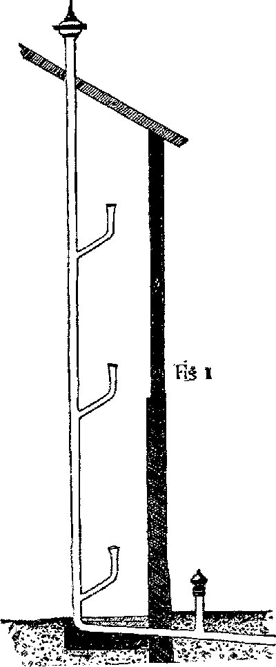
"By no means; our hall is large and needs a fireplace—one that will not smoke and will warm not only the hall in very cold weather, but the whole house when it isn't quite cold enough for steam. The sides and back will be of iron with an air-chamber behind them, into which fresh air will be brought from out of doors and come out well warmed at the sides." (Jill's idea was something like the above figure for the plan.)
"It will be a capital ventilator, too, for the centre of the house. There will be a damper in the hearth to let the ashes down into the ash-pit. I suppose a stove would answer, but this will be better because it won't have to be blacked, and it will last as long as the house."
"How will it look standing out there all alone by itself?"
"Haven't I told you, my dear, that whatever is well looks well?"
"Yes, but it takes a mighty faith to believe it, and I'm not even a mustard-seed. What is the little room in the southwest corner for?"
"That is the library, and for an ordinary family it is large enough. It is twelve feet by fourteen. It will hold three or four thousand books, a table, a writing-desk, a lounge and three or four easy chairs. More room would spoil the privacy which belongs to a library and make it a sort of common sitting-room. Moreover, by drawing aside the portières and opening the doors we can make it a part of the large room when we wish to; and, on the other hand, when they are closed and the bay window curtains drawn, instead of one large room we shall have three separate apartments for three solitary misanthropes, for three tête-a-têtes, or for three incompatible groups, not counting the hall—no, nor the stair-landing, which will be a capital place for a quiet—"
"Flirtation."
At this point they were interrupted by a telegram from Aunt Melville, begging them not to begin on George's plan, as she had found something much more satisfactory.
hey didn't begin to build, from Cousin George's nor from any other
plan, for many weeks. Until the new house should be completed, Jill had
agreed to commence housekeeping in the house that Jack built, without
making any alterations in it, only reserving the privilege of finding
all the fault she pleased to Jack privately, in order, as she said, to
convince him that it would be impossible for them to be permanently
happy in such a house.
"I supposed," said Jack, with a groan, "that my company would make you blissfully happy in a cave or a dug-out."
"So it would, if we were bears—both of us. As we are sufficiently civilized, taken together, to prefer artificial dwellings, it will be much better for us to find out what we really need in a home by actual experiment for a year or two. You know everybody who builds one house for himself always wishes he could build another to correct the mistakes of the first."
"Yes, and when he has done it probably finds worse blunders in the second. Still, I'm open to conviction, and after our late architectural tour perhaps my house won't seem in comparison so totally depraved."
When they visited it, preparatory to setting up their household gods—Jack's bachelor arrangements being quite inadequate to the new order of things—Jack, with a flourish, threw the highly ornamental front door wide open. Jill walked solemnly in, and, looking neither to the right nor the left, went straight up stairs.
"Hello!" Jack called after her, "what are you going up stairs for?"
"I supposed you expected everybody to go to the second floor," said Jill, looking over the bannister, "or you wouldn't have set the stairs directly across the front entrance."
"I do, of course," Jack responded, following three steps at a time. "And now will you please signify your royal pleasure as to apartments?"
"Oh, yes! The first requisite is a room with at least one south window."
"Here it is. A southerly window and a cloudy sky—two windows, in fact. And look here: see what a glorious closet. It goes clear up to the ceiling."
"It isn't a closet at all; only a little cupboard. It wouldn't hold one-half of your clothes nor a tenth part of mine. And there's no fireplace in the room—not even a hole for a stovepipe."
"Furnace, my dear. We shall be warmed from the regions below. There's the register."
"I see. But where shall the bed stand? On these two sides it would come directly in front of a window; on this side there isn't room between the two doors; on that, there's the 'set bowl'—I hate 'set bowls'—and the furnace register in the floor."
"That's so. I never had any bed in this room. Try the dining-room chamber; that has a south window. The bed can stand on the north side and the dressing table over in the other corner."
"Yes, in the dark, with a window behind my back. Oh! Jack, why didn't you get a wife before you planned your house?"
"I did try."
"You did! You never mentioned it to me before. What is this little room for?"
"Why, nothing in particular. It came so, I suppose—part of the hall, you know; but it wouldn't be of any use in the hall, so I made a room of it. It will hold a cot bed if we should happen to have a house full of company."
"It will never be needed for that with three other guest rooms; but I see what can be done. You know I promised not to make any alterations; but destruction isn't alteration, and as this little room is beside the front chamber, with only the little cupboards between, a part of the partition between the rooms can be destroyed. There will be no need of a door; a portière will be better, and I can use the small room for a dressing-room and closet. So that is nicely arranged; and while you are marking where the partition is to be cut away I will explore the first story."
Now, the stairs were built in a very common fashion, having a sharp turn at the top, which made the steps near the balustrade exceedingly steep and narrow. Jill's foot slipped on the top step and down she went, feet foremost, never stopping till she reached the hall floor below. Jack, hearing the commotion, ran to the rescue, caught his foot in the carpet and came tumbling after, with twice as much noise and not half as much grace. Happily the staircase was well padded under the carpet, and finding Jill unhurt as well as himself, Jack helped her to rise and coolly remarked:
"You certainly can't find any fault with the stairs, Jill, dear. If there had been one of those square landings midway it would have taken twice as long to come down. I—I had them made so on purpose. Will you walk into my parlor?"
They went in and sat down in easy-chairs.
"I suppose," said Jill, "that our native land contains about a million houses with stairs like these and just such halls—if people will persist in calling them 'halls,' when they are only little narrow, dark, uncomfortable entries. If we were going to make any alterations in this house—which we are not, only destructions—- I should take these out, cut them in two in the middle, double them up, straighten the crook at the top and shove them outside the house, letting the main roof drop down to cover them. Then I would make a large landing at the turn, large enough for a wide seat, a few book shelves and a pretty window. This could be of stained glass, unless the view outside is more interesting than the window itself. The merit of a stained-glass window," Jill observed, very wisely, "is that the sunlight makes a beautiful picture of it inside the house during the day, and the same thing, still more beautiful, is thrown out into the world by the evening lamps, and the darker the night the brighter the picture. After the stairs were moved out, the little hall, if joined by a wide doorway, to the room we are now in would become of some value. There is no grate in this room, and a chimney might be built in the outer wall, with a fireplace opposite the wide doorway. Then, taken all together, we should have a very pretty sitting-room. I shouldn't call that an alteration—should you, Jack?—only an addition."
"Certainly not. Tearing down partitions, taking out plumbing, building a few chimneys, moving stairways, and such little things, can't be called 'alterations'—oh, no."
"And the house will be worth so much more when you come to sell it."
"Of course. But why do you call this a 'sitting-room?' It wouldn't be possible to sell a house that has no parlor; besides this is marked 'parlor' on the plan."
"I prefer the spirit of the plan to the letter of it. This is the pleasantest room—almost the only pleasant room on this floor. It is sunny and convenient, it looks out upon the street and across the lawn, and whatever it is labeled it will be our common every-day sitting-room. For similar reasons we will take the chamber over it for our own room."
"What becomes of our hospitality if we keep the best for ourselves?"
"What becomes of our common sense if we make ourselves uncomfortable the year round in order to make a guest a little less uncomfortable over night. I try to love my neighbor as myself; I can't love him three hundred and sixty-five times as well. Now, if you are rested, we will go and see if the architect has come."
He had not arrived, but they found a ponderous package of plans from Aunt Melville, with an explanatory note, a letter from Cousin Bessie admonishing Jill that her new home ought to be "a perfect poem, pervaded and perfumed by a rare feeling of tender longing and homely aspiration," and another from her father's oldest sister.
"For fifty years," Aunt Jerusha wrote, "I have lived in what would now be called an old-fashioned house, though it was new enough when I came to it, and I always think of the Scripture saying when I hear about the many inventions that men have sought out and are putting into houses now-a-days. The danger is not so much from the inventions themselves as from what they lead to. They promise great things, but I've learned to be suspicious of anything or anybody that makes large promises. I've learned, too, that realities sometimes go by contraries as well as dreams. The poorest folks are often the richest, and the greatest saving often turns out to be the greatest waste. Air-tight stoves saved the wood-pile, but they gave us colds and headaches. So your uncle put them away and we went back to the fireplaces. Then came the hot-air furnaces, which seemed so much less trouble than open fires, but taking care of the open fires wasn't half so troublesome as taking care of sick folks; and the same thing we learned to our bitter cost of the plumbing pipes that creep around like venomous serpents and promise to save so many steps. Perhaps they do, but it seems to me that much of our vaunted labor-saving is at best only a transfer. We work all the harder at something else or compel others to work for us. When I began housekeeping I had no difficulty in taking care of my large house without any help, nor in caring for my family while it was small. Yet I hadn't a single modern invention or labor-saving machine, I have had a great many since and have tried a great many more. When I find one that helps in the work that must be done I am glad to keep it. If it merely does something new—something I had never done before—I keep the old way. Multiplying wants may be a means of grace to the half-civilized, but our danger lies in the other direction: we have too many wants already. And this is what I sat down to say to you, my dear child: Don't make housekeeping such a complex affair that you must give to it all your time and strength, leaving no place for the 'better part.' Don't fill your house with furniture too fine to be used, and don't try to have everything in the latest fashion. I see many beautiful things and read of many more, but nothing is half so beautiful to me as the things that were new fifty years ago and are still in daily use. Of planning houses I know but little. For one thing, I should say, have the kitchen and working departments as close at hand as possible. This will save many weary steps, whether you do your own work or leave it with servants, the best of whom need constant watching and encouragement, or they will not make life any easier or better worth living."
"Isn't this rather a solemn letter?" Jack inquired.
"Yes; it's a solemn subject."
"Shall you 'do your own work'?"
"Of course I shall. How can I help it?
'Each hath a work that no other can do;'but just precisely what my own work will be I am not at present prepared to say."
"Is Aunt Melville as solemn as Aunt Jerusha?"
"Aunt Melville assures her dear niece that 'the last plans are absolutely beyond criticism: the rooms are large and elegant, the modern conveniences perfect, the kitchen and servants' quarters isolated from the rest of the house'—"
"That won't suit the other aunty."
"The porte cochère and side entrance most convenient and the front entrance sufficiently distinguished by the tower. I particularly like the porte cochère at the side. If none of your callers came on foot there would be no objection to having it at the front entrance, but it isn't pleasant to be compelled to walk up the carriage-way. As you see, this is a brick house, and I am persuaded you ought to build of bricks. It will cost ten or fifteen per cent. more—possibly twenty—but in building a permanent home you ought not to consider the cost for a moment.'"
"That's a comfortable doctrine, if everybody would live up to it," said Jack.
"Yes; and like a good many other comfortable doctrines, it contains too much truth to be rejected—not enough to be accepted. We must count the cost, but if we limit ourselves to a certain outlay, and positively refuse to go beyond that, we shall regret it as long as we live. We may leave some things unfinished, but whatever is done past alteration, either in size or quality, must be right, whatever it costs."
And herein Jill displayed her good sense. It is, indeed, a mistake to build a house beyond the possibility of paying for it, or of maintaining it without a constant struggle, but in building a permanent home there is more likely to be lasting regret through too close economy in the first outlay, than through extravagance—regret that can only be cured by an outlay far exceeding what the original cost would have been.
The architect came as the sun went down, and, after being duly warmed, fed and cheered, was informed by Jill that all she expected from him that evening was an explanation of the respective merits of wood and brick houses. Jack begged the privilege of taking notes, to keep himself awake, Jill begged the architect to be as brief as possible, and the architect begged for a small blackboard and a piece of chalk, that he might, in conveying his ideas, use the only one, true, natural and universal language which requires no grammar, dictionary or interpreter.

"

here are two things belonging to modern civilization," the architect
began, "that fill me with amazement. This morning, at the usual hour, I
sat at my own breakfast table. During the day I have been reading and
writing, eating, drinking and making merry with pleasant acquaintances,
old and new. I have observed the architecture of a dozen cities and a
hundred villages and have seen landscapes without number. I have been
occupying an elegantly finished and furnished drawing-room all the
time, with every possible comfort and convenience at hand, and now am
sitting at your fireside, two hundred and fifty miles from home. I have
just assured the girl I left behind me of my safe arrival, and have
listened to her grateful reply. With my ten thousand companions going
in the same direction I have met ten thousand others crossing and
recrossing our path, every one of whom was as safe and comfortable as
ourselves, every one of whom knew the hour and the minute at which he
would reach his destination. To an observer above the clouds our
pathways would appear more frail than the finest gossamer; and the most
daring engineer that ever lived, seeing for the first time our mode of
travel, would stake his reputation that we were rushing to
inevitable destruction. Yet every foot of our way has been so guarded
that not one of these swiftly-moving palaces has swerved from its track
or been hindered on its course. This annihilation of space, with the
human skill, vigilance and fidelity incidental to it, are more
wonderful to me than any tales of magic, stranger than any fiction. I
believe because I see; nevertheless it is incredible. My second
amazement is that fire insurance companies should continue to live and
thrive against such apparently fearful odds, for I see whole villages
and cities composed of buildings that seem expressly designed to invite
speedy combustion, and at the same time to resist all attempts to
extinguish a fire once started in their complex interiors. Indeed, the
most effective modes of treatment yet discovered for a burning building
are drowning it with all its contents in a deluge of water or blowing
it up with gunpowder. It is an open question which of the two methods
is to be preferred.
"Let me show you how a wooden house is built. The sills and joists of the first floor are comparatively safe, because they are not boxed in with dry boards, and even with furnace and ash-pits in the cellar there would be little danger from a fire down below if it were not for the careful provision made for carrying it into the upper part of the structure. This provision, however, is most effectively made by means of the upright studs and furrings that stand all around the outside of the building and reach across it wherever a partition is needed. Accordingly, every wooden house has from one hundred to one thousand wooden flues of a highly inflammable character arranged expressly to carry fire from the bottom to the top, valiantly consuming themselves in the operation. Furthermore, they are frequently charged with shavings and splinters of wood, which, becoming dry as tinder, will respond at once to a spark from a crack in the chimney, an overheated stove or furnace-pipe, or a match in the hands of an inquisitive mouse. They are, likewise, so arranged that no water can be poured inside them till they fall apart and the house collapses, for they reach to the roof, whose sole duty is to keep out water, whether it comes from the clouds or from a hose-pipe, but which, for economical reasons, is made sufficiently open to allow the air to pass through it freely, thus insuring a good draught when the fire begins to burn. To complete the system and prevent the possibility of finding where the fire began, the spaces between the joists of the upper floors communicate with the vertical flues, and these highways and byways for rats and mice, for fire and smoke, for odors from the kitchen, noises from the nursery and dust from the furnace and coal-bin, are also strewn with builders' rubbish, which carries flame like stubble on a harvest-field.
"Brick houses, as usually built, are not much better, but that is not the fault of the bricks—they are tougher than good intentions; they have been burned once and fire agrees with them. In fact, there is no building material so thoroughly reliable, through thick and thin, in prosperity and in adversity, as good, honest, well-burned bricks. But the ordinary brick house is double—a house within a house—a wooden frame in a brick shell. Like logs in a coal-pit, the inner house is well protected from outside attacks, but the flames, once kindled within, will run about as freely as in a wooden building, and laugh at cold water, which, however abundantly it is poured out, can never reach the heart of the fire till its destructive work is accomplished. Thrown upon the outer walls, it runs down the bricks or clapboards; poured over the roof, it is carried promptly to the ground, as it ought to be; shot in through the windows, it runs down the plastering, washes off the paper, soaks the carpets, ruins the merchandise and spoils everything that water can spoil, while the fire itself roars behind the wainscot, climbs to the rafters and rages among the old papers, cobwebs and heirlooms in the attic till the roof falls in, the floors go down with a crash and an upward shower of sparks, and only the tottering walls, with their eyeless window sockets, or the ragged, blackened chimney's, remain."
"One road leads to fire and the other to combustion; that's plain enough," said Jack; "but where do the merits come in? I thought we were to learn the relative merits of bricks and wood."
"Wood has one conspicuous merit, a virtue that covers a multitude of sins—it is cheap; but let me first arrange the fire-escapes."
"By all means. Otherwise we shall be cremated before morning."
"If you understand my sketch you will see that but one thing is needful to retard the progress of hidden fire, even in a wooden building, long enough at least for one to go up the hill and fetch a pail of water. This remedy consists simply in choking the flues and stopping the draught, which can easily be done by filling in with bricks and mortar between all the studs of both outer walls and inner partitions at or near the level of each floor. A cut-off half way up is an additional safeguard. The horizontal passages between the floor-joists should also be closed in a similar manner, otherwise the smoke and sparks from a burning lath next the kitchen stove-pipe will come up through the cracks in the floor of the parlor, chamber, or around some remote fireplace, where the insurance agent will be assured 'there hadn't been a fire kindled for six months.' These occasional dampers are a partial remedy, and if carefully fitted in the right places will save many tons of coal and greatly diminish the chances of total destruction in case of fire. The complete remedy is to leave no spaces that can possibly be filled.
"I supposed air spaces were necessary for warmth and dryness," said Jill.
"So they are. But there are air spaces in a woolen blanket, in a brickbat and in common mortar, as well as in sawdust, ashes and powdered charcoal, quite enough to serve as non-conductors of heat and of moisture too, if properly protected. One of the best and most available materials at present known for this purpose is 'mineral wool,' a product of iron 'slag.' If the open spaces between the studs and rafters of a wooden building (or in a brick building between the furrings) are filled with this substance, or anything else equally good, if there is anything else—of course sawdust or other inflammable material would not answer except for an ice-house or a water-tank—'fire-bugs' would find it difficult to follow their profession with any success, and the insurance companies would build more elegant offices and declare larger dividends than ever before. Houses might be burned possibly, but the inmates would have ample time to fold their nightgowns, pack their trunks, take up the carpets and count the spoons before vacating the premises."
"How much will that sort of stuffing cost?"
"For a wooden dwelling house of medium size a few hundred dollars would cover the first outlay, and the saving in worry would be worth twice as much every year."
"Now to consider the relative merits of brick and wood, for I see Jack is going to sleep again: The chief excellence of wood has already been mentioned. It is cheap, so cheap that any man who can earn a dollar a day and live on fifty cents, may at the end of a year, have a house of his own in which he can live and begin to bring up a family in comfort and safety. He that builds of bricks may rejoice in the durability and strength of his house, in its security against fire and sudden changes of temperature, in economy of fuel in cold weather, of ice in warm weather, and of paint in all weathers; in the possibility of the highest degree of external beauty, and in the blessed consciousness that his real estate will not deteriorate on his hands or be a worn-out and worthless legacy to his children."
"You must wear peculiar spectacles if you can discover beauty in a square brick house!"
"Rectitude, of which a brick is the accepted type, certainly has a beauty of its own. But if a brick house is not beautiful—here again the fault is not, dear Jack, in the bricks; but in ourselves, our prejudices and our architects—other things being equal, it should be more beautiful than a wooden house, because the material employed is more appropriate for its use. (I should like to deliver an oration at this point, for upon this Golden Rule of utility hang all the law and the prophets of architectural beauty, but will defer it to a more fitting occasion.) There is, in truth, no limit to the grace of form, color and decoration possible with burned clay. As a marble statue is to a wooden image, so, for the outer walls of a building, is clay that has been moulded and baked, to the products of the saw-mill, the planing-mill, lathe and fret-saw."
"Oh, you mean terra cotta?"
"I mean clay that has been wrought into forms of use and beauty, and prepared by fire to endure almost to the end of time. It is most commonly found in plain rectangular blocks, but in accordance with the artistic spirit of the age, brains are now mixed with the sordid earth, and lasting beauty glows upon the rich, warm face of the strong brick walls."—
"Yea, verily, amen and amen! Beauty, eloquence and true poetry, bright gleams of prophetic fire, patriotism, piety and the music of the spheres. I can see them all in my mind's eye and hear them in my mind's ear. Jill, my dear, our house shall be bricks—excuse me, I mean brains—and mortar, from turret to foundation stone. Consider that settled, and if the meeting is unanimous we will now adjourn till to-morrow morning."
"One moment, if you please. Filling the spaces behind the lathing in a brick house with some fireproof and non-conducting material is a concession to usual modes of building. A more satisfactory construction still would be to build the wails of hollow bricks and with air spaces so disposed that neither wood furrings nor laths would be necessary. There is, moreover, no good reason why the inner surfaces of the main walls of a brick house and both sides of the partitions should not form the final finish of the rooms. Glazed bricks or tiles built into the walls, or secured to them after they are built, are vastly more satisfactory than a fragile and incongruous patchwork of wood, leather, metal, paper, paint and mortar, thrown together in some of the thousand and one fantastic fashions that spring up in a day, run their little course, and speedily return to the dust they have spent their short lives in collecting. I am afraid to dwell on this theme lest I should lie awake all night in a fever of futile protest."
"Pray don't run any risks. I move we now adjourn."
"Yes; but first let me ask one question," said Jill. "Would not the difference of cost between a house built in the ordinary combustible style and the same made fire-proof, or even 'slow-burning,' pay the cost of insurance at the usual rates many times over and leave a large margin besides?"
"Undoubtedly it would."
"Then, as an investment, what object is there in attempting to make buildings fireproof or even approximately so?"
"Excuse me. I thought you were going to ask only one question."
fter the architect had retired to his room it occurred to him that he
might have answered Jill's conundrum as to the profit of building
fire-proof houses by reminding her that pecuniary loss is not the sole
objection to being burned out of house and home whenever the fire fiend
happens to crave a flaming sacrifice, in the daytime or in the night,
in summer or in midwinter, in sickness or in health; that not only
heir-looms, but hearthstones and door posts, endeared by long
associations, have a value beyond the power of insurance companies to
restore, and that protection against fire means also security against
many other ills to which the dwellers in houses are liable, not to
refer to the larger fact that there is no real wealth without
permanence, while the destruction of anything useful in the world,
wherever the loss may seem to fall, impoverishes the whole. Having
settled this point to his own satisfaction, he sought his pillow in a
comfortable frame of mind. Comfortable, but not wholly at rest, for no
sooner did he close his eyes than the "fever of futile protest"
asserted itself in turbulent visions of paper, paint and plastering.
Dados danced around in carnival dress; wall decorations went waltzing
up and down, changing in shape, size and color like the figures in a
kaleidoscope; Chinese pagodas on painted paper dissolved into brazen
sconces, and candelabra sat where no light would ever shine; glazed
plaques turned into Panama hats and cotton umbrellas, the classic
figures in the frieze began to chase the peacocks furiously across the
ceilings, the storks hopped wildly around on their one available leg,
draperies of every conceivable hue and texture, from spider webs to
sole leather, shaking the dust from their folds, slipped uneasily about
on their glittering rings, and showers of Japanese fans floated down
like falling apple blossoms in the month of May. He seemed to see the
Old Curiosity Shop, the uncanny room of Mr. Venus, a dozen foreign
departments of the Centennial, ancient garrets and modern household art
stores, all tumbled together in hopeless confusion, and over all an
emerald, golden halo that grew more and more concentrated till it burst
into gloom as one gigantic sunflower, which, suddenly changing into the
full moon just rising above the top of a neighboring roof, put an end
to his chaotic dreams.
Not willing to be moonstruck, even on the back of his head, he arose and went to the window to draw the curtain. There was a sort of curtainette at the top, opaque and immovable, serving simply to reduce the height of the window. At the sides there were gauzy draperies, too fancifully arranged to be rashly moved and too thin to serve the purpose of a curtain even against moonlight. He tried to close the inside shutters, but they clung to their boxes, refusing to stir without an order from the carpenter. At the risk of catching a cold or a fall, he opened the window and endeavored to bring the outside blinds together. One fold hung fast to the wall, the other he contrived to unloose, but the hook to hold it closed was wanting, and when he tried to fasten it open again the catch refused to catch, so he was compelled to shut the window and leave the swinging blind at the mercy of the wind. He then improvised a screen from a high-backed chair and an extra blanket, and again betook himself to bed. Stepping on a tack that had been left over when the floor matting was laid provoked certain exclamations calculated to exorcise the demon—or should I say alarm the angel?—of decorative art, and he was soon wrapped in the slumber of the just, undisturbed by esthetic visions.
After a time he became dimly conscious of a sense of alarm. At first, scarcely roused to understand the fear or its cause, he soon recognized a noise that filled his soul with terror—the stealthy sound of a midnight assassin; a faint rasping, intermittent and cautious, a sawing or filing the bolt of his door. He made a motion to spring up, upset a glass of water by his bedside and—frightened the rats from the particular hole they were trying to gnaw. In their sudden fright they dropped all pretense of secresy. They called each other aloud by name and scattered acorns, matches, butternuts and ears of corn in every direction, which rolled along the ceiling, fell down the partitions, knocked the mortar off the back of the laths and raised such a noisy commotion as ought to have roused the whole neighborhood. No one stirred, and the architect once more addressed himself to blessed sleep, feeling that morning must soon put an end to his tribulations. How long he slept he had no means of knowing. It was still dark when he awoke: dark but not still. A distant footfall tinkled on the matted floor, followed by another and another in rapid, measured succession. Could there be a cat or a dog in the room? He could see nothing. The moon was gone and the room was dark as Egypt. Possibly some animal escaped from a traveling menagerie had hidden in the chamber. He lay still and listened while the step—step—step—kept on without break or change. Presently he thought of ghosts, and as ghosts were the one thing he was not afraid of he turned over and went to sleep for good just as the village clock struck eleven.
In the morning when he awoke, it rained. The ghostly footfalls continued; in fact, they had considerably increased, but they were no longer ghostly. A dark spot on the ceiling directly over the portfolio of plans he had laid on the floor betrayed their source. Portfolio and contents were as well soaked as if the fire companies had been at them—all from a leak in the roof.
After breakfast, when Jill proposed to spend the time till it cleared off in looking over the plans he had brought, the architect was obliged to explain the disaster.
"It is just as well," said he. "I brought them because you asked me to bring them, not because I supposed there would be one among them that would suit you. But they are not wasted. These poor, dumb, dripping plans preach a most eloquent sermon, the practical application of which is only too evident."
"But how can you make a tight roof? There has always been a leak here when it rains with the wind in a certain quarter. We keep a pan under it all the time, but somebody forgot to empty it; so it ran over last night."
"You ought to see the house that I built," said Jack. "The wind may blow where it listeth and never a drop comes through the roof."
"Oh, Jack, what a story! Only yesterday you showed me where the ceiling was stained and the paper just ready to come off."
"That wasn't from rain water. It was from snow and ice water, which is a very different affair. We had peculiar weather last winter. I know a man who lost three thousand dollars' worth of frescoes in one night."
"It is indeed a different matter as regards the construction of the roof, but the water is wet all the same, and a roof is inexcusable that fails to keep all beneath it dry, however peculiar the weather may be. No, it is not difficult to make a tight roof with the aid of common sense and common faithfulness. The most vulnerable spots during a rain storm are beside the dormers and the chimneys, over the bay-window roofs and in the valleys, that is, wherever the plane surface and the uniform slope of the roof is broken. In guarding these it is not safe to assume that water never runs up hill; a strong wind will drive it up the slope of a roof under slates, shingles or flashings as easily as it drives up the high tide of Lincolnshire. It will cause the water pouring down the side of a chimney, a dormer window, or any other vertical wall, to run off in an oblique direction and into cracks that never thought of being exposed to falling rain. 'Valleys' fail to carry their own rivers when they are punctured by nails carelessly driven too far within their borders; when the rust that corrupts the metal of which they are commonly composed has eaten their substance from the under side perhaps, their weakness undiscovered till the torrent breaks through; when they become choked with leaves and dust and overflow their banks; when they are torn asunder by their efforts to accommodate themselves to changes of temperature, and when ice cakes come down from the steep roofs and break holes through them.
"The other danger is peculiar to cold climates, where the roof must protect not only from driving rain but from snow and ice in all their moods and tenses. When the higher peaks feel the warmth of the sun or the internal heat of the building, the lower slopes and valleys being without such influence, it sometimes happens that the rills will be set to running by the warmth of the upper portions, while the colder climate below will stop them in their course, building around the slate, shingles or tiles an impervious ice dam, from which the descending streams can find no outlet except by 'setting back' under the slates and running down inside. Eave spouts and conductors are especially liable to this climatic influence, for nothing is more common than to find them freezing in the shade while the roofs above are basking in the sun. As Jack observes, admitting water above an ice dam is a different kind of sin in a roof from that which caused the ruin of my plans last night, but it is no less unpardonable. The same treatment that will make a roof non-conducting of fire will, to some extent, overcome this danger, or a double boarding may be laid upon the rafters, with an air space between. This or the mineral wool packing will prevent the premature melting of snow from the internal heat. The only sure salvation for gutters is to take them down and lay them away in a cool, dry place. Thorough work, ample outlets and abundant room for an overflow on the outward side will make them reasonably safe. In general it is better to let the water fall to the ground, as directly as possible, and let the snow slide where it will, provided there is nothing below to be injured by an avalanche. A hundred-weight of warm snow or a five-pound icicle falling ten feet upon a slated roof or a conservatory skylight is sure to make a lasting impression."
"Isn't this discourse a little out of season?" said Jack. "We don't buy furs in July nor refrigerators in January. If you expect advice to be followed, you mustn't offer it too long beforehand. Now, as your plans haven't yet recovered from their bath, let us see if Jill's air-castles can be brought down to the region of human possibilities."
"I am not quite ready for that," said Jill. "First, let me show you the plans my old friend has sent me, and read you her description of them. Here are the plans and here is the letter:
"'Of all the plans Will has ever made'—her 'Will' is an architect, you know—'these seem to me most likely to suit you and Jack, although they are by no means, adapted to conventional, commonplace housekeepers. In the centre of the first floor the large hall, opening freely to the outside world, is a sort of common ground, hospitable and cheerful, where the stranger guest and the old friend meet; where the children play, where the entire household are free to come and go without formality. The furniture it contains is for use and comfort. It is never out of order, because it is subject to no formal rules. At the left of the hall is the real family home, more secluded and more significant of your own taste and feeling. Instead of many separate apartments for general family use, here are drawing-room, sitting-room, library and parlor, all in one. This is the domestic sanctuary, the essential family home into which outsiders come only by special invitation. From the central hall runs the staircase that leads to the still more personal and private apartments above, one of which belongs to each member of the family. At the right of the hall is the dining-room, near enough to make its contribution to physical comfort and enjoyment at the proper time, but easily excluded when its inferior service is not required.'
"I don't understand that," said Jill.
"I do," said Jack. "It means that the meat that perisheth ought not to be set above the feast of reason and flow of soul; that the dining-room ought to be convenient but subordinate, not the most conspicuously elegant part of the establishment, unless we keep a boarding-house and reckon eating the chief end of man. Where do you say the library is?"
"Included in the drawing-room. Probably the corner marked 'Boudoir' contains a writing desk with more or less books and other literary appliances. It has a fireplace of its own and portières would give it complete seclusion."
"Where is the smoking-room?"
"I don't know. She didn't send the plans for the stable."
"How savage! Please go on with the letter."
"'The floors of the dining-room and hall are on the same level, but that of the drawing-room is one or two feet higher—'
"I don't like that at all. Should stumble forty times a day."
"'—which is typical of its higher social plane, makes a charming raised seat on the platform at the foot of the stairs, and gives a more picturesque effect than would be possible if all the rooms were on a par.'
"Can't help that. I shouldn't like it. I'd rather be a commonplace housekeeper."
"'The higher broad landing in the staircase, running quite across the hall, makes a sort of gallery with room for a few book-shelves, a lounging-seat in the window, a band of musicians on festival occasions, with perhaps a pretty view from the window.'
"If the landscape happens to fit the plan."
"'Under the lower portion, of the stairs there is a toilet room, and at the same end of the hall wide doors lead to the piazza. A long window also gives access to the same piazza from the drawing-room. In the second story the chambers have plenty of closets and dressing-rooms, and yet but few doors. Indeed, many of these may be omitted by using portières between each chamber and its dressing-room. You will notice, too, that by locking one door on each story the servants' quarters can be entirely detached from the rest of the house.'
"Yes," said Jill, laying down the letter; "and that suggests another question: What do you think of a plan like this which provides no passage from the kitchen to the front part of the house except across the dining-room?"
"I should refer the question back to the housekeepers themselves; it is domestic rather than architectural. If the kitchen servant attends to the door bell, and is constantly sailing back and forth between the cooking-stove and the front door like a Fulton Ferry boat, the amount of travel would justify a special highway—even a suspension bridge. Likewise, when the side entrance for the boys and other careless members of the family is behind the dining-room, that apartment will become a noisy thoroughfare, unless there is a corridor passing around it. This is a common dilemma in planning the average house, and while a direct communication between the front and rear portions is always desirable, crossing one of the principal rooms is often the least of two evils. It seems to be so in this plan."
"Go on, Jill."
"There is but one more sentence about the plan: 'The outside of the house is severely plain, but you can easily make it more ornamental.'"
"That's true. Nothing is easier than to make things ornamental. The hard thing is to make them simply useful. Now if you want my candid opinion of this plan," Jack continued, "I should say it is first-rate if the front door looks toward the east: if there is a grand view of rivers and mountains toward the southwest; if the family live on the west piazza all the forenoon; if they board a moderate family of servants in the north end (which I notice is a few steps lower than the dining-room—for social reasons, I suppose)—if they keep up rather a 'tony' style of living in the south end; are not above condescending to men of low estate to the extent of receiving common people in the big hall, but holding themselves about two steps above the average human; and, finally, if and provided the butler's pantry is made as large again for a smoking-room, and the kitchen pantry made large enough to hold the butler. With these few remarks, I think we may lay this set of plans on the table."

"

erhaps Jack will remember," said Jill, as she prepared to explain her
plans, "that we examined not long ago a large number of somewhat
pretentious houses, but did not find one that was satisfactory, the
defects being usually in what I should call the working department of
the house. The large front rooms were often exceedingly charming,
elegantly furnished and well arranged."
"For which reason," said Jack, "the family seemed to be religiously kept out of them unless they had on their company manners and their Sunday clothes, or wished to make themselves particularly miserable by having a wedding, a sewing society or an evening party."
"The rear boundary of the dining-room seemed like Mason and Dixon's line in the old times; once beyond it, we entered a region 'without law or ornament or order,' a realm of architectural incompetence, confusion and evil work—if it is fair to call the arrangements of the domestic part of a house an architectural matter."
"Certainly it is," Jack affirmed, "and it's my opinion that no architect ought to receive his diploma until he has served one year in a first-class family as cook, butler and maid-of-all-work."
"One would almost be inclined to think that such an experience, with another year at bridge building, had been with certain 'practical architects and builders' the entire course of study."
"It was plain enough," Jill continued, "that these houses were planned by men, who were not only ignorant of the details of housework but who held them in low esteem, as of no special importance. They evidently exhausted their room and their resources on what they are pleased to call the 'main' part of the house, leaving the kitchen and all its accessories to be fashioned out of the chips and fragments that remained. It would be a similar thing if a man should build a factory, fill it with machinery, furnish and equip the offices, warerooms and shipping docks, but leave no room for the engine that is to drive the whole or for the fuel that feeds the engine. When 'we women' practice domestic architecture, as we surely ought and shall,—"
"When it's fashionable."
"—we shall change all that. If there can be but two good rooms in a house it is better to have a kitchen and sitting-room than a dining-room and parlor. I propose to begin at the other end of the problem in planning our house. It may not suit anybody else, but if it suits Jack and I it will be a model home."
"That sentiment is a solid foundation to build upon," said the architect. "I wish it was more popular. Build to suit yourselves, not your neighbors."
"And now if you will walk into my kitchen, which is not up nor down a winding stair? but on the same level with the dining-room, you shall judge whether it can be made a stern reality or must always remain the ghostly wing of a castle in the air. The approach from outside is through the little entry at the farther corner, where 'the butcher, the baker, and the candlestick maker,' the grocer, the fish-man, the milk-man and the ice-man bring their offerings. The other entrance is by way of the lobby adjoining the main staircase hall. This lobby or 'garden entrance' is a sort of Mugby Junction, where we can take the cars for the cellar, for the second floor by the back stairs route, for the dining-room or for out of doors, and where we find refreshment in the way of a wash-basin and minor toilet conveniences. Under the main staircase there is also a large closet opening into this same lobby. My kitchen you see has windows at opposite sides, not only to admit plenty of light, for cleanliness is a child of light—"
"That's true," said Jack. "In a dark room it's hard to tell a dried blueberry from a dried—currant."
"Not only for light, but that the summer breezes may sweep through it when the windows are open, and, as far as possible, keep a river of fresh air rollings between the cooking range and the dining-room. It is long and narrow, that it may have ample wall space and yet keep the distance between the engine and machine shop, that is, the range with its appurtenances, and the packing-room—I mean the butler's pantry—as short as possible."
"I'm glad there's going to be a 'butler's pantry,' it sounds so stylish. I notice that among people who have accommodations for a 'butler' in their house plans, about one in a hundred keeps the genuine article. All the rest keep a waitress or a 'second girl.' Sometimes the cook, waitress, butler, chambermaid, valet and housekeeper are all combined in one tough and versatile handmaiden."
"Well, call it china closet, though it is really something more than that, or serving-room, or dining-room pantry—whatever you please. We shall keep two servants in the house, one of whom will wait on the table; consequently I do not want a door from this room-of-many-names to the kitchen. It is much easier to maintain the dignity and order that belong to our precious pottery, our blue and crackled ware, our fair and frail cut glass, if they are not exposed to frequent attacks from the kitchen side. There is, however, an ample sliding door or window in the partition, and a wide serving table before it, on which the cook will deposit the dinner as she takes it from the range. A part of the top of this table is of slate, and may be kept hot by steam or hot water from the range. With but one servant it would of course be necessary to make the route from the kitchen range to the dining-room table more direct."
"What if you had none?"
"If I had none, my kitchen, dining-room, store-room, china-closet, butler's pantry and all the blessed facilities for cooking, serving and removing the meals should be within a radius of ten feet. How any mortal woman with a soul above dress trimmings can be content to spend three hours in preparing meals to be eaten in thirty minutes passes my comprehension. When I 'do my own work,' as Aunt Jerusha says, there will be no extra steps, no extra dishes, no French cooking, no multiplying of 'courses.'"
"No cards, no cake, no style."
"Yes, indeed! The most distinguished and elegant style. Such style as is not possible except where all the household service is performed by the most devoted, the most thoughtful, the most intelligent, if I may say so—"
"Certainly the most intelligent, amiable, accomplished and altogether lovely member of the family. I agree to that."
"There will be no pretense of style—if that is what you mean, no vain endeavor to conceal poverty or ignorance, but a delightful Arcadian candor and simplicity that will leave the mistress of the house, who is also housekeeper, nurse, cook, dairymaid, butler, waitress, laundress, seamstress, governess and family physician, abundant time and strength for such other occupations and amusements as may be most congenial. It would be a delightful way of living, and I should not hesitate to try it if I felt certain that I had a soul above dress trimmings. I am not willing to be a household drudge, overwhelmed by the 'work that is never done;' therefore, to be on the safe side, we will keep two servants.
"The cooking range, whether of the portable or 'set' kind, will have a brick wall behind it and at each side, which, carried above, will form a sort of canopy to conduct into the chimney the superfluous heat in warm weather and the steam and smoke from cooking at all times. I suppose some housekeepers would object to separating the two pantries, but they have no common interests requiring close proximity. The kitchen pantry is a store-room and a kind of private laboratory, where the mysterious experiments are made that develop our taste for esthetic cooking and give us an experimental knowledge of dyspepsia. Its operations precede the work of the range to which it is a near neighbor, as it ought to be. It has also the merit of being in the cool northwest corner of the house, with small windows on two adjacent sides, which are better than a single window, for the air of a store-room or pantry cannot be changed too freely in warm weather.
"Do you see the closets at the end of this pantry? One is for ice, which is shoved in through a little door just above the sink where it is brought by the ice-man; the other is for a cold closet and is built in such a way as to get the full benefit of its cold-blooded neighbor. Don't forget, in making the plan, that the door through which the ice slides must be large enough to take in the largest cakes, and must be so arranged that after being washed at the sink they will slide easily without lifting or banging into their proper places inside."
"And let me suggest," said the architect, "that the waste-pipe that carries off the melted ice be allowed to run straight out of doors, without making the acquaintance of the sewer or any other drain-pipe."
"Please remember that then, as well as the door. The kitchen sink is at the west end of the room, between and under two windows, which must be at least three feet from the floor. It is near to the pantry door, to accommodate the dishes used in cooking; yet not so near that one cannot stand beside it without danger of being roasted or broiled; near to the cellar door, from whence come the Murphys and other vegetables to have their faces washed and their eyes put out. Of course there is a china sink in the china closet, to insure tender treatment for all the table ware, and I should like a sort of window or slide behind the sideboard opening through it. Sometimes it will be convenient for the waitress to arrange the articles to be used on the table within reach from the dining-room side, and save a special journey whenever a dish, or a spoon is changed."
"It strikes me," said Jack, "that when it comes to spoons you're drawing it pretty fine. I suppose these are modern improvements, but how much better will the dinners be than the dinners cooked in my kitchen? Two servants will do all the work for the same wages."
"Real labor-saving is a religious duty, like all other economy; and if we don't have better domestic service with better facilities for doing work the fault is our own."
"But I don't see that this kitchen is any better than mine."
"Of course you don't; you're a man; but for one thing, your china closet hasn't even a window of its own. How do you expect glasses to be made clean and silver bright in such a place? Now observe my plan: Not only is the kitchen light, but the entry where the ice comes in, the pantry where the food is prepared, the butler's pantry, the stairs to the cellar and to the second floor, and Mugby Junction, are all light. There isn't a dark corner on the premises, and consequently no excuse for uncleanness or accidents."
"Just think of the flies."
"Windows are easily darkened. But I am not quite ready to talk over these minor matters. The general plan is the first thing, and I think you will agree with me that it is well begun."
"According to Poor Richard, then, it is half done. So it's time for recess."
"Very well; way of change let us look at the plans of brother Ted's house in Kansas. Its situation is different from ours, as it stands on a high bluff in a bend of the Missouri, and the parlor looks over the water in three different directions, up and down and across the river. The piazza seems to be arranged to make the most of this situation, and Ted thinks it impossible to contrive a more charming arrangement for hall, parlor and dining-room. They use the parlor as a common sitting-room, and the hall still more commonly, especially in warm weather. Ted doesn't realize that half the charm of the house lies in its adaptation to the site."
"That ought to be the case with every country or suburban house."
"It certainly will not fit our lot, and it seems to me best suited for a summer home or for a warm climate."
Here Jack was called to his office, and Jill withdrew to attend to some household duties, first requesting the architect to redraw the plans so as to show accurately the construction and details.
"That is to say," said Jack, "while Jill makes a pudding for dinner and I write a business letter of three lines, you are to lay out in complete shape the plans for a house containing all the modern abominations and improvements, that will cost ten thousand dollars, occupy two years in building and last forever. That's a modest request."
"Not extravagant compared with the demands often made upon domestic architects, for it involves no downright contradictions. I am not asked to show how a house worth ten thousand dollars can be built for five, or to break the Golden Rule, or to change the multiplication table and the cardinal points of the compass."
he architect went home to translate the instructions he had received
into the language that builders understand. Jack and Jill established
themselves in the house that Jack built. The proposed amendments were
indefinitely postponed; Jill having consented to take the house
temporarily as she had taken Jack permanently—for better or
worse—only claiming her reserved right, in the case of the house, of
privately finding all the fault she pleased. Even the staircase, so
favorable to a swift descent, remained unchanged, and in their own room
the bed stood squarely in the middle of the floor. Jack averred that
this was intended when the house was planned, because the air is so
much better in the centre of a room, and there is not so much danger of
being struck by lightning.
One day there came a cold, gloomy rain on the wings of a raw east wind, and after Jack had gone to his office it occurred to Jill that a fire on the hearth in the parlor, which they used as a common sitting-room, would be exceedingly comfortable, but on removing a highly ornamental screen that served as a "fireboard," she found neither grate nor fireplace, only a blank wall plastered and papered. Her righteous wrath was kindled, not because she was compelled to get warm in some other way, but by the fraudulent character of the chimney-piece. "I can imagine nothing more absurdly impertinent," she declared to Jack when he came home, "than that huge marble mantel standing stupidly against the wall where there isn't even a chimney for a background. As a piece of furniture it is superfluous; as a wall decoration it is hideous; as a shelf it is preposterous; as a fireplace it is a downright lie. If our architect suggests anything of the kind he will be dismissed on the instant."
"Don't you think the room would look rather bare without a mantel? You know it's the most common thing in the world to have them like this. I can show you a hundred without going out of town."
"Common! It's worse than common; it is vulgar, it is atrocious, it is the sum of all villainies!" said Jill, her indignation rising with each succeeding epithet. "A fireplace is a sacred thing. To pretend to have one when you have not is like pretending to be pious when you know you are wicked; it is stealing the livery of a warm, gracious, kindly hospitality to serve you in making a cold, heartless pretense of welcome."
"I didn't mean to do anything wrong," Jack protested with exceeding meekness. "Such mantels were all the fashion when this house was built, and fashions in marble can't be changed as easily as fashions in paper flowers."
"There ought not to be 'fashions' in marble, but of course it was fashion. Nothing else than the blindest of all blind guides could have led people into anything so hopelessly silly and unprincipled. I shall never enjoy this room again," she continued, "knowing, as well I know, that yonder stately piece of sculpture is a whited sepulchre, a delusion and a snare. I shall feel that I ought to unmask it the moment a visitor comes in, lest I should be asked to make a fire on the hearth and be obliged to confess the depravity in our own household."
"Now, really, my dear, don't you think you are coming it rather strong, if I may be allowed the expression? Isn't it possible that your present views may be slightly tinged by the color of the east wind, so to speak?"
"Not in the least. You know perfectly well, Jack, that insincerity is the bane of domestic and social life; that hypocrisy is a child of the Evil One, and that vain and false pretensions are the fatal lures that lead us on to destruction. How can we respect ourselves or expect our friends to respect us if the most conspicuous thing in the house is a palpable fraud?"
"Very well, dear, I'll bring up a can of nitro-glycerine to-morrow and blow the whole establishment into the middle of futurity. Meanwhile, let us see if anything can be done to make it endurable a few hours longer."
Dropping on his knees in front of the fictitious fireplace, Jack pulled the paper from the wall, disclosing a sheet-iron stove-pipe receiver, set there for a time of need, and communicating in some mysterious way with a sooty smoke flue. Having found this, he telephoned to the stove store for a portable grate—that is to say, a Franklin stove with ornamental tiles in the face of it—and in less than an hour the room was radiant with the blaze of a hickory fire, while a hitherto unknown warmth came to the lifeless marble from its new neighbor. By sitting directly in front of it Jill discovered that in appearance the general effect was nearly as good as that of a genuine fireplace, the warmth diffused being decidedly greater.
"I'm sorry I lost my temper," said she, after they had sat a while in silence enjoying the ameliorating influence of the blaze, "but I do hate a humbug. We will let this stove stand here all summer to remind you that neither your house nor your wife is perfect, and to keep me warm when the east wind blows."
Jack's response to this magnanimous remark must be omitted, as it had no direct bearing upon house-building.
"When I went into the kitchen this morning to get warm," Jill observed later in the evening, "I found Bridget ironing; the stove was red-hot, the bath boiler was bubbling and shaking with the imprisoned steam, and the outside door was wide open. It struck me that there was heat enough going out of doors, not to mention the superheated air of the kitchen itself, to have made the whole house comfortable such days as this, if it could only be saved. Don't you think it would be possible to attach a pipe to some part of the cooking-range that would carry steam or hot water to the front of the house. We shouldn't want it when the furnace was running, nor in very warm weather, and at such times it could be turned off."
Steam Pipes Beside
The Fireplace.ToList
Jack thought it could be done, and expressed a willingness to be a roasted martyr occasionally if he could by that means make some use of the perennial fire in the kitchen, a fire that seemed to be the hottest when there was no demand for it.
"It's my conviction," said he, "that if the heat actually evolved from the fuel consumed by the average cook could be conserved on strictly scientific principles, it would warm the house comfortably the year round without any damage to the cooking, and with a saving of all the bother of stoves, fireplaces and furnaces." And his conviction was well founded, provided the house is not too large and the weather is not too cold. "Shall we try it in the new house?"
"No, not unless somebody invents a new patent low-pressure, automatic-cooking-range-warming-attachment before we are ready for it. We shall have fireplaces in every room—real ones—and steam radiators beside."
"What! in every room, those ugly, black, bronzy, oily, noisy, leaking, sizzling, snapping steam radiators that are always in the way and keep the air in the room so dry that everybody has catarrh, the doors won't latch, and the furniture falls to pieces? You know how the old heirloom mahogany chair collapsed under Madam Abigail at Mrs. Hunter's party—went to pieces in a twinkling like the one-horse shay—and all on account of the steam heat."
"Yes, I remember; it was a comical tragedy; and before we run any such risks let us look over our advisory letters. Here's one from Uncle Harry, who, as you know, is never without a hobby of some sort. Just at present he is devoted to sanitary questions. To be well warmed, ventilated and plumbed is the chief end of man. He begins by saying that 'sun's heat is the only external warmth that is natural or beneficial to human beings. When men have risen above the dark clouds of sin and ignorance they will discover how to preserve the extra warmth of the torrid zone and of the hot summers in our own latitudes to be evenly diffused through colder climes and seasons. Next to sun's heat is that which comes from visible combustion—the burning of wood and coal. Such spontaneous, radiant, living warmth differs essentially from that which we receive by contact with artificially-warmed substances, somewhat as fruit that has been long gathered differs from that taken directly from the vine.'"
"Isn't this getting sort of misty, what you might call 'transcendental like'?"
"Possibly, and this is still more so: 'Warmth is the vital atmosphere of life, and a living flame imparts to us some of nature's own mysterious vitality. Hence, the sun's rays and the blaze of burning fuel give not only a material but a spiritual comfort and cheer, which mere warm air is powerless to impart. Here is another reason why direct radiation, even from a black iron pipe, is preferable to a current of warm air brought from a distance: in a room warmed by such a current nothing is ever quite so warm as the air itself unless so situated as to obstruct its flow, but every solid substance near a hot stove or radiator absorbs the radiated heat and is satisfied, while the air for respiration remains at a comparatively low temperature.'"
"There may be a little sense in that," said Jack, "but the rest is several fathoms too deep for me. Has he any practical advice to give?"
"That depends upon what you call practical. 'I have little patience,' he says, 'with the common objection to direct radiation, that it brings no fresh air. Fresh air can be had for the asking under a small stove or radiator standing in a room as well as under a large stove or boiler standing in the cellar; neither does the dampness or dryness of the atmosphere depend primarily upon the mode of warming it, while, as for the appearance of steam pipes, if they are not beautiful as usually seen, it only proves that art is not wisely applied to iron work, and that architects have not learned the essential lesson that whatever gives added comfort to a house will, if rightly treated, enhance its beauty. Steam-pipes or radiators may stand under windows, behind an open screen or grill of polished brass, or they may be incorporated with the chimney piece, and need not, in either case, be unsightly or liable to work mischief upon the carpets or ceilings under them. Wherever placed, a flue to bring in fresh air should be provided and fitted with a damper to control the currents.'"
"I like the notion of putting them beside the fireplace," said Jack. "When they are both running, it would be like hitching a pair of horses before an ox-team or a steam engine attachment to an overshot water-wheel. It means business. Uncle Harry improves. What next?"
"He expounds his theories of light and shade, of plumbing, sewer-gas and malaria, and casually remarks that 'the variation of the north magnetic pole and the points of compass are not yet fully understood in their relation to human welfare.'"
"I should hope not! He must be writing under the influence of a full moon. Let us try a fresh correspondent."
"Very well. Here is Aunt Melville's latest, with a new set of plans. There will be neither trancendentalism nor vain repetitions here:
"'My Dear Niece: Since writing you last I have had a most interesting experience, and hasten to give you the benefit of it. You remember Mr. Melville's niece married a young attorney in Tumbledonville; very talented and of good family, but poor, desperately poor. He hadn't over two or three thousand dollars in the world, but he has built a marvelous little house, of which I send you the plans. You enter a lovely hall, positively larger than, mine, an actual room in fact, with a staircase running up at one side and a charming fireplace at the right, built, if you will believe it, of common red bricks that cost only five dollars a thousand. It couldn't have taken over two hundred and fifty to build it.—'
"Just think of that! A charming fireplace for a dollar and a quarter!—"
"Communicating with the hall by a wide door beautifully draped with some astonishingly cheap material is the parlor, fully equal in every respect to my library, and adjoining that the dining-room, nearly as large. On the same side is a green-house between two bay windows, the whole arrangement having a wonderful air of gentility and culture. I am convinced that you ought to invest three-fourths of your father's wedding present in some safe business, and with the remainder build a house like this, buying a small lot for it, and defer the larger house for a few years. Keeping house alone with Jack and perhaps one maid-of-all-work will be perfectly respectable and dignified; the experience will do you good, and I have no doubt you will enjoy it. It will not only be a great economy in a pecuniary way, but society is very exacting, and a large house entails heavy social burdens which you will escape while living in a cottage. This will give you plenty of time to improve your taste in art, which is indispensable at present. There will be great economy, too, in the matter of furniture. A large house must be furnished according to prevailing fashions, but in a small one you may indulge any unconventional, artistic fancy you please.'"
"If Aunt Melville's advice and plans could be applied where they are needed they would be extremely valuable. Suppose we found a society and present them to it for gratuitous distribution."
"We can't spare them yet; we shall not use them, but it is well to hear all sides of a question."
"

ow the wind does blow!" said Jill, as she laid aside Aunt Melville's
latest, and Jack laid another log into the open stove. "It is a genuine
'gale from the northeast.'"
"So it is, and that reminds me," Jack exclaimed, jumping up, "that a driving rain from the northeast always gets the better of the attic window over the guest-room. There's something mysterious about that window," he explained. "It opens like a door; I believe they call it a 'casement' window, and in such a storm as this I have to keep sopping up the water that blows in. I had a carpenter look at it, but he said it couldn't be fixed without making a new one or fastening it up so it couldn't be opened at all. We don't have a northeast rain-storm very often, and that's the only window that ever leaks—except the skylight and the round one in the west gable which is hung at the top to swing inward and couldn't be expected to hold water."
Jill found some towels, and they hurried to the attic to "sop up" the rain that was driving under the sash and had already made its mark on the ceiling below. Then they examined the skylight and the round window, and just as they were about to descend perceived a smell of burning wood. Jack rushed down to the sitting-room, telling Jill to fly for a pail of water, found the wall beside the stove-pipe very hot, ran for an axe, and, smashing a hole through the lath and plastering, discovered a bit of wood furring to which the laths had been nailed resting directly against the sheet iron pipe. Catching the pail of water which Jill was about to pour into the stove, he cooled the hot pipe and extinguished the wood about to burst into flame, the smoke of which, rising beside the chimney to the attic, had warned them of the danger below. He then cut away around the pipe till the solid brick chimney was exposed, gathered up the rubbish, piling the chips upon the fire in the stove, and lay back in his chair, evidently enjoying the situation.
"How can you be so reckless, Jack, as to keep a fire in such a chimney?"
"The chimneys are all right, my dear. I took special pains with them when the house was built. The only danger there ever was lay in that little piece of inch board that happened to be too near the pipe."
"And how are we to know what other little pieces of board may be too near? I think it's a very dangerous house to live in. If we hadn't gone up to the attic when we did it would have been all in flames."
"And we shouldn't have gone to the attic at all if my windows had been proof against the east wind."
"No, nor would you have known we were having a gale from the northeast if I hadn't quoted the 'Wreck of the Hesperus.'"
"Consequently we owe our preservation to the well-beloved poet."
"Moral: Study the poets."
"Moral number two: Build leaky casements."
"Number three: When the wood around a chimney takes fire it doesn't prove a 'defective flue.'"
"Number four: A small fault hidden is more dangerous than a large one in sight."
"Very true; and if modern builders had kept to the poet's standard, and, like those in the elder days of art,
'wrought with greatest care,we should not be trembling before a black and ragged chasm in the wall, afraid to go to bed lest the fire should break out anew and burn us in our sleep."
"There's not the least danger. We are as safe as a barrel of gunpowder in a mill pond. There is nothing to set us on fire. That bit of dry wood was the key to the whole situation. We have captured that and can make our own terms. Still, if you feel nervous we will sit up and 'talk house' till the fire goes out."
Jill acceded to this proposal and began to discourse, taking moral number four for a text.
"I wish it were possible," said she, "to build a house with everything in plain sight, the chimneys, the hot-air pipes from the furnace, if there are any, the steam pipes, the ventilators, the gas pipes, the water pipes, the speaking tubes, the cranks and wires for the bells—whatever really belongs to the building. They might all be decorated if that would make them more interesting, but even if they were quite unadorned they ought not to be ugly. If we could see them we shouldn't feel that we are surrounded by hidden mysteries liable at any time to explode or break loose upon us unawares. Those things that get out of order easily ought surely to be accessible. I don't believe there would have been half the trouble with plumbing, either in the way of danger to health or from dishonest and ignorant work, if it had not been the custom to keep it as much as possible out of sight. There is a great satisfaction, too, in knowing that everything is genuine."
"We might build a log house. The logs are solid, and the chimney, if there happens to be one, won't pretend to be of the same material as the walls of the building."
"I like better the notion of letting the material of which brick walls and partitions are composed form the actual finish inside as well as outside. The floors, too, should be bare, and the beams that support them ought to be visible, and in case of a wooden house, the posts, braces and other timbers should be left in sight when the building is finished. It is a sad pity that modern modes of building, like modern manners and fashions, conceal actual construction and character, making a mask that may hide great excellence or absolute worthlessness."
"Won't all these pipes, wooden beams, bell ropes and things be fearfully dusty and cumber the housekeeper with too much serving? I supposed you would vote for smooth, flat, hard wood and painted walls, they are so much easier to keep clean."
"Perhaps I shall; but we must remember the gnat and the camel and try to be consistent. A single portière, especially if it be of the rag-carpet style, has a greater dust-collecting capacity than a whole houseful of wooden floors, ceilings and wainscots, even when they are moulded and ornamentally wrought. Surely they will not be troublesome if they are plain and simple, and only think how much more interesting than flat square walls and ceilings, which we feel compelled to cover with some sort of decoration to make them endurable. I suppose architects have outgrown the sheet-iron and stucco style of building, and do not generally approve of 'graining' honest pine in imitation of coarse-grained chestnut. But these are not the only concealments and disguises that ought to be reformed. If we cannot make our house a model in any other respect, I hope it will be free from hypocrisy and silly affectations."
"By all means; but you mustn't forget that reformers risk martyrdom. However, you can't be too honest for me; I am ready to sign any pledge you offer, even though it prohibit paint, putty and all other cloaks for poverty, ignorance and dishonesty."
"There's a time and place for paint and putty, lath, plaster and paper, but we ought not to be helplessly dependent upon them."
"Have you any idea how the house will look outside," asked Jack, giving the fire a poke, "or is that to be left to take care of itself?"
"No, indeed! not left to take care of itself. In that part of the undertaking we are bound to believe that the architect is wiser than we, and must accept in all humility what he decrees. Still I think the law of domestic architecture at least should be 'from within out.' For the sake of the external appearance it ought not to be necessary to make the rooms higher or lower than we want them for use, neither larger nor more irregular in shape. It ought not to be necessary to build crooked chimneys for the sake of a dignified standing on the roof, or to make a pretense of a window where none is needed. The windows are for you and me to look out from and to let in the sunlight, not for the benefit of outside observers, and should be treated accordingly. We will not have big posts—mullions, do you call them?—in the middle of them, as there are in these. When I try to look down the street to see if you are coming home I can scarcely see obliquely to the corner of the lot, and we don't get half as much sunshine as we should if the windows were all in one."
"Why not, if there's the same amount of glass?"
"Because the sun can't shine around a corner; and Jack, why did you set them so near the floor? There's no chance for a seat under them, and they do not give as much light or ventilation as they would if they ran nearly up to the ceiling."
"What is the use of making them long at the top? They are always half covered up with lambrequins or some fanciful contrivance."
"Indeed, they will not be; our windows will be arranged to be wholly uncovered whenever we need the light. Too many windows are not so unmanageable as too many doors, and I should like one room with a whole broadside of glass; but for most rooms the fewer windows the better, provided they are broad and high. I despise a room in which you can't sit down without being in front of a window or walk around without running against a door, that has no large wall spaces for pictures and no room for a piano, a book-case, a cabinet or a large lounge. A small room, that has doors or windows on all sides does not seem like a room intended for permanent occupation, but rather as a sort of outer court or vestibule belonging to something farther on."
"I suppose the architect will claim the porches, balconies, and things of that sort, as belonging to the exterior, and design them as he pleases; but I think we have a right to insist that they shall add to our comfort. They must be large enough to be used, they must be put where we can use them conveniently, and they must not interfere with the interior arrangements; beyond that we shall accept what the architect sets before us."
"'Asking no questions for conscience sake.' How about the roof—is that also a matter of evolution?"
"No; because the inside of the roof is of but little consequence. It must keep out the rain and wind, snow and ice; it must be strong and economically built and have a reasonable amount of light. The rest we shall leave to the architect. As Uncle Harry observes, 'the material part of the house rests upon the foundation stones; its spiritual character is displayed chiefly in the roof, which may change to an unlimited extent the expression of the building it covers.'"
"That's so. Let me make the roofs for a people and I care not who builds the houses. The roof on the house is like the hat on the man, as I can show you," said Jack, taking a piece of charcoal from the stove and drawing on the back of the fireboard some astonishing illustrations of his theory.
"Here is the president of a big corporation who must be dignified whether he has a soul or not. He represents the 'renaissance.' No nonsense about him, no sentiment, no sympathy, no anything but—himself and his own magnificence."
"This fellow is a brakeman—prompt, efficient, laconic. Same head, you see, but different hat. He stands for the hipped roof which has one duty to do and does it."
"Give the dignified president a smashing blow on the head and you see what he may become after an unsuccessful defalcation—an unfortunate tramp, who has 'seen better days.' He is a capital illustration of the roofs called 'French,' that were so imposing a few years ago, and are about as agreeable in the way of landscape decoration as the tramp himself, but not half so picturesque.
"Pull the string again and we have a benevolent 'broad-brim,' stiff, symmetrical and proper to the last degree, like an Italian villa; and, once more changing the straight lines to crooked ones, the conventional formalist becomes the unconventional, free-and-easy South-westerner, who may stand for Swiss or any other go-as-you-please style."
"It is midnight and the fire is out; let's adjourn."


he next demonstration from the architect was a pencil drawing of the
floor plans, submitted for inspection and criticism. Concerning these
he wrote to Jill's entire satisfaction. "From many of my clients I
should expect the first question would be, 'Will a house built in this
shape look well outside?' It is not necessary to remind you that at
this stage of the proceedings such an inquiry is wholly irrelevant. The
interior arrangements should be made without a thought of the exterior
effect, precisely as if the house were to wear the ring of Gyges and be
forever invisible to outsiders. There are several points, however, on
which I await further instructions——"
"What's the use of having an architect," Jack inquired, "if you've got to keep instructing him all the time?"
——"provided you wish to give instructions," Jill continued reading. "There is often a misunderstanding between architect and client, and I wish to avoid it in the present case by saying at the outset that while there are many things which, in my opinion, should be referred to you, I am ready to decide them for you if you wish me to do so; but even in such cases I prefer to set before you the arguments pro and con, after which, if you still desire it, I shall accept the arbitration. This is not a rule that works both ways or applies universally, for while referring to you matters relating to use and expenditure, and at the same time standing ready to decide them for you, I cannot promise to accept your advice in matters of construction and design. I trust I have not yet reached the fossiliferous state of mind that prevents my listening with sincere respect to candid suggestions, even from those who are not fairly competent to give advice; but on these points you must not expect me to follow your taste and judgment in opposition to my own, even if you do pay the bills. When your physician prescribes arsenic and you inform him that you shall give it to your poodle and take strychnine instead, he will doubtless infer that his services are no longer desired; he will know that while he might be able to kill you, he could not hope to cure you. Patients have rights that physicians are bound to respect, but the right to commit suicide and ruin the physician's reputation is not among them. The relations of client and architect are similar.
"This is one of the questions which I refer to you, but will answer for you if you send it back: How shall the eyes of the house be closed? Shall the eyelids be outside blinds, inside folding shutters, 'Queen Anne' rolling blinds, sliding blinds or Venetian shades? There are good reasons for and against each kind; either, if adopted, compels some compromise. Whichever road you take you will wish you had taken the other.
"For instance, in hot weather outside blinds that shield the glass from the direct rays of the sun keep the rooms cooler than any form of inside shutters; they allow a gradation of light and a free circulation of air. You can even leave the window open during a summer shower without danger of being drenched. Last but not least they are inexpensive. The wrong side of the outside blinds appears when you wish to make wide windows, or mullioned windows, or windows that cannot command at each side an unobstructed wall space equal to at least half their own width for the blinds to rest against when open. Under such circumstances, which are by no means rare, outside blinds are stubbornly unmanageable.
"Inside blinds that fold back and swing away from the windows must have wide recessed jambs to hold them when they are not in use. If the windows are broad these 'pockets' will require a thick wall and thus increase the actual size of the house. A little space may be saved by allowing them to stand out obliquely when open, or turn around upon the inside face of the wall, but either mode increases the cost of finishing the rooms. If these blinds are made of open slats, many housekeepers despise them as being no better than small cabinets maliciously contrived to accumulate dust; if of solid panels, they make a room perfectly dark, or when opened ever so slightly admit unbroken rays of sunlight. On the other hand, inside blinds are accessible; they can be opened and closed without leaning half one's length out of the window; they do not hide the glory of plate glass; they graciously permit windows to stand where they please and to be as large as they please; and they never quarrel with piazza roofs, awnings, hoods or other outside accessories.
"Shutters that coil up into a box over the window or down into a box below it have the modest excellence of being always out of the way when they are not wanted, of staying where they are put when partially open, of occupying but little space and never standing in the way of the window curtains. They are, in fact, wooden shades similar to the old-fashioned green slat curtains, that were rolled up by drawing a cord, but are far more substantial. The single slats of which they are composed do not revolve, and consequently it is not easy to 'peep through the blind just to hear the band play.'
"Venetian shades, with their multiplicity of bright-colored straps, cords, hooks and trimmings, are picturesque and graceful. They are somewhat subject to dust and repairs, and when the window is open are not proof against tornadoes and thunder showers.
"Inside blinds are sometimes contrived to slide sideways, like barn doors, into cavities formed to receive them. If built with extreme care and handled with the utmost tenderness they are a degree less obtrusive than when wholly dependent on hinges. Likewise, outside blinds may be contrived to swing horizontally as well as vertically, standing out from the top of the window like a small shed roof. They are not quite wide enough to serve as awnings, and are liable to catch more wind than they can hold."
"It strikes me that the whole thing is a 'blind.' What is he driving at?"
"The conclusion of the matter seems to be given in this sentence: 'You will perceive, therefore, that a decision in regard to blinds should be made even before the house is staked out, since the size of the foundation itself may be affected by it, as well as the minor details.'"
"I'm ready for the question; are you?"
"Yes. In the bay windows and for the long windows that give access to the balconies and piazzas we will have blinds that roll up out of the way. A few of the windows on the sunny side will have for summer use outside blinds, a few more will have cloth awnings. The most of the windows will have no blinds at all, only such shades and curtains as we choose to furnish. I don't think the eyes of a house ought to be closed much of the time. It is certainty absurd to hang blinds at all the windows when we only need them at a few."
"Oh, but won't the neighbors rage and imagine vain things when they see a house with here and there a blind and here and there an awning?"
"The wise ones will approve; the foolish ones will demonstrate their folly by criticising what they don't understand."
"Very well, that point is settled. Unless the next is sharp and short you must decide it without my help. It is high time I was at the office."
"We will defer them all. It is time for me to be at my household duties. You know Cousin Bessie comes this afternoon, and I've noticed that extremely intellectual people are sometimes extremely fond of a good dinner."
"If Bessie is coming I must anoint my beard with oil of sunflowers and trot out my old gold slippers. Shall I send up some pale lilies for dessert? And that reminds me—Jim came home last night and I asked the old fellow to come up to dinner. How do you suppose Bess found it out?"
"Don't be spiteful, Jack. She didn't find it out at all. I invited her a week ago. Now go to the office, please, while I put the house in order."
During this important process Jill entertained herself by philosophical reflection upon the style of living that requires a house to be constantly "put in order." She recalled certain of Uncle Harry's observations to the effect that in a truly civilized state housekeeping would be so conducted and houses would be so contrived that instead of causing care and labor proverbially endless, housekeepers would no more be burdened by their domestic duties than are the fowls of the air. Jill had too much of the rare good sense, incorrectly called "common," to attempt to reduce Uncle Harry's theories to practice all at once. She knew that though we may not reach the summit of our ambition, it is well to advance toward it even by a single step, or failing in that, to help prepare a way for some one else. She understood the wisdom of striving to increase the fraction of life by dividing the denominator, and at the same time cherished the broader hope that her life and her home might be filled with whatever is of most enduring worth.
Moralizing thus, but always with an architectural or house-building background, she continued her work, noticing the sharp grooves and projecting mouldings that caught the dust, the high, ugly thresholds, the doors that swung the wrong way, compelling half a dozen extra steps in passing through them; shelves that were too high or too narrow; drawers that refused to "draw" or dropped helplessly on the floor as soon as they were drawn out far enough to display the spoons and spices they contained; window stools that came down behind tables and shelves, forming a sort of receptacle for lost articles belonging to the kitchen or pantry—all of which she resolved should not be repeated. When Bessie arrived the house was in that most perfect order which gives no sign of unusual preparation.
"This is too perfectly lovely for anything," exclaimed Bessie. "I just dote on domestic duties. You can't help being overpoweringly happy, Jill, with such a home and such a husband. Then only to think of the new house drives me completely frantic. What will it be like? Are the plans made? Oh! I do hope not, for I have a million of things to tell you about that are totally unspeakable."
"Then you are just in time. We had a long letter from the architect this morning asking for instructions on various matters."
"How perfectly fascinating! Let's sit down this minute and begin upon them."
But Jill preferred waiting till Jack came home, bringing with him his younger brother, just home for summer vacation.
"It isn't necessary to announce dinner," said she. "The preliminary odors have already advertised it through the entire house."
"I thought these observations were to be strictly confidential," observed Jack.
"That wasn't 'finding fault.' It was a mere casual remark. Some people may think it pleasanter to be summoned by the odor of broiling fish than by the noise of a dinner-bell."
"Indeed I do," said Bessie, taking Jack's proffered arm. "Odors are too delicious for anything. They are so refined and spiritual I'm sure I could live on them. I would far prefer the fragrance of a dish of strawberries to the fruit itself."
"We shall get along capitally then. You can smell of the berries and I'll eat them afterwards. You see now, Jill, the advantage of having a house built like this. Cousin Bessie proposes that we live on the fragrance of the food. It won't be necessary even to come to the dining-room. We can all stay in the parlor or in our chambers and absorb sustenance from the circumambient air, as the sprightly goldfish gathers honey from the inside of a glass ball."
"Please don't make fun of me, Cousin Jack, for I do truly revel in fragrance, and I'm sure your house is beautifully planned. Don't you think so, Mr. James?"
"I realty don't know much about such things. I never did like to know what I was going to have for dinner long beforehand—it makes me so awfully hungry."
"Precisely so, Jim; it gives you am appetite. I had the house planned in this way for that very purpose."
"Now that you have introduced the subject," said Jill, "I will tell you how I should have planned it. There should have been a 'cut-off' somewhere—a little lobby between the kitchen and the rest of the house, with a ventilating flue so large that neither smoke nor steam nor perfumed air could pass it without being caught up and carried to the sky. Of course these odors ought not to get away from the ventilator above the range, but the best contrivances are not proof against the carelessness of the cook when she is in a hurry—as she always is just before dinner."
When they returned to the sitting-room Bessie brought down a set of plans her father had sent for Jack and Jill to examine, thinking they would suit their lot and taste. They did suit the lot fairly, but Jill's mind was too fully made up to accept any change from her own plan. The exterior she approved cordially, but to Bessie's despair would not promise to imitate it, preferring to leave the outside to her architect without reserve.
While they were spoiling their eyes in the twilight Jack pressed the electric "button" that lighted the gas instantaneously all over the house, causing Bessie to cry out in protest against such a sudden transition. "It is so violent, so unlike the slow, sweet processes of nature. I never shall learn to like gas, and the electric light is absolutely horrid. Don't you love tapers, Mr. James?"
"Tapirs? I don't think I'm a judge; I never had one. I should rather have a tame zebra."
"Oh, I mean tapers for light!"
"Excuse me—certainly: yes, that is, I think I do. We don't use them very often. Do you mean tallow or wax?"
"Wax, of course! They have such elegant decorations on them. I had a most exquisite sconce Christmas, with two of the loveliest tapers completely covered with Moorish arabesques in crimson and old gold."
"What becomes of the decorations when the tapers burn up?"
"Well, we don't burn them much. Indeed, I don't think we ought to use artificial light at all. The mysterious light of the moon and stars is so much more enchanting. Don't you love to muse and dream in the fading twilight?"
"No, not very well. The trouble is if I get to sleep before I go to bed I don't sleep as well afterward."
"Oh, I don't mean actual dreams, but vague, dreamy musings, esthetic aspirations and longings. Do you never long for abstract beauty?"
"Well, no, not long. If I can't get what I want pretty quick I generally go for something else."
This irrelevant conversation was vastly entertaining to Jack, who, knowing how unlike were the dispositions of his brother and his wife's cousin, had contrived their meeting with special reference to his own amusement. When the clock told the hour for retiring he brought Bessie a tin candlestick, in which a tallow candle smoked and spluttered in a feeble way, but filled the soul of the young lady with admiration, it was so "full of feeling."
"Life is so much richer when our environment is illuminated and glorified—"
"By tapers," said Jack as he bade her an affectionate good-night.
"
e must devote this evening exclusively to the new house," said Jill,
as Jack started for his office. "The architect is waiting for
instructions, and every day we lose now will give us another day of
vexation and impatience when we are waiting for the house to be
finished."
"That's true, and it's a chronological fact that house-builders often forget. Very well, I'll come home early. Will Bessie be here?"
"Certainly. She has come for a long visit."
"Then I shall bring up Jim again. One-half Bess says he can't understand, and he doesn't approve of the other half; but we couldn't keep him away if we tried. So we'll invite him to come. It's great fun to hear Bessie's comments and witness Jim's helplessness."
"If you are going to devote yourself to Jim and Bessie," said Jill severely, "I may as well answer these questions without consulting you at all."
"Oh, pray don't do that. Give me a chance to express my opinions. Some of them are strikingly bold and original. Besides, you will need me to conduct the meeting."
It happened, accidentally of course, that Bessie's evening dress was of a color that looked well by gaslight, and no objection was made to the unnatural illumination.
Jill took up the architect's letter, where she had left it, at the conclusion of the blind question. "Another point that was mentioned when I was at your father's house must be decided soon: Shall there be gutters to catch the water from the roof, with pipes of some sort to convey it to the ground, or shall it be left to take care of itself? If there are none, the ground around the house should pitch sharply away from the walls and a slight depression should be formed, into which the water would fall. This shallow ditch should be perhaps two feet wide, as the drops will not always come down in straight lines. It may be paved with small stones or bricks, between which the grass will grow, or it maybe more carefully lined with asphalt paving. If it is desired to conduct the water to a certain point, this drain can descend slightly toward it, and, if the lawn will not be injured by an occasional inundation, even the shallow ditch may be omitted, making merely a one-sided slope, hardened to prevent the water from wearing a ragged, unsightly channel around the house. The advantages of disposing of the water in this way, dispensing with the gutters, are its economy and its permanence. Whatever the material may be of which they are made, gutters attached to the eaves or roof cause more or less trouble and expense from the time they are put in place till the house is given up to the owls and the bats. They are liable to be corroded by rust, to be clogged with leaves and dust, to be choked with ice, or to become loosened from their fastenings. If used at all, they should be frankly acknowledged. This is not, however, a point on which I am in need of instructions, but would remind you that one of the interesting illustrations of the happy skill of the old masters in making a virtue of necessity is found in the effective treatment of the waterspouts and conductors. They made them bold, quaint and picturesque in appearance, far removed from the tin contrivances that we hang in frail awkwardness to our roofs."
"How perfectly delightful!" exclaimed Bessie. "Those horribly grotesque old gargoyles are just glorious. Don't you delight in the antique, Mr. James, when it isn't too horrible?"
"Yes, they are awfully jolly. We had a great time with them last 'Fourth.' I got myself up as a pirate king—black flag, skull and cross-bones, you know. It was awfully jolly."
"I never saw any of that kind, but you will have some gargoyles, won't you, Jill?"
"Possibly, for the architect says' whether you have gutters entirely around the house or not; it will doubtless be necessary to catch the water that would fall upon the steps or balconies in short eave-troughs, and as they are certain to be conspicuous they should be respectfully treated. As they add to the comfort of the house they should also add to its beauty.' Now what shall be said on this subject? His opinion appears to be that if we do not need to save the water for use, and if it will do no harm upon the ground around the house, it will be best to omit them except where protection is needed for something below. He sends some sketches and says 'they represent a few of the methods by which the water may be caught and carried to the ground. Number two and number three will prevent the sliding of the snow from the roof, which is sometimes desirable, but not always. Gutters made in this form should be so near the eaves that in case of accidental injury the water could not find its way inside the main walls. Number five has the advantage of leaving the house uninjured whatever happens to the gutter itself. It may leak through its entire length or run over on both sides without doing other harm than wasting the water.' I don't see," said Jill, laying down the letter, "how we can give instructions without dictating in matters of 'construction and design,' concerning which the architect distinctly objects to advice."

"Tell him we don't care what becomes of the water and the lawn will take care of itself. Then 'instruct' him to exercise his own discretion. That's what he is for. What next?"
"He would like to know our wishes in regard to fireplaces."
"I thought the heating question had been decided once according to Uncle Harry's doctrines."
"Not fully. We shall have both steam and open fires; the architect understands that, but he doesn't know how many fireplaces nor what kind. We can tell him how many easily enough: one in each room of the first story except the kitchen, but including the hall, and one in each of the bed-rooms."
"Including the guest chambers?"
"By all means. There is nothing that makes one feel so thoroughly welcome, so delightfully at home as a room with an open fire. Mahogany four-posters, velvet carpets and sumptuous fare are trivial compliments in comparison. Concerning the style and cost he says: 'Of designs there is an endless variety, and there is a wide range in cost, from the simple recess in the side of a plain brick chimney'—"
"One of the kind that Aunt Melville builds for a dollar and a quarter."
"'—to the elaborate affairs that cost as much as a comfortable cottage. It would be idle for me to attempt to give you a full description of them all—my letter would appear like a manufacturer's catalogue. Indeed, you can find whole books on the subject, large books too, which it will be interesting and profitable for you to study; but first it is necessary to lay out the chimneys to accommodate the sizes and styles to be chosen. You will easily understand that a grate for burning coal alone, especially hard coal, may be much smaller than a fireplace to hold hickory logs that it takes two men to carry; but the heat of anthracite coal would soon destroy the lining of a fireplace adapted to an ordinary fire of wood. It cannot be necessary to remind you that the best open fireplaces, whether for wood or coal, are those which, instead of sending three-fourths of the heat up the chimney flue, give it out from all sides, to be saved either directly or by being conveyed to an adjoining or upper room. It is also possible to make a fireplace that will accommodate either wood or coal, but like all compromises this is attended with certain disadvantages. If large enough for wood it is too large for hard coal. The smoke flue for a coal fire may also be smaller, the hotter fire causing the stronger draught. Coal ashes, too, ought to be dropped through the hearth into ash pits below, even from the fires of the upper rooms. To "take up the ashes" of a wood fire is not so troublesome. These are some of the reasons why it is necessary to determine the kind and number of your fireplaces before the plans of the chimneys are drawn.'"
"Why not make an appropriation of fifty dollars apiece for each grate, mantel and hearth, and have him do the best he can with it?"
"We can fix that as an average price, but shall want some better than others, and must mark in each room whether we wish to provide for wood, for coal, or for both. That is, whether we want 'set' grates or open fireplaces with andirons or something of that kind."
"Oh, do have andirons. Please have andirons," said Bessie. "You know you can go out into the country and buy them for old brass of the farmers who haven't the remotest idea of their value. They keep them up in those dear old musty garrets covered with dust and spider webs."
"Certainly, we will have a few andirons and several spinning-wheels and moony clocks and solid old carved oak chests that for generations have been full of moths and food for worms. I never happened to come across one of those old bonanza garrets, but I suppose there are plenty of them lying around and just running over with these antique treasures. Jim, can't I hire you to go out among the unesthetic heathens and buy up a few loads of heirlooms and other relics of former greatness? We shall want some old associations in the new house, and if we haven't any of our own we must buy some."
"I don't think I know much about such things. Why don't you go to a furniture store and get what you want first-hand? Second-hand furniture always looks shabby and out of date. However, if Miss Bessie could go with me to pick out things, I wouldn't mind taking a drive into the country to see what we could find."
"Now, really, wouldn't you mind it? How enchanting! It will be delightful to be associated with the new house. I know we shall find some lovely things."
"All right. You shall have Bob and the express wagon to-morrow. What next, Jill?"
"'I should be glad to know your feeling in regard to height of rooms, but shall not promise fully to agree with you. My purpose is to make the principal rooms of the first story ten and a-half or eleven feet high.'"
"Oh, how dreadful! I don't know how high eleven feet is, but I'm sure they ought not to be more than seven feet."
"I thought you were going to say not less than fourteen," said Jim.
"Oh, no, indeed! Low rooms are so deliciously quaint and cosy."
"But I should be all the time expecting to hit my head."
"You wouldn't think of that for a moment if you could only feel the influence of Kitty Kane's library. It is a copy of an old English bar-room, or something of that sort, I don't exactly remember what, but it is in the Queen Anne style, and it's too lovely for anything. Please have low rooms, Jill."
Jill continued reading: "For rooms of ordinary sizes and devoted to ordinary domestic purposes, that is high enough for use, for comfort and for any reasonable amount of decoration, either upon the walls themselves or in the shape of pictures or other ornaments. You will certainly think it enough when you are climbing the stairs to the rooms of the second story. It may be practicable to reduce the height of some of the smaller apartments, but it is usually much more convenient to keep the ceilings of the main rooms of uniform height, even if this does upset the 'correct proportion' which critics attempt in vain to establish. To make ceilings very low seems an affectation of humility or of antiquity not justified by common sense. In the polar regions, where the sun never reaches an altitude above twenty-three degrees, low rooms and short windows would be entirely satisfactory. In the torrid zone, where it is not safe to build more than one story for fear of earthquakes and tornadoes, where chambers would be useless, and where the grand question is not how to keep warm but how to keep cool, the higher the better. For houses in the temperate zones the medium height is the safest, the best—and the most artistic. If any one dares to say it is not, ask him to tell you the reason why."
"How perfectly exasperating," said Bessie in a tragic aside to Jim. "No one ought to try to give reasons in art, in religion or in politics. Intuitions are so much more satisfactory. Don't you always rely on your intuitions, Mr. James?"
"Perhaps I should if I had them, but somehow I—I never seem to have any."
"The meeting appears to be divided," said Jack. "Bessie says seven, Jim says fourteen. Suppose we split the difference and call it ten and a half."
"That is, we advise the architect to do as he pleases, then he will be sure to follow our advice."
"

plitting the difference" is a convenient compromise, but it is not
always creditable to both parties, and Jill thought it would not be
safe with such advisers to assume that Wisdom's house is always built
between two extremes. She felt, too, that the architect's discussion of
details must be tiresome to her guests, and therefore resolved to take
up but one more of his queries, spending the remainder of the evening
in looking over plans and letters, of which she had an ample store
still unexplored, or in listening to Bessie's ardent description of the
treasures she hoped to find in the lofty recesses of the old garrets.
"I fear the next topic will not be deeply interesting, but it is the last one to-night, and Jack must give me his undivided attention if he wishes to know what we are to stand upon in the new house."
"Is it about floors?" Bessie asked. "Do please have waxed floors. I dote on waxed floors, don't you, Mr. James?"
"Not especially; but I'm pretty apt to slip on them. Is it about floors, Jill?"
"Yes, but chiefly about the best way to build them—their construction."
"I thought the architect was to settle questions of construction to suit himself."
"He is, and this topic he writes 'concerns construction, cost, use and design, and is, therefore, one on which we may properly take counsel together.'"
"How condescending!"
"I suppose you would object to iron girders with brick arches between them on account of their cost, but I hope to see rolled iron beams for brick dwelling-houses so cheaply made that they will be commonly used instead of wood. Such iron ribs, with the brick arches or other masonry between them, might well form the finish of the ceilings, and if we were accustomed to see them, our frail lath and plaster would seem stale, flat and combustible in comparison. The usual mode of making floors of thin joists set edgewise, from one to two feet apart, with one or two thicknesses of inch boards on the top to walk upon, and lathing underneath to hold the plastering, is perhaps the most economical use of materials. A more satisfactory construction would be to use larger beams two or three times as far apart, laying thicker planks upon them and dispensing with plastering altogether, or perhaps applying it between the timbers directly to the under-side of the planks, leaving the beams themselves in sight. If the floor is double the planks or boards lying directly upon the joists may be of common, coarse stock, hemlock or spruce, upon which must be laid another thickness of finished boards. It is for you to say whether the finished upper floor shall be of common, cheap stock, to be always covered by carpets, or of some harder wood carefully polished and not concealed at all, except by occasional rugs.'"
"Oh, I do hope she will have rugs!" Bessie's remarks were semi-asides addressed chiefly to Jim. "There's nothing so lovely as these oriental rugs. Kitty Kane had an exquisite one among her wedding presents, and when her house was built the parlor was made to fit the rug. It makes it rather long and narrow, but the rug is too lovely."
"'It is also for you to say whether the finished floor, if you have no carpets, shall consist simply of plain narrow boards or be more expensively laid in parquetry designs. In the latter case I shall claim the privilege of choosing the pattern.'"
"Why should he trouble himself about the pattern of the wood floors any more than he would about the style of the carpets?"
"He would probably say, because the floors are a part of the house for which he is making the plans and will last as long as the house itself, while the carpets are subject to changing fashions and will soon return to their original dust. But he may attempt to dictate in regard to carpets if we give him a chance."
"Undoubtedly—to the extent of pitching them out of the window."
"In laying double floors one simple matter must not be neglected. The under, or lining boards, which are usually wide and imperfectly seasoned, should be laid diagonally upon the joists; otherwise in their shrinking and swelling they will move the narrow finished boards resting upon them and cause ugly cracks to appear, even though the upper floor is most carefully laid and thoroughly seasoned. The liberal use of nails is another obvious but often neglected duty of floor-makers, who seem, at times to act upon the supposition that as a floor has nothing to do but lie still and be trodden upon, it only needs to be laid in place and let alone. This may be true of stone flagging; it is far from being true of inch boards, that have an incurable tendency to warp, twist, spring and shake. Lining floors, especially, whatever their thickness, should be nailed—spiked is a more forcible term—to every possible bearing and with generous frequency; to be specific, say every three inches. The finished hoards must also be secured by nails driven squarely through them. If you object to the appearance of nail heads the boards may be secured by nails driven through the edges in such way that they will be out of sight when the floor is finished; but this should never be done except by skillful and conscientious workmen. There is no excuse for this "blind" nailing in floors that are to be covered by carpets, and it is seldom desirable under any circumstances. All thorough nailing adds greatly to the strength, and will alone prevent the creaking of the boards, so annoying in a sick room and so discouraging to burglars.'"
"Whatever else we do we must make it all right for the burglars. Tell him we will have floors that can be used either way, with rugs or without, with matting, with carpets, or with nothing at all but their own unadorned loveliness. Those in the chambers, where there is not much wear and tear, may be of common clear pine, and we can paint or stain a border around the edges. The others ought to be of harder wood, and, as they will last as long as we shall need floors, we can afford to have them cost rather more than a good carpet, perhaps thirty or forty cents a square foot."
"I don't see the necessity for that," said Jill, who had a frugal mind—at times. "I know they will outlast a great many carpets, but it is considerable work to keep a bare floor in order—or rather to put it in order—which must be taken into account; and, as for saving the expense of carpets, we shall be likely to spend twice as much for rugs as the carpets would cost. However, extravagance in rugs is not the fault of the hard-wood floors and ought not to be charged against them. We might have a few parquetry floors, but for most of the rooms plain narrow strips, with a pretty border, will be good enough. What do you think about it, Jim?"
While Jim was preparing to say that he didn't think he knew much about such things, there came a crash on the floor above, followed by loud and incoherent observations by the chambermaid. The chandelier began to shake, as that substantial domestic fairy flew through the passage that led to the back stairs, at the head of which she was distinctly heard to exhort the cook in good set terms to "hurry up with the mop, for the water-jug was upset and the mistress would be raving if the water came through the ceiling."
The quartette below listened with conflicting emotions. Jill was indignant, Bessie horrified—apparently, Jim greatly amused, and Jack sublimely indifferent. "If there's anything I despise," said Jill, "it is a house that makes a human being seem like an elephant, and where I can't say my prayers or move a chair in my own room without rousing the entire household."
"There's one good thing about it," said Jim pleasantly. "You can't help knowing what is going on in your own house."
"Spoken like a man and a brother, James. You always go to the root of a matter. I like to keep posted. No skeletons and gunpowder plots for me. I had this house made so on purpose." Whereat they all laughed and again took up the floor question, while the sound of hurrying feet and the rattling of domestic implements went on overhead, and the chandelier trembled with the jarring floors.
"I suppose forty dollars' worth of timber originally added to these floors would have made them so firm that we might drive a caravan across them without shaking the building. We will, at least, have solid floors in the new house; but the architect informs us that 'effectual deafening of the floors and partitions necessarily adds considerably to their cost, since the walls and ceilings must be virtually double or filled with some light porous material. The construction I have described for making the house fireproof, or nearly so, would also make it comparatively sound-proof. It would prevent the passage of any reasonable in-door noises, though it might not withstand the stamping of heavy steel-shod feet. Indeed, the question of bare, hard-wood floors is, in one of its aspects, rather a question of boots. It is most unreasonable to say the floors are noisy and slippery when the fault lies rather in the hard, stiff, awkward receptacles in which our feet are imprisoned. If we are ever clad from head to foot in the robes of a perfect civilization, we shall doubtless find smooth bare floors for general use more satisfactory than any kind of rugs, mats or carpets.'
"And now," said Jill, "we will leave the rest of this interminable letter for a more convenient season and see what our indefatigable aunt has sent as the latest and best thing in domestic architecture. If you will take the plans and follow the description, I will read the letter straight through, though it will doubtless contain more or less advice not strictly pertinent to house-building. Here it is:
"My Dear Jill: On further reflection I have concluded that the little cottage plans which I sent last will not answer. I doubt whether you and Jack have sufficient independence and originality to make a success of living; even temporarily, in a small, unpretending cottage. It requires unusual strength of character'—
"Listen, Jack.
—to establish and maintain a high social standing with no adventitious aids. You cannot at present afford a large establishment, but you must have one that is striking and elegant. I was first attracted to this house by its external appearance—not especially the form, but the material, as we often see a lady of inferior physique whose rich and tasteful attire makes her the observed of all observers."
"Aunt Melville is inclined to be dumpy, and is immensely proud of her taste in dress.
"'The walls near the ground—the underpinning, I suppose—is of solid granite blocks, irregular in size, rough and rugged in appearance. Indeed, the impression is of exceeding solidity and strength, perhaps because the walls slope backward as they rise. The first story is also of stones, but such peculiar stones as I never expected to see in a dwelling house, precisely like those used in the country for fences.'"
"How exquisite!" exclaimed Bessie, clapping her hands in ecstacy.
"'Some of them seemed to be covered with the gray lichens that are found growing on rocks,—'
"How delicious!"
"'—but I very much fear these will be destroyed by the action of the lime in the mortar. The stones vary in color, and at a little distance the effect is like a rich mosaic. The corners of the house and the sides of the windows are made of peculiarly dark, rough-looking bricks that harmonize well with the general tone of the stone walls. The second story is of wood, covered with shingles that have not been painted, but simply oiled, and they have turned a dark reddish-brown. I found on inquiry that they are California red wood. The roof is of red tiles, and the chromatic effect of the entire building is very charming and aristocratic.'"
"That would suit us perfectly," said Jack, "but I think our aristocratic aunt is more tiresome than the architect. Jim is asleep and Bessie is on the verge of slumber." But just at that moment Bessie gave a piercing scream and bounded from the sofa in uncontrollable affright, while an army of reckless June bugs came dashing in through the open, unscreened windows.
"

aking advantage of the incursion of the June bugs, Jim withdrew in
good order, and Bessie shortly after retired with her tin candlestick.
"Do you seriously intend to allow that pair of incompatibles to go off to-morrow looking for old furniture and antiquated household implements?" asked Jill.
"Most certainly I do. It will he the greatest fun in the world. I only wish we could go as invisible spectators; but, on the whole, we shall best enjoy imagining what they will say or do if left to their own devices, knowing, as we should, that our presence would prevent some of their wildest absurdities. I'm awfully sorry they are not going to build and furnish a house somewhere in this vicinity, according to their combined notions."
"And I am extremely sorry you cannot take your thoughts from Bessie long enough at least to hear the conclusion of Aunt Melville's letter."
"My dear, like John Gilpin, 'of womankind I do admire but one.' I shall listen with undivided attention to whatever you lay before my ears. Pray go on."
"'I was fortunate enough to get a drawing of the interior of the reception hall, which, while it is simple and inexpensive, is also dignified and impressive. Houses often resemble people, and you will easily recall among your friends certain ones who, without being either wealthy or brilliant, are still very impressive. The other rooms which we visited are ample for your needs, as you will find it far more advantageous to entertain but few people at a time, and those of the best society, than to have larger and more indiscriminate gatherings. The amount of room in the house is surprising; but that, of course, is because it is so nearly square.'"
"That is feminine logic. A man would have said that the size of a house determines the amount of room it contains."
"Undoubtedly he would; but it does not," said Jill, decidedly. "I can show you houses that look large and are large, that make great pretensions in point of style, that cost a great deal of money, and yet have no room in them. They have no place for the beds to stand, no room for the doors to swing, no room for a piano, no room for a generous sofa, no room for the book-cases, no room for easy stairs, no room for fireplaces, no room for convenient attendance at the dining-table, no room for wholesome cooking, no room for sick people, no room for fresh air, no room for sunlight, no room for an unexpected guest. They have plenty of rooms, apartments, cells—but no real, generous, comfortable house room."
"I suppose Aunt Melville refers to the mathematical fact that a house forty feet square contains more cubic feet than the same length of walls would hold in a more elongated or irregular shape."
"By the same rule an octagon or circle would be better still, which is absurd. No; her feminine logic is no worse than yours, and no better. The amount of room a house contains depends neither upon its size nor its shape. Her analogy, too, is at fault when she implies that the outside of a house bears the same relation to the interior that clothing bears to the person who wears it. The art of the tailor and dressmaker has at present no other test of merit than fashion and costliness, elements to which real art, architectural or otherwise, is always and absolutely indifferent. The external aspect of the house should be the natural spontaneous outgrowth of its legitimate use and proper construction, as face, form and carriage express the character of each individual."
Jill spoke with unwonted seriousness and a wisdom beyond her years. Even Jack was impressed for the moment, and expressed a wish to tear down some of the ornamental appendages from his own house. "The piazzas are well enough—that is, they would be if they were twice as wide—but the observatory is good for nothing, because nobody can get into it to observe, unless he crawls along the ridge-pole, and I never did know what all that mess of wooden stuff under the eaves and about the windows was for. I suppose it was intended to give the house a richer look."
"Yes, it enriches it just as countless rows of puffs, ruffles and flounces, made of coarse cotton cloth with a sewing machine and piled on without regard to grace or comfort, would 'enrich' a lady's dress."
"I thought you objected to the dress anology?"
"I do, positively, but it appears to have been the theory accepted by modern architects almost universally. I don't see. Jack, that your house is any worse than others in this respect, and I have no doubt it will 'sell' all the better for the superfluous lumber attached to the outside walls."
"Thank you, my dear! That is the first good word you have spoken for it. Well, there is one comfort; I am convinced that you didn't commit the reprehensible folly of marrying me for my house."
"No, indeed, Jack. It was pure devotion; a desperate case of elective affinity."
"And yet we are happily married! We shall never do for the hero and heroine of a modern romance. There isn't a magazine editor or a book publisher that would look at us for a moment."
"Let us be thankful—and finish our letter.
"'I am anxious, as you know, my dear niece, that you should, begin life in a manner creditable to the family, and I trust you will allow no romantic or utilitarian notions to prevent your conforming to the requirements of good society. This house, in all such respects, will be perfectly satisfactory. I have bought the plans for you from the owner, and I hope you will accept them with my best wishes.'
"And that is all, this time. Aunt Melville's notion of a house seems to be a place for entertaining the 'best society.' Her zeal is certainly getting the better of her conscience and judgment. She cannot honestly buy the plans from the owner of the house, because he never owned them; they belong to the architect, and she ought to know better than to advise the use of material that would have to be brought at great expense from a long distance. If cobble-stones and boulders were indigenous in this region, and old stone fences could be had for the asking, I should like to use them, but they are not. It is also evident that she did not penetrate far into the interior of the house or she would have discovered an unpardonable defect—the absence of 'back' stairs. I do not think it very serious in such a plan, where the one flight is near the centre of the house and is not very conspicuous, but Aunt Melville would lie awake nights if she knew there were no back stairs for the servants."
The next morning Jim appeared with the express wagon, and Bessie climbed upon the high seat beside him under the big brown umbrella, her Gainsborough hat encircled with a garland of white daisies, huge bunches of the same blossoms being attached somewhat indiscriminately to her dress by way of imparting a rural air, and together they drove off in search of old and forgotten household gods. Jill had suggested sending them out to investigate, reporting what they found, and purchasing afterward if thought best, but Jack urged that it would be wiser to secure their treasures at once, lest the thrifty farmers, finding their old heir-looms in demand, should mark up the prices while they were deliberating—a view with which Bessie fully concurred.
Beguiling the way with the duet that is always so delightful to the performers, whatever the audience may think of it, they followed the pleasant country roads for many miles without finding a castle that seemed to promise desirable plunder. A worn-out horseshoe lying in the road was their first prize. It presaged good luck, and was to be gilded and hung above the library door. At length they came to a typical old farm-house, gray and weather-beaten, but still dignified and well cared for. The big barns stood modestly back from the highway, and the yard about the front door, enclosed by a once white picket fence, was filled with the fragrance of cinnamon roses and syringas. As they drove up at the side of the house across the open lawn, the close cropping of which showed that the cows were wont to take their final bite upon it as they came to the yard at night, they encountered an elderly man carrying a large jug in one hand and apparently just starting for the fields with some refreshing drink for the workmen.
"Good morning, sir," said Jim, touching his hat. Bessie smiled and asked, "Are you the farmer?"
"Wal, yes ma'am; I suppose I am. Leastways I own the farm and get my living off from it as well as I can—same as my fathers did afore me."
"How lovely! Have you got any old—I mean, can you give us a drink of water? We—we happen to be passing and we're very thirsty."
"Just as well as not. The well is right behind the house. You can jump down and help yourselves."
"You don't mean jump down the well," said Jim, laughing.
"Not exactly. Will your horse stand?"
"Oh, yes."
When Bessie saw the old well-sweep, which for some unaccountable reason had not been swept away by a modern pump, she exclaimed in a stage whisper: "Wouldn't it be glorious if we could carry it home?"
Jim found the cool water most refreshing and thought he would rather carry home the well.
"What an enormous wood pile," Bessie continued aloud, in a desperate endeavor to lead up to andirons by an unsuspicious route. "Do you burn wood?"
"Not so much as we used to. The women folks think they must have it to cook with, but we use coal a good deal in the winter."
"Don't you have fireplaces?" was the next innocent question.
"Plenty of 'em in the house, but they're mostly bricked up. It takes too big a wood pile to keep 'em going."
"So you use stoves instead; I suppose it is less trouble. Oh, and that reminds me, have you any old andirons, anywhere around?"
"Shouldn't be surprised if there was. Yes, there's one now, hangin' on the gate right behind you."
Bessie, as she afterwards declared, was almost ready to faint at this announcement, but on turning to look she saw indeed, hanging by a chain to keep the gate closed, a dumpy, rusty, cast-iron andiron.
"Should you be willing to sell it for old brass? Isn't there a mate to it somewhere? They generally go in pairs, don't they?"
"No, I shouldn't want to sell it for old brass, because you see it's iron. Most likely there was a pair of 'em once, but there's no tellin' where t'other one is now. Maybe in the suller and maybe in the garret."
"Please could we go up in the garret and look for it? We will be very careful."
The worthy man, considerably puzzled to know what sort of angels he was entertaining unawares, obtained permission from the "women folks," sent a boy off with the jug of drink and showed his callers to the topmost floor of the house.
"Oh, oh! If there isn't a real spinning-wheel. This passes my wildest anticipations," murmured Bessie to Jim; then, restraining her enthusiasm for fear of spoiling a bargain, she inquired aloud: "Do any of your family spin?"
"No, no; not now-a-days. My old mother vised to get the wheel out now and then, when I was a youngster, but it's broke now and part of it is lost."
"Would you sell it?"
"If it isn't all here—" Jim began, but Bessie checked him and eagerly accepted the old wheel, which had lost its head and two or three spokes, for the moderate sum of one dollar.
Rummaging among old barrels, Jim found the missing half of the pair of andirons. One broken leg seemed to add to its value in Bessie's eyes and she quickly closed a bargain for them at fifteen cents, which their owner, after "hefting" them, "guessed" would be about their value for old iron. One old chair, minus a back and extremely shaky as to its legs, and another that had lost a rocker and never had any arms, were secured for a nominal price, and Bessie's attention was then attracted to a tall wooden vessel hooped like a barrel, but more slender, "big at the bottom and small at the top," which proved to be an old churn. Jim objected to this until his companion explained how it could be transformed by a judicious application of old gold and crimson into a most artistic umbrella stand, while the "dasher" would make a striking ornament for the hall chimney-piece. As they were about to depart with their treasures, the honest farmer invited them to look at a ponderous machine five or six feet high and nearly as broad—a horrid monster, misshapen and huge, that stood in the back chamber over the wood-shed. It was a cheese-press. "How magnificent!" whispered Bessie, and then, turning to their host, inquired—"Do you use it every day?"
"Oh, law, no! Hain't used it this twenty years. Make all the cheese at the factory. It's kind of a queer old thing and I thought maybe you would like to see it. 'Tain't likely you will ever see another just like it."
"Would you be willing to sell it?"
"Of course, I'd be willing enough, only it don't seem just right to sell a thing that ain't good for anything but firewood. However, if you really want it you may have it for a dollar and a-half, and I'll have the hired men load it up for you."
"Now, really, Miss Bessie," said Jim, when the farmer had gone to call the men, "don't you think it's rather a clumsy affair? We can hardly get it into the express wagon, and I don't see where they can put it if we carry it home."
"Clumsy! no, indeed, it's massive, it's grand! There will be plenty of room in the new house. They will have one entire room for bric-a-brac."
"But what can they do with it? They won't make cheese."
"Can't you see what a delicious cabinet it will make? These posts and things can all be carved and decorated, and it will be perfectly unique. There isn't such a cabinet in the whole city of New York. Oh, I think our trip has been an immense success already. I shall always believe in horseshoes after this; but isn't it a pity we can't carry home the well-sweep?"
The huge machine had to be taken from the shed chamber in sections, but was properly put together again in the wagon by the hired men, and made the turnout look like a small traveling juggernaut. Just before starting: Bessie espied, leaning against the fence, a hen-coop from which the feathered family had departed, and explaining to Jim that if the sides were painted red and the bars gilded it would be a charming ornament for the front porch, persuaded him to add that to their already imposing load. Then they departed, leaving the farmer and his men in doubt whether to advertise a pair of escaped lunatics or accept their visitors as "highly cultured" members of modern society.
When they reached home Jack had just come in from the office. He looked out of the window as they drove up, felt his strength suddenly give way, and rolled on the floor in convulsions.
"Less than five dollars for the whole lot, did you say, Jim? I wouldn't have missed seeing that load for fifty."
The next day was Sunday. Monday afternoon Bessie went home.
"

irt is matter out of place," quoted Uncle Harry, in one of his
erratic epistles which Jack and Jill always read with interest if not
profit. "When you find anything that seems unclean or offensive in any
part of your house, remember this: the fault is not in the thing
itself, but in your ignorant or thoughtless management. There isn't a
material thing in the universe, whatever its name or characteristic
qualities maybe; not a flaunting weed nor an unseen miasmatic vapor,
which is not created for some good and wise purpose. It is for us to
learn those purposes. The grand secret of safe and comfortable living
lies in keeping yourself and everything about you in the right place. I
hear much of the dangers and annoyances that arise from modern
plumbing. I am not surprised by them; on the contrary, I wonder they
are not more numerous and fatal, since nothing is more inconsistent
with the first principles of comfort and health than our relations to
these 'modern conveniences.' Instead of disposing of what are
incorrectly called waste materials according to nature's modes, we
persist in defying her examples and her laws, even after we fully
understand them, and, in the vain hope of adding to our own case,
bring upon ourselves untold calamities. 'Earth to earth' is a mandate
that cannot be disregarded with impunity. The infinite laboratories of
nature welcome to their crucibles all the strange and awful elements
which we fail to comprehend and against which we wage a futile warfare.
If all these miscalled 'wastes' that we find so hurtful and offensive
when out of place in and around our homes could be consigned to the
bosom of mother earth the moment they seem to us worthless, they would
be at once changed to life-giving forces, out of which forms of
freshness and beauty would arise to fill us with delight. They are
willing to serve us whenever we give them an opportunity. The one
direct and infallible mode of doing that is to put them in the ground
before they have a chance to work us injury. If we bury them, or,
rather, plant them, they will bring forth, some thirty, some sixty,
some an hundredfold.
"It is my impression that sewers were originally invented by the Evil one. He couldn't drag men down to his dominions fast enough, so he moved a portion of his estate to this planet, and lest its true character should be discovered, buried it under paved streets and flowery parks. We might easily and quietly put these crude materials into convenient receptacles, to be carried where they will bless the world by making two ears of corn grow where one grew before. This we could do, each one for ourselves, or more advantageously by cooperating with one another. We are too wasteful, too indolent, too ignorant. Tempted by the invisible sewers we imprison these misplaced and inharmonious elements for a time in lead or iron pipes, while they grow more hostile, occasionally escaping by violence or stealth into our chambers, and then with many nice contrivances and much perishable machinery we try to wash them away with a bucket of water. Not to carry them where they will do any good, not to put them out of existence, but simply to hide them: to send them out of our immediate sight, and very likely into some greater mischief. The system is radically wrong, and while many of its existing evils may be averted, they cannot all be removed till we make our attacks from a different base. Improving sewers, like strengthening prison walls, is a good thing if the institutions remain; to prevent the need of maintaining them would be better still. Three-fourths of the solid wastes that proceed from human dwellings—scraps of food, waste paper, worthless vegetables, worn-out utensils, bones, weeds, old boots and shoes, whatever unmanageable and unnamable rubbish appears—ought to be at once consumed by fire, for which purpose a small cremating furnace should be found in every house. A similar trial by fire would reduce a large part of the liquids and semi-liquids to solid form to be also consumed, and the rest, absorbed by dry earth or ashes, could easily be transported to the barren fields that await the intelligence and power of man to transform them into blooming gardens.
"Of the usual modes of bringing water to our houses to wash away these things I know but little, because there is but little to be known. Complications and mysteries are not to my taste. I find no satisfaction in overthrowing a man of straw, and am comparatively indifferent to the rival claims of patentees and manufacturers, except as they promise good material, faithful workmanship and moderate prices.
"The one thing needful, if we adopt the hydraulic method of carrying away these waste substances, is a smooth cast-iron pipe running from the ground outside the house in through the lower part and up and out through the roof. It should be open at both ends, and so free from obstruction that a cat, a chimney-swallow or a summer breeze could pass through it without difficulty. I would, however, put screens over the open ends to keep out the cats and the swallows. The purifying breezes should blow through in summer and winter without let or hindrance, and to promote their circulation I would, if possible, place the pipe beside a warm chimney. Yet if the air it contains should sometimes move downward it will do no special harm; anything is better than stagnation. Into this open pipe, which should be not only water-tight but air-tight through its entire length, all waste-pipes from the house should empty as turbid mountain torrents pour into the larger stream that flows through the valley. (Fig. 1.) Now, unless the upward draught through this large pipe is constant and strong, you will see at once that the air contained in it (which we must treat as though it were always poisonous) would be liable to come up through these branches into the rooms, where they stand with open mouths ready to swallow whatever is poured into them. It is necessary, therefore, to build dams across them that will allow water to go down but prevent air from going up. These dams are called 'traps.' They are intended to catch only hurtful elements that might seek to intrude. It often happens that those who set them get caught, for they are not infallible. Whatever the form or patent assumed by these water-dams, they amount to a bend in the pipe rilled with water. (Fig. 2.) Sometimes a ball or other form of valve is used, but the water is the mainstay.

"Theoretically, this is the whole machinery of safe, 'sanitary' plumbing: A large open pipe kept as clean and free as possible, into which the smaller drains empty, these smaller drains or waste-pipes having their mouths always full, and being able, so to speak, to swallow in but one direction. Everything can go down; nothing can come up. That all these pipes shall be of sound material, not liable to corrosion; that the different pieces of which they are composed shall be tightly joined; that they shall be so firmly supported that they will not bend or break by their own weight, or through the changes of temperature to which they are subject, and that they shall be, if not always in plain sight, at most only hidden by some covering easily removed, are points which the commonest kind of common sense would not fail to observe.
"Practically, there are weak spots in the system, even if plumbers were always as honest as George Washington—-before he became a man, and as wise as Solomon—before he became discouraged. A water barricade, unless it is as wide as the English Channel, is not a safeguard against dangerous invasion. A slight pressure of air, as every boy blowing soap bubbles can show you, will force a way through a basin full, and the same thing would happen if there should chance to be a backward current of air through these pipes, with this difference, that while the soap bubbles are harmless beauties, these may be filled with the germs of direful diseases. Still another danger to which this light water-seal is exposed is that a downward rush of water may cause a vacuum in the small pipes, somewhat as the exhaust steam operates the air-brakes, and empty the trap, leaving merely an open crooked pipe. Both these weak points may be strengthened by a breathing hole in the highest part of the small pipe below the trap. This must, of course, have a ventilating pipe of its own, which, to be always effectual, should be as large as the waste-pipe itself. (Fig. 3.)


"Now, if the water that fills these traps and stops the open mouths of the drains were always clean, there would be no further trouble from this source. Unfortunately it is not; and although constant watchfulness might keep it so, the safety that only comes from eternal vigilance is an uncomfortable sort of safety—if we have too much of it life becomes a burden. This particular ill might be remedied by some contrivance whereby the upper ends of the waste-pipes should be effectually corked—not simply covered, but corked as tightly as a bottle of beer—at all times except when in actual use. This would doubtless be more troublesome, but indolence is at the bottom of most of our woes: our labor-saving contrivances bring upon us our worst calamities. Even this thorough closing of the outlet of washbasins and bath-tubs, as they are usually made, would be of little avail, for they are furnished with an 'overflow' (Fig. 4), through which exhalations from the trap would rise, however tightly the outlet might be sealed. It is also customary and doubtless wise, considering our habit of doing things so imperfectly the first time that we have no confidence in their stability, to place large basins of sheet-lead under all plumbing articles, lest from some cause they should 'spring a leak' and damage the floors or ceilings below them. One strong safeguard being better than two weak ones, I would dispense with the 'overflow' and arrange so that when anything ran over accidentally the lead basin or 'safe' should catch the water and carry it through an ample waste-pipe of its own to some inoffensive outlet. This would perhaps involve setting the plumbing articles in the most simple and open fashion—which ought always to be done. 'Cabinets,' cupboards, casings and wood finish, no matter how full of conveniences, or how elegantly made, are worse than useless in connection with plumbing fixtures, which, for all reasons, should stand forth in absolute nakedness. They must be so strongly and simply made that no concealment will be necessary.
"One more danger closes the list, so far as the system is concerned. Even if the water in the traps is clean and inoffensive it will evaporate quickly in warm weather, and then the prison door is open again. This adds another vigil which we can never lay aside if we must have plumbing and water traps. The burden may be somewhat lightened—since we are prone to forgetfulness as stones to fall downward—by using traps made of glass and leaving them in plain sight.

"I conclusion, I wish to remind you that the lower end of the main drain must be protected from the iniquity of the sewer or cesspool to which it runs by another trap, or dam, just below the open pipe that admits fresh air from outside the house (Fig. 5), and also, as I have before remarked, that the system is wrong. The rising tide of civilization will some time wash it all away."
"Uncle Harry's notion of reform," said Jack, after the long letter had been read, "seems to be to blow the universe to pieces and then put it together again on a new and improved plan. It strikes me we had better fight it out on this line and try to straighten the evils we know something about rather than invent new ones. If we had begun on that track and tried to utilize the waste materials on strictly economical principles, perhaps by this time our methods and machinery would have been so far perfected that the real or imaginary evils of modern plumbing would not have existed. It seems a pity to throw away all we have accomplished and begin again."
"That is a part of the price paid for progress," said Jill. "Stage coaches are useless when steam appears, and locomotives must go to the junk shop when electricity is ready to be harnessed. But I'm afraid we cannot afford to be pioneers, and I'm sure the neighbors are not ready to co-operate. We must still 'go by water,' and the important question is where to send the lower end of the main drain. There is no sewer in the street, and a cesspool is an atrocity worthy of the darkest ages. The only safe thing appears to be the sub-surface irrigation plan, for which, fortunately, there is plenty of room on our lot. This comes very near to Uncle Harry's notion of 'earth to earth' in the quickest time possible. If we do it and accept the architect's suggestion in the plan of the house we shall be reasonably safe from that most mysterious of all modern foes—sewer-gas."
"I've forgotten the architect's suggestions; in fact, I don't believe my head is quite equal to housebuilding with all the latest notions. When my house was built I just told the carpenter to get up something stylish and good, about like Judge Gainsboro's. He showed me the plans, I signed the contract, and that was the whole of it. I supposed a house was a house. Now, before the new house is begun, I'm like Dick Whittington in the days of his poverty—I've no peace by day or night."
"Poor fellow!"
"I shudder to think what it will he when the house is fairly under way. I can see five hundred different things at once, but when each one has five hundred sides and we get up into the hundred thousands, I begin to feel dizzy. Uncle Harry has settled the plumbing question to his own satisfaction, so far as first principles are concerned; but who will tell us what kind of pipes and trimmings and bowls and basins and traps and plugs and stops and pedals and pulls and cranks and pistons and plungers and hooks and staples and couplings and brakes and chains and pans and basins and tanks and floats and buoys and strainers and safes and bibbs and tuckers we are to adopt? If I should consume midnight oil during a full four years' course at a college for plumbers I should still find myself just upon the threshold of the temple of knowledge."

y a tender but vigorous application of the remedies usual in such
cases, Jack was speedily restored to his wonted equanimity, and Jill,
laying Uncle Harry aside, took up the architect's suggestions
concerning the plumbing, which referred rather to its relations to the
plan of the house than to the details of the work itself.
"A bath-room, with all the plumbing articles it usually contains, must possess at least three special characteristics. It must be easily warmed in cold weather, otherwise the annual bill for repairs will be greater than the cost of coal for the whole house; its walls, floors and ceilings must be impervious to sound. The music of murmuring brooks is delightful to our ears, so is the patter of the soft rain on the roof; but the splashing of water in a, bath-tub and the gurgling of unseen water-pipes are not pleasant accompaniments to a dinner-table conversation. Thirdly, it must be perfectly ventilated—not the drainpipes merely,—but the room itself in summer and in winter. Two of the above conditions can best be secured by arranging to have this important room placed in a detached or semi-detached wing; and here begin the compromises between convenience, cost and safety. It is convenient to have a bath-room attached to every chamber, and there is no doubt that this may be done with entire safety, provided you do not regard the cost. In your plan I have adopted the middle course. There is one bath-room for all the chambers of the second floor, not too remote but somewhat retired, and having no communication with any other room. It is ventilated by a large open flue carried up directly through the roof; it has also an outside window and inlets for fresh air near the floor. All the walls and partitions around it will be double and filled with mineral wool, and the floors will be deafened. The 'house side' of the water-closet traps will have three-inch iron pipes running to the ventilating flue beside the kitchen-chimney, a flue that will always be warm, and therefore certain to give a strong upward draught at all times, which cannot be said of any other flue in the house, not even of the main drain, or soil-pipe, which passes up through the roof. It would be easy to keep other flues warmed in cold weather by steam-pipes, but in summer you will have no steam for heating purposes. A 'circulation-pipe' might be attached to a boiler on the kitchen range for this purpose, but in the present case such a contrivance would cost more than the iron pipe carried from the bath-room to the flue that is warmed by the kitchen fire. A good way to build this ventilating flue is to inclose the smoke-pipe from the range, which may be of iron or glazed earthen pipe, in a larger brick flue or chamber (Fig. 1), keeping it in place by bars of iron laid into the masonry. The rising current of warm air around the heated smoke-pipe will be as constant and reliable as the trade winds. It will be well, indeed, if all your chimneys are made in a similar manner; that is, by enclosing hard-burned glazed pipe in a thin wall of bricks. Such chimneys will not only draw better than those made in the usual way, but there will be less danger from 'defective flues.' A four-inch wall of bricks between us and destruction by fire is a frail barrier, especially if the work is carelessly done or the mortar has crumbled from the joints. To build the chimneys with double or eight-inch walls makes them very large, more expensive, and still not as good as when they contain the smooth round flues. To leave an air-chamber beside or between them for ventilating (Fig. 2), is better than to open directly into the smoke-flue, because it will not impair the draught for the fire, and there will be no danger of a sooty odor in the room when the circulation happens to be downward, as it will be occasionally. The outside chimney, if there is one, should have an extra air-chamber between the very outer wall and the back of the fireplace to save heat (Fig. 3), a precaution that removes to a great extent the common objection to such chimneys. Whatever else you do, let these 'windpipes of good hospitalitie' have all the room they need. I shall not willingly carry them off by any devious way to be hidden in an obscure corner or dark closet, nor yet to give them a more respectable and well-balanced position on the roof. Like the wild forest trees they shall grow straight up toward heaven from the spot where they are first planted. If we happen to want a window where the chimney stands in an outer wall we will make one between the flues, as one might build a hut in the huge branches of a mighty oak. It isn't the best place for the window or the hut, but circumstances may justify it; as, for instance, when we must have the outlook in a certain direction, but cannot spare the wall-space for a window beside the chimney. The jambs beside a window so situated will be very wide, and you may, if you please, extend the view of the landscape indefinitely by setting two mirrors vis-à-vis in the opening at either side. This will also send the sunshine into the room after the sun has passed by the other windows on the same side of the house. It is rather a pretty fancy, too, when the outside view does not require a clear window, to set a picture in colored glass above the mantel, and the same thins: may be arranged in the sideboard, if it happens to stand against the outer wall. These are fancies, however, which lose their beauty and fitness unless they seem to have been spontaneously produced. There should be no apparent striving for effect."
"I like the idea of setting mirrors in the deep window-jambs, whether they are in the chimney or out of it," said Jill. "If I was obliged to live in a room where the sun never shone of its own accord, I would set a trap for it baited with large mirrors fixed on some sort of a windlass in a way to send the sunshine straight into my windows."
"Capital! You could do that easily, and if you wanted a green-house on the north side it would only be necessary to set up a few looking-glasses to pour a blazing sun upon it all day long. You might need a little clockwork to keep them adjusted at the right angles, but Yankee invention ought to be equal to that. I have no doubt we shall see patent sunshine-distributors in the market very shortly if your idea gets abroad; in fact, I shouldn't be surprised to hear that a company proposed to set up mammoth reflectors to keep the sun from setting at all until he drops into the Pacific Ocean."
"Well, you may laugh at my invention; I shall surely try it when I am obliged to live in a house that does not get sunlight in the regular way. As for the stained glass picture over the chimney-piece, I should like it for the bright color and because the lamps would make it so charming from the street outside. I shall also want colored glass in the upper part of the bay windows. The architect says we can have it and still keep the lower panes clear and large. He sends some sketches by way of suggestion, and thinks we may use it in the lower part of some of the windows to conceal a window-seat or other furniture. I should prefer screens of some other kind in such places, keeping the stained glass up where it would show against the sky. He says this colored glass is not necessarily expensive; that it may be set in common wood-sash or in lead-sash, as we please, and that it will not affect the usual opening and closing of the windows. He advises plate-glass for the larger lights, if we can afford it, not because it gives the house a more elegant appearance, though that is not a wholly unworthy motive, but because a beautiful landscape is so much more beautiful when it can be plainly seen. The instinct that prompts us to throw the window wide open in order to get a more satisfactory view is an unanswerable argument in favor of large, clear lights of glass for windows intended for outlooks."
"And here is an illustration right before us," said Jack. "I am impelled by a powerful impulse to open the window and see if I can recognize the lady driving up the street. It wouldn't be good manners, but I wish the window was plate-glass."
To Jack's astonishment, however, Jill threw open the window and waved her handkerchief in cordial salutation as Aunt Jerusha drove slowly up to the house. "Doing her own work" for half a century had not rendered her incapable of taking and enjoying a carriage ride of fifteen miles alone to visit her niece.
Like all wise people who are able to give advice, Aunt Jerusha offered none until it was asked, and then gave only in small doses. She had never seen the house that Jack built, but had heard much of it from the friends and relatives who had never underrated Jill's obstinacy in refusing to accept it as a permanent home.
"I almost wonder at you, Jill, for being so set against it. I'm sure it's a fine house and cost a good deal of money. There must be some drawback that doesn't show. I hope It isn't haunted."
"That's it, Aunt Jerusha; it's haunted. Several uncomfortable demons have taken possession of it and Jill isn't able to exorcise them. It was a great grief to me at first, and I made a bargain with Jill to keep still about them, but it is an open secret now and she may tell you everything."
"Very well. I can easily explain the mystery. The mischief began with the evil spirits of Ignorance and Incompetence. The carpenter who planned the house knew nothing about our tastes or needs, and the builder was unable to make a comfortable flight of stairs, safe chimneys, smooth floors or tight windows. After these two came another pair, worse than the first—Ostentation and Avarice. They tried to make a grand display and at the same time a large profit on the job. How can I exorcise such demons as these except by tearing down the house?"
"Couldn't you sell it, dear? What seem demons to you might appear like angels of light to some one else," said Aunt Jerusha.
"You are an angel of light to me, Aunt Jerusha," said Jack. "But I might have known you would stand up for my house."
"Aunt Jerusha, there isn't a closet in the whole establishment," said Jill, solemnly, knowing that defect to be an architectural sin which even her aunt's broad charity would fail to cover.
"Oh, Jill! where have you laid your conscience? I can't stay to hear my house abused. Please show Aunt Jerusha the pantry and the china-closet and I will flee to the office."
"Why, yes, to be sure you have a very nice buttery and china-cupboard."
"I meant good, generous closets for the chambers. Of course there's a pantry, but I don't think the arrangement of shelves, drawers and cupboards is very convenient."
"It seems very liberal."
"Yes, but would you advise me to have the pantry in the new house like it?"
"Well, no, dear; since you asked me, I wouldn't. It is possible to have too many conveniences even in a pantry. It is a good plan to have a few cupboards to keep some things from the dust and others from the light, but most of our raw materials now-a-days come in tight boxes or cans, and I find them more handy standing on the shelves than shut up in drawers. I don't suppose it would be so in your case, dear, but a drawer sometimes hides very slovenly habits. It is so easy to drop an untidy thing into a drawer and shove it out of sight. These large wooden boxes, all built in with their covers and handles, look nice and handy, but it's hard to clean them out. I would rather have good wide shelves and light movable tin boxes like those used in the groceries. You could buy them, I suppose, but I had mine made at the tin-shop to fit the shelves. I can take them out and wash them any time, and they never get musty, as wooden boxes will, even with the best of care. But you mustn't be biased by my old-fashioned notions."
"I think they are very good notions if they are old-fashioned. If we have cupboards inside the pantry, drawers inside the cupboards, and boxes and cases inside the drawers, finding the spices is like opening a nest of. Chinese puzzles. A mechanic would never hide the tools in his workshop in that way."
"How do you reach the upper shelves?"
"I never reach them, and all that room is wasted. It is worse than wasted. It is a reservoir for dust and cobwebs."
"Wouldn't it be well, dear, if all the upper part was made into cupboards for things seldom used?"
"Indeed it would. I think I will have the new pantry made something like this: low cupboards next to the floor, for things that; need to be shut up and yet must be handy; on the top of these, which will be not quite three feet high, a very wide shelf; over this several open shelves, as high as I can easily reach; and above the shelves, filling the space to the ceiling, short cupboards entirely around the room for cracked dishes that are too good to throw away, but are never used: for ice-cream freezers in the winter, and a great many more things that belong to the same category—a sort of hospital for disabled or retired culinary utensils. Now we will look at the china closet, but we shall need the gas in order to see it in all its glory, and you can tell Jack it is lovely with a clear conscience."
"I never speak without a clear conscience," said Aunt Jerusha mildly.
"

ear me," said Aunt Jerusha, as Jill, after displaying the kitchen
pantry, showed her the windowless china closet, elegant with varnished
walnut, plate-glass and silver-plated plumbing, "dear me, this is as
fine as a parlor. It seems a real pity to keep it all out of sight."
"The pity is that it was made so fine. I should not object to polished walnut in a light room, although cherry, birch or some other fine-grained, hard, light-colored wood is preferable; but all this ornamental work, these mouldings, cornices and carved handles are worse than useless—they are ugly and troublesome. If I can have my own way—I'm glad Jack isn't here to make comments—I shall have every part of the new pantries as plain and smooth as a marble slab, with not a groove or a moulding to hold dust, and never a crack nor a crevice in which the tiniest spider can hide. The shelves will be thin, light and strong; some wide and some narrow; a wineglass doesn't need as much room as a soup tureen; the cupboard doors shall be as plain as doors can be made, and shall not be hung like these, to swing out against each other at the constant risk of breaking the glass and of pushing something from the narrow shelf in front of them. They ought to slide, one before another, and the front shelf should be wide enough to hold lots of things when they are handed down from the upper part of the cupboards."
"I'm sure the little sink must be handy," said Aunt Jerusha, amiably looking for merits where Jill saw only defects.
"It might be if there was room enough at each side for drainers and for dishes to stand before and after washing. I don't wonder that Jack's china is 'nicked' till the edges look like saw teeth; glass and fine crockery can't be piled up into pyramids even by the most experienced builders without serious damage to the edges. There ought to be four times as much space at each side."
"I suppose there wasn't quite room enough."
"There was always room enough. There's enough now outside, and would have been inside, if the house had been well planned," said Jill rather sharply.
"These are proper, nice, large drawers."
"They are too nice and too large. Even when they are but half full I have to tumble their contents all over to find any particular thing, unless it lies on top. Some drawers ought to be large and some small, but I don't believe there ever was a man," said Jill vehemently, "who knew enough to arrange the small comforts and conveniences for housekeeping. Every day I am exasperated by something which Jack never so much as noticed. When I explain it he laughs and says it is fortunate we have so good an opportunity for learning what to avoid, and all the time I am certain he thinks there will be a great many more faults in the new house. If there are I shall be sorry it is fire-proof."
"Why, Jill, my dear, don't be rash! That doesn't sound like you. You mustn't set your heart on having things exactly to suit you in this world. I've lived a great many years, and a good many times I find it easier to bring my mind to things as they are than it is to make everything come just to my mind. I've seen plenty of women wear themselves out for want of things to do with, and I've seen other women break down from having too many; trying to keep up with all the modern fashions and conveniences, and to manage their houses with the same kind of regularity—'system' they call it—that men use in carrying on a manufacturing business."
"Well, why shouldn't they, Aunt 'Rusha?"
"I'll tell you why, my dear. A business man has a certain, single, definite thing to do or to make. Every day's work is very much like that of the day before. He may try to improve gradually, but, in the main, it is the same thing over and over again. Our home life ought not to be like that. A man ought not to be merely an engine or a cash-book; a woman ought to be something more than a dummy or a fashion-plate; our children should not be like so many spools of thread or suits of clothes, turned in the same lathe, spun to the same yarn, and cut according to the same pattern and rule. I'm sure I could never have done my work and brought up six children without some sort of a system, or if your uncle had been a bad provider. But I never could have got on as well as I have if I had given all my mind to keeping things in order and learning how to use new-fashioned labor-saving contrivances. There's nothing more honorable for womankind," said Aunt Jerusha, as she rolled up her knitting and prepared to set out on her homeward ride, "than housework, but it ain't the chief end of woman, and unless your house is something more than a workshop or a showcase, it will always be a good deal less than a home."
Jill hardly needed this parting admonition, but listened to it and to much more good advice with the respect due to one who, for nearly half a century, had looked well to the ways of her household, whose helping hands were always outstretched to the poor and needy, whose children rose up and called her blessed, and whose husband had never ceased to praise her. After her departure her niece indulged in a short season of solemn reflection, striving faithfully to attain to that wisdom which always knows when to protest against existing circumstances and when to accept them with equanimity. Ultimately she reached the conclusion that, while the house that Jack built might indeed be a thoroughly comfortable home to one who had a contented mind, it was really her duty in her probationary housekeeping to be as critical as possible.
Among other things the doors came in for a share of her usually amiable denunciation. She declared they were huge and heavy enough in appearance for prison cells, yet so loosely put together that their prolonged existence seemed to be a question of glue. They were swollen in the damp, warm weather till they refused to be shut, and would doubtless shrink so much under the influence of furnace heat in the winter that they would refuse to stay shut. The closet doors swung against the windows, excluding instead of admitting the light. The doors of the chambers opened squarely upon the beds, and there seemed to have been no thought of convenient wall spaces for pictures and furniture.
The architect's theory of doors, as expounded in one of his letters, was simple enough: "Outside doors are barricades; they should be solid and strong in fact and in appearance. Inner doors, from room to room, require no special strength; they should turn whichever way gives the freest passage and throws them most out of the way when they are open. Seclusion for the inmates is the chief service of chamber doors, and they should be placed and hung so as not to give a direct glimpse across the bed or into the room the moment they are set even slightly ajar. Closet doors are screens simply, and ought to hide the interior of the closet when they are partially open, as well as when they are closed. They may be as light as it is possible to make them. In many houses one-half the doors might wisely be sent to the auction-room and the proceeds invested in portières, which are often far more suitable and convenient than solid doors, especially for chamber closets, for dressing-rooms, or other apartments communicating in suites, and not infrequently a heavy curtain is an ample barrier between the principal rooms. It may be well to supplement them, with light sliding doors, to be used in an emergency, but which being rarely seen, may be exceedingly simple and inexpensive, having no resemblance to the rest of the finish in the room. For that matter such conformity is not required of any of the doors, though it is reckoned by builders as one of the cardinal points in hard-wood finish that veneered doors must 'match' the finish of the rooms in which they show. This is absurd. Doors are under no such obligations. They may be of any sort of wood, metal or fabric. They may be veneered, carved, gilded, ebonized, painted, stained or 'decorated.' To finish and furnish a room entirely with one kind of wood, making the wainscot, architraves, cornices, doors and mantels, the chairs, tables, piano, bookcase, or sideboard, all of mahogany, oak, or whatever may be chosen—the floors, too, perhaps, and the picture frames—is strictly orthodox and eminently respectable; but like the invariable use of 'low tones' in decorating walls and ceilings, it betrays a sort of helplessness and lack of courage. Discords in sound, color and form are, indeed, always hateful, and they are sure to be produced when ignorance or accident strikes the keys. Yet, on the other hand, neutrality and monotone are desperately tedious, and it is better to strive and fail than to be hopelessly commonplace."
This advice concerned not the doors alone, but referred to other queries that had been raised as to the interior finish generally.
One evening Jack came home and found Jill "in the dumps," or as near as she ever came to that unhappy state of mind, the consequence, as it appeared, of Aunt Melville's zeal in her behalf.
"Why should these plans worry you?" said Jack. "I thought common sense was your armor and decision your shield against Aunt Melville's erratic arrows of advice."
"My armor is intact, but, for a moment, I have lowered my shield and it has cost me an effort to raise it again, I supposed my mind was fixed beyond the possibility of change, but this is a wonderfully taking plan. At first I felt that if our lot had not been bought and the foundation actually begun we would certainly begin anew and have a house something like these plans. Then it occurred to me that in building a house that is to be our home as long as we live, perhaps, it would be the height of absurdity to tie ourselves down to one little spot on the broad face of this great, beautiful world and live in a house that will never be satisfactory, just because we happen to have this bit of land in our possession and have spent upon it a few hundred dollars."
"Sensible, as usual. What next?"
"Well, this last and best discovery of Aunt Melville's was undoubtedly made like our own plan to fit a particular site, and it seems beginning at the wrong end to arrange the house first and then try to find a lot to suit it."
"I don't see it in that light," said Jack. "I know the architect has been preaching the importance of adapting the plan to the lot, but if two thousand dollars are going into the land and eight thousand into the house, I should say the house is entitled to the first choice."
"Certainly, if it was a city lot, with no character of its own, a mere rectangular piece of land shut in upon three sides and open at one. But ours has certain strong points not to be found in any other unoccupied lot in town. Besides, there are other reasons why it would not answer for us; but if our lot was right for it, and if we wanted so large a house, how I should enjoy building it!"
"I don't see anything so very remarkable about the plan," said Jack, taking up the drawings.
"My dear, short-sighted husband," said Jill with the utmost impressiveness of tone and manner, "it is a one-story house. 'There shall be no more stairs' sounds almost as delightful as the scriptural promise of no more sea. And look at the plan itself: The great square vestibule, or reception-room, with the office at one side—wouldn't you enjoy that, Jack?—then a few steps higher the big keeping-room, with a huge fireplace confronting you, and room enough for—anything. For games, for dancing, for a billiard table, for a grand piano, for a hammock—or—"
"Say a sewing machine, a spinning-wheel or something useful."
"Anything you like, a studio or a picture gallery, for it is twice as high as the other rooms, and lighted from the roof. At the right of this, and with such a great wide door between them that they seem like two parts of the same room, is the sitting-room, with another great fireplace in the corner, bay window and a conservatory fronting the wide entrance to the dining-room, at the farther end of which there is still another grand fireplace, with a stained-glass window above it. These three rooms—four, if we count the conservatory—are just as near perfection as possible. Then see the long line of chambers, closets and dressing-rooms running around the south and east sides, every one with a southern window, and all communicating with the corridor that leads from the keeping-room, yet sufficiently united to form a complete family suite. The first floor—I mean the one floor—is five or six feet from the ground, so there can be no dampness in the rooms—and just think what a cellar! Altogether too much for us."
"Indeed, there isn't. I'd have a bowling alley, a skating rink, a machine shop, a tennis court, and—a rifle range. Yes, it is a taking plan, but there are two things that I don't understand. How can you cover such a big box, and where is the cooking to be done?"
"The old rule of two negatives applies. Even a one-story house must have a roof, and the breadth of this makes a roof large enough to hold not only the kitchen but the servants' room on the same upper level."
"A kitchen up stairs!" exclaimed Jack, for once startled into solemnity.
"Aunt Melville considers this the crowning glory of the plan. Owing to this elevation of the cooking range there is no back door, no back yard, no chance for an uncouth or an unsightly precinct at either side of the house."
"That would be something worth living for. I think, Jill, we had better examine these plans a little farther."

"

he question of getting up stairs," said Jack, as they continued the
study of the one-story plan, "is at least an interesting one. It seems
to be accepted as a foregone conclusion that modern dwelling houses,
even in the country, where the cost of the land actually covered by the
house is of no consequence, must be two stories at least above the
basement; but I doubt whether this principle in the evolution of
domestic habitations is well established. Between the aboriginal
wigwam, whose first and only floor is the bare earth itself, and the
'high-basement-four-story-and-French-roof' style, there is somewhere
the happy medium which our blessed posterity—blessed in having had
such wise ancestors—will universally adopt as the fittest survivor of
our uncounted fashions. I fancy it will be much nearer to this
one-story house, with the high basement and big attic, than to the
seven-story mansard with sub-cellar for fuel and furnace. Still the
tendency during the last fifty years has been upward. Our grandfathers
preferred to sleep on the ground floor; we should expect to be
carried off by burglars or malaria if we ventured to close our eyes
within ten feet of the ground. Our city cousins like to be two or
three times as high. Under these circumstances building a one-story
house would be likely to prove a flying-not in the face of Providence,
but, what is reckoned more dangerous and discreditable—flying in the
face of custom. Humility isn't popular in the matter of
house-building."
"I am not afraid of custom, and have no objection to a reasonable humility," said Jill, "but I never once thought of burglars. If a house has but one floor I think it should be so for from the ground as to be practically a 'second' floor. The main point is to have all the family rooms on one level."
"That is, a 'flat.'"
"Yes, one flat; not a pile of flats one above another, as they are built in cities, but one large flat raised high enough to be entirely removed from the moisture of the ground, to give a pleasant sense of security from outside intrusion and to afford convenient outlooks from the windows. One or two guest rooms, that are not often used, might be on a second floor, under the roof, if there was space enough."
"But this plan has the servants' chambers, the kitchen and the store closets all in the roof. Isn't that rather overdoing the matter?"
"Better in the attic than in the basement. It is light, dry and 'airy.' There is no danger that the odors of cooking will come down, and as for the extra trouble, a well-arranged elevator will take supplies from the basement up twenty feet to the level of the kitchen, store-rooms and pantries as easily as they could be taken the usual distances horizontally. In brief, a kitchen above the dining-room is at worst no more 'inconvenient' than below it. Of course, there must be stairs even in a one-story house, but they would not be in constant use. Instead of living edgewise, so to speak, we should be spread out flatwise. We could climb when we chose, but should not of necessity be forever climbing. Yes, I like this plan exceedingly, not alone for its one principal floor, but I have always had a fancy for the 'rotunda' arrangement—one large central apartment for any and all purposes, out of which the rooms for more special and private uses should open. Indeed, I don't see how a very large house can be built in any other way without leaving a considerable part of the interior as useless for domestic as Central Africa is for political purposes. With this arrangement the central keeping-room, lighted from above, may be as large as a circus tent, and all the surrounding cells will be amply supplied with light and air from the outside walls.
"According to Aunt Melville's enthusiastic account, the construction of the house is but little less than marvelous. 'The high walls of the basement are built of those native, weather-stained and lichen-covered boulders, the walls above being of a material hitherto unknown to builders. You will scarcely believe it when I tell you they are nothing else than the waste rubbish from brickyards, the rejected accumulations of years—not by any means the unburned, but the overburned, the hard, flinty, molten, misshapen and highly-colored masses of burned clay which indeed refused to be consumed, but have been twisted into shapeless blocks by the fervent heat. Of course, with such unconventional materials for the main walls it would be a silly affectation to embellish the exterior of the house with elaborate mouldings or ornamental wood-work, and the visible details are therefore plain to the verge of poverty. But as men of great genius can disregard the trifling formalities of society, so there are no architectural rules which this house is obliged to respect.'"
"That suits me perfectly," said Jack; "but I am amazed at Aunt Melville. Never before did she make such a concession even to great genius. Never before have I felt inclined to agree with her; but the conviction has grown upon me of late that the new house is in danger of being too much like other houses. If a fellow is really going in for reform, I like to have him go the whole figure. What do you say to beginning anew and building such a house as no mortal ever built before—something to make everybody wonder what manner of people they are who live in such a habitation—something to convince our neighbors that we are no weak-minded time-servers, but are able to be an architectural as well as domestic law unto ourselves—something to make them stop and stare—a sort of local Greenwich from which the community will reckon their longitude—'so many miles from the house that Jill built'?"
"My dear, did it ever occur to you that you cannot be too thankful for a wife who is not blown about by every wind of new doctrine? I do like the plan of 'The Oaks' exceedingly, not only for itself, but for the spirit of it, for its breadth and freedom. It seems to me a charming illustration of the true gospel of home architecture. There is no thoughtless imitation of something else that suits another place and another family. Neither does it appear that the owner tried to make a vain display for the sake of 'astonishing the natives.' He knew what he wanted, and built the house to suit his wants, using the simplest, the cheapest and the most durable materials at hand in the most direct and unaffected manner. Did you notice in the sketch of the keeping-room fireplace the little gallery passing across the end of the room above the entrance to the sitting-room? Probably you thought that was built for purely ornamental purposes, but it isn't. It is simply the walk from the kitchen to another part of the attic, which can be most conveniently reached by this interior bridge. Of course it adds to the interest and beauty of the room, but it was not made for that purpose, and, as I understand the matter, it is all the more beautiful because it was first made to be useful. There is another thing in this house—the elevator—which, queerly enough, we do not often find in houses of more aspiring habit, where it would he of even greater value. It is amazing to me that housekeepers will go on tugging trunks, coal-hods and heavy merchandise of all kinds up stairways, day after day and year after year, when a simple mechanical contrivance, moved by water, or weights and pulleys, would save us from all these heavy burdens. Think of the bruised knuckles, the trembling limbs that stagger along with the upper end of a Saratoga 'cottage,' the broken plastering at the sides, the paper patched with bright new pieces that look 'almost worse' than the uncovered rents, and the ugly marks of perspiring fingers."
"All of which I have seen and a part of which I have been," said Jack. "I intended to have a lift in this house, but somehow it was left out."
"Our architect." Jill continued, "must be instructed to arrange not only an easy staircase, but there must be a paneled wainscot at the side. We will dispense with elegance in any other quarter, if need be, in order to have the stairs ample, strong and well protected. I am not over-anxious to have them ornate, although handsome stairs are very charming if well placed; like many other beautiful things, they become incurably ugly when too obtrusive. The architect has sent several designs of balustrades from which we are to choose, and gives this advice about the dimensions: 'As you have plenty of room, the staircase should be four or four and a-half feet wide, so that two people can easily walk over it abreast, I have arranged to make the steps twelve inches wide, besides the projection that forms the finish—the "nosing"—and six inches high; that is, six inches "rise" and twelve inches "run." Some climbers think this too flat, and perhaps it is in certain situations; but for homes, for easy, leisurely ascent by children and old folks. I think it better than a steeper pitch. All large dwelling-houses, and some small ones, ought to be supplied with "passenger elevators," at least from the first to the second story. Those who take the rooms still higher are usually able to make the ascent in the common way. Such an elevator can undoubtedly be made that will be safe and economical, especially where there is an ample water supply.'"
"The safety is the most troublesome part of the problem," said Jack; "and I can think of no way to overcome the danger of walking off the precipice, when the platform happens to be at the bottom, but by having the car run up an inclined plane. There would be no more danger of falling down this than down a common stairway, and the car might be fixed so it couldn't move up or down faster than a walk or a slow trot."
"Would you like to experiment in the new house? You may do so—at your own expense—if you will promise not to spoil the plan. Among the designs for the stairs there is one that will be of no service to us—the screen at the foot of the stairs; our 'reception' hall will be separated from the staircase hall by the chimney and the curtains at the sides."
"I have an idea," exclaimed Jack, "a truly philanthropic one. You know we are accumulating a large stock of plans, to say nothing of general information on architectural subjects, which we cannot possibly use ourselves, but which ought not to be wasted. Now you know Bessie is pining for a mission.".
"Bessie has gone home."
"I know, but she will come back if we send for her and tell her that she and Jim are to be sent out in the express wagon on a benevolent expedition to the heathens—the uncultured domestic heathens. We can have some of the architect's letters printed in tract form for them to distribute, and they can take along these superfluous plans to be applied where they will be most effective. Take, for instance, this hall screen, or whatever it may be, with the square staircase behind it. This would be just the thing for one of those old-fashioned square houses with the hall running through the middle and the long staircase splitting the hall in two lengthwise. If Bessie could persuade the owner of a single one of these old houses to take out the straight and narrow stairs, move them back, and, by introducing this semblance of a separation, make a reception hall of the front part, she would feel that she had not lived in vain. If she could at the same time cause cashmere shawls and rag carpets to be hung as portières in place of doors to the front rooms she would be ready for translation."
Jill laughed. "I'm not sure," said she, "but this is a good field for people of missionary proclivities. Some of these old-fashioned houses have far more real, artistic excellence than those of the later, transition periods, and need but slight alterations to be most satisfactory types of architectural beauty as well as models of comfort and convenience. Broad, easy stairs, wide doorways and generous windows, with ample porches and piazzas outside, would transform them and make them not merely as good as new, but vastly better. Reopening fireplaces that have been ignominiously bricked up would be another promising field."
"Oh! I tell you my idea is a capital one. I'll send for Bess this very day. They shall have Bob and the express wagon a week if they want it. They shall dispense an esthetic gospel and accumulate ancient bric-a-brac to their hearts' content. Bessie will be in ecstacies, and Jim will be in a helpless state of amazement and admiration."
"How perfectly absurd, Jack! I wouldn't allow those children to go off on such an excursion for all the old houses in America. One would think you were determined to have an esthetic sister-in-law at all hazards."
"Never thought of such a thing! But now that you suggest it—"
"I haven't suggested it," said Jill indignantly.
"Well, you put it into my head at all events, and really now it wouldn't be such a bad idea. Jim is behind the times, artistically speaking, and needs to be waked up; and as for Bess, she would very soon learn to be careful how she expressed a longing for the unattainable, for Jim is a practical fellow, and whatever she wanted he would go for in a twinkling. Honestly, Jill, it strikes me as a first-class notion, and I'm glad you suggested it."
"I didn't suggest it, and I think it would be a dreadful thing—I mean to send them off on another excursion. I am not sure, however, but we might found an A.B.C.A.M. with the materials and implements in our possession."

ack's benevolent ambition to distribute their superfluous plans among
those in need of such aids was strengthened by the receipt of another
roll of drawings, showing designs for the interior work, wainscots,
cornices, architraves, paneled ceilings and such wood finishings as are
commonly found in houses that are built in conventional fashion, with
lathed and plastered walls, trimmed at all corners and openings with
wood more or less elaborately wrought. Of course, it was a large
condescension in the architect to offer such a variety, and contrary to
his avowed determination to decide without appeal all questions of
construction and design, but he appreciated his clients and knew when
to break his own rules and when to insist upon their observance. If
Jill, had required an assortment he would doubtless have suggested that
certain "practical" builders could furnish a full line of ready-made
"artistic" patterns for little more than the cost of the paper on which
they were printed; from these he would have advised her to select her
own designs, as she might have chosen from a medicine chest
sweet-smelling drops or sugar-coated pills of varying hue and
form—the result would doubtless he as satisfactory in one case as in
the other. Since she had not demanded it as an inalienable right he
gave her an opportunity to criticise and select, which she accepted by
no means unwillingly. As a rule, the designs were, in her opinion, too
elaborate and obtrusive. There were too many mouldings, there was too
much carving, and too evident a purpose to provide a finish that should
challenge attention by its extent or elegance. It would require too
much labor to keep it in order, and—it would cost too much. If she
could not have work that was truly artistic, and therefore enduringly
beautiful, whatever changes of fashion might occur, it was her wish to
keep all the essential part of the building and finish modestly in the
background, not attempting to make it ornamental, but relying upon the
furniture for whatever conspicuous ornament or decoration might be
desired. Nothing annoyed her more than an elegantly-finished house
scantily provided with shabby, incongruous and misapplied furniture.
The amiable concession of the architect came near causing a fatal
quarrel, as amiable concessions are apt to do, for he found it almost
impossible to satisfy Jill's taste in the direction of simplicity; he
seemed to feel that he was neglecting his duty if he gave her plain,
narrow bands of wood absolutely devoid of all design beyond a
designation of their width and thickness. Any carpenter's boy could
make such plans. "It would be worse," he wrote, "than prescribing bread
pills and 'herb drink' for a sick man." To which Jill replied in
substance that the needs of the patient are more important than
professional rules.
Over the first great question, regarding the visible wood work of the interior, Jack and Jill had held many protracted discussions: should any of it be painted, or should all the wood be left to show its natural graining and color? To the argument that unpainted wood is not only "natural" but strictly genuine and more interesting than paint, Jack replied that "natural" things are not always beautiful; that paint, which makes no pretense of being anything but paint, is as genuine as shellac or varnish, and that if the object is to be interesting, the bark, the knots, the worm-holes, and, if possible, the worms themselves should be displayed. "Besides," said he, "if we decide on hard wood, who shall choose the kinds? There's beech, birch and maple; cherry, whitewood and ebony; ash and brown ash and white ash and black ash; ditto oak, drawn and quartered; there's rosewood, redwood, gopherwood and wormwood; mahogany, laurel, holly and mistletoe; cedar of Lebanon and pine of Georgia, not to mention chestnut, walnut, butternut, cocoanut and peanut, all of which are popular and available woods for finishing modern dwellings. If we choose from this list, which may be indefinitely extended, the few kinds for which we can find room in our house, we shall be tormented with regret as long as we both do live because we didn't choose something else. Now if we paint, behold how simple a thing it is! We buy a lot of white pine boards, put them up where they belong and paint them in whatever unnamable hues the prevailing fashion may chance to dictate. Our boards need not even be of the best quality; an occasional piece of sound sap, a few hard knots, or now and then a 'snoodledog'—as they say in Nantucket—would do no harm. A prudent application of shellac and putty before painting will make everything right. Then if the fashions change, or if we should be refined beyond our present tastes and wish to go up higher, all we should need to lift the house to the same elevated plane is—another coat of paint. On the other hand, if we had a room finished in old English oak, growing blacker and blacker every year; in mahogany or in cheap and mournful black walnut, what could we do if the imperious mistress of the world should decree light colors? With rare, pale, faded tints on the walls our strong, bold, heavy hard-wood finish would be painful in the extreme. We couldn't change the wood and we couldn't change the fashion."
"If you were not my own husband, Jack, I should say you were dreadfully obtuse. Concerning fashions in house-building and furnishing I feel very much as Martin Luther felt about certain, formal religious dogmas. If we are asked to respect them as a matter of amiable compliance, if we find them convenient, agreeable and at the same time harmless, then let us quietly accept them; but, if we are commanded to obey them as vital, if they are set before us as solemn obligations to be reverenced as we reverence the everlasting truth, then, for Heaven's sake, let us tear them in pieces and trample them under our feet, lest we lose our power to distinguish the substance from the shadow. The moment any particular style of building, finishing or furnishing becomes a recognized fashion, that moment I feel inclined to turn against it with all my might."
"If you were not my own idolized wife, I should say that was 'pure cussedness.'"
"On the contrary, it is high moral principle; that is, moral principle applied to art. It is a simple, outright impossibility for human beings to have any true perception of art while a shadow of a thought of fashion remains. It is, indeed, possible that fashion may, for a moment, follow the straight and narrow road that leads to artistic excellence, as the fitful breath of a cyclone may, at a certain point in its giddy whirl, run parallel with the ceaseless sweep of the mighty trade-winds, but whoever tries to keep constantly in its track is sure to be hopelessly astray."
"My dear, indignant, despiser of fashion, you know you wouldn't wear a two-year-old bonnet to church, on a pleasant Sunday morning, for the price of a pew in the broad aisle."
"Certainly not; that would be both mercenary and irreverent; moreover, my bonnet has nothing to do with artistic rules. It is not a work of art or of science, of nature or of grace. It is a conventional signal by which I announce a friendly disposition toward the follies of my fellow-creatures—a sort of flag of truce, a badge of my conformity in little things. I wear it voluntarily and could lay it aside if I chose."
"Undoubtedly, if you chose. Now, let us resume the original discussion. I had given one powerful argument in favor of paint when I was rashly interrupted: here is another—it is much cheaper."
"That would depend," said Jill. "Ash, butternut, cherry and various other woods cost little, if any more, than the best pine, and the pine itself is very pretty for chambers."
"Ah, but you forget the labor question. It is one thing to join two pieces of wood so closely as to leave no visible crack between them, and quite another to bring them into the same neighborhood, fill the chasm with putty and hide the whole under a coat of paint. The difference between these two kinds of joints is the difference between one stroke and two, between one day's work and five days, between one thousand dollars and five thousand. My third argument you will surely appreciate. Paint is more artistic." Here Jack paused to give his words effect; then proceeded like one walking on stilts. "Pure tones symphoniously gradated from contralto shadows to the tender brightness of the upper registers and harmoniously blended with the prevailing quality—"
"Oh, Jack! Don't go any farther, you are already beyond your depth. When you attempt to quote Bessie's sentiments you should have her letter before you. Perhaps I have a dim perception of the principle that underlies your thirdly. If so, this room is a pertinent illustration of it. Instead of all this white paint, if the wood work had been colored to match the predominant tint in the background of the paper, or a trifle darker, this being also the general 'tone' of the carpet, it is easy to see how the coloring of the room would have been simple and pleasing, instead of glaring and ugly. Yes, your plea for paint is not without value. I think, however, it would be entirely possible to stain the unpainted wood to produce any desired symphony, fugue or discord. It might be unnatural, especially if we wished to look blue, but it would not conceal the marking and shading of the grain of the wood which is so much prettier than any moulding or carving, and vastly easier to keep in order. Your economical arguments are always worth considering. I think the happy compromise for us will be to use hard wood in the first story and painted pine in the chambers, with various combinations and exceptions. The bath-rooms, halls and dressing-rooms of the second story should of course be without paint, and we may relieve the solid monotony of the hardwood finish with occasional fillets or bands of color, painted panels or any other irregularities we choose to invent. But this is invading the mighty and troublous realm of 'interior decoration,' from which I had resolved to keep at a respectful distance until the house is at least definitely planned in all its details."
A wise decision, for although what we call in a general way "interior decoration" is closely allied to essential construction—not infrequently seems to be a part of it—there is still a sharp though often unseen line between them that cannot be crossed with impunity. Artistic construction is at best only second cousin to decoration, and while we may in building arrange to accommodate a certain style of furniture or ornament, as Bessie's friend built her parlor to suit the rug, the result of such contriving is apt to be discouraging if not disastrous.
"Two things we must surely have," said Jill, "which the architect has not sent; one, an old fashion, the other, a new one. We must have 'chair rails,' in every room down stairs that has not a solid wainscot, if I have to make the plans and put them up myself. We must also have another band of wood higher up entirely around every room in both stories, to which the pictures can be hung."
"Perhaps the architect will object to this as interfering with his plans."
"He cannot, for they belong to our side of the house; they are matters of use, not of design. He may put them where he pleases, within reasonable limits, and make them of any pattern, with due regard to cost. He may treat one as part of the dado, the other as a member of the cornice, if he chooses, but we must have them—they are indispensable."
"They are also dangerous, because they are fashionable."
"Yes, an illustration of the temporary agreement of fashion and common sense. But things of real worth do not go out of fashion; fashion goes out of them; henceforth they live by their own merit and no one questions their right to be."
"Have you written to Bessie?"
"Written to Bessie? What for?"
"Why, to come and get ready to start on her mission."
"No, indeed; I supposed you had forgotten that absurd notion."
"Not at all absurd. I mentioned it to Jim, and he was delighted. Offered to go up and escort her down. He said they could go out in a different direction every day and do a great deal of good in the course of a week."
"Jack, I am ashamed of you! Don't mention the subject to me again."
"What shall I say to Jim?"
"You needn't say anything to Jim. Tell him I am going to invite Bessie to visit us in the new house, and if he is in this part of the world I will send for him at the same time."
"And that will be a full year, for the house is hardly begun."
"Yes, a full year."

t was indeed a full year for Jill before Bessie received the promised
invitation. Not merely full as to its complement of days, but full of
new cares, interests and activities. It is needless to say it was also
a happy year. Building a house for a home is a healthful experience, a
liberal education to one who can give personal attention to it; who has
some knowledge of plans with enough imagination to have a fair
conception of what they will be when executed; who is content to
receive a reasonable return for a given outlay, not anxious to get the
best end of every bargain, nor over-fearful of being cheated; who cares
more for home comfort than for a fine display, and whose soul is never
vexed by the comments of Mrs. Grundy, nor tormented by the decrees of
fashion.
The question was raised, whether the house should be built by contract or by "day's work." The worldly-wise friends advised the former. Otherwise they affirmed the cost of the house would exceed the appropriation by fifty, if not a hundred, per cent., since it would be for the interest of both architect and builders to make the house as costly and the job as long as possible. And, while it was doubtless true that "day work" is likely to be better than "job work," still, if the plans and specifications were clearly drawn and the contract made as strong as the pains and penalties of the law could make it, the contractor might be compelled to keep his agreement and furnish "first-class" work.
Jill's father settled this point at once. "It is true," said he, "that the plans and specifications should be clearly drawn, that you may see the end from the beginning, and it will be well to carefully estimate the cost, lest, having begun to build, you should be unable to finish. But I am neither willing to hold any man to an agreement, however legal it may be, that requires him to give me more than I have paid for, nor, on the other hand, do I wish to pay him more than a fair value for his work and material. You cannot avoid doing one of these two things in contracting such work as your house, for it is impossible to estimate its cost with perfect accuracy, and no specifications, however binding, can draw a well-defined line between 'first' and 'second'-class work. A general contract may be the least of a choice of evils in some cases; it is not so in yours. If you know just what you want, the right mode of securing it is to hire honest, competent workmen and pay them righteous wages. If, before the work is completed, you find the cost has been underestimated, stop when your money is spent. It may be mortifying and inconvenient to live in an unfinished house; it is far more so to be burdened with debt or an uneasy conscience. There is another thing to be remembered: We hear loud lamentations over the dearth of skillful, trusty laborers. There is no way of promoting intelligent, productive industry—which is the basis of all prosperity—but by employing artisans in such a way that the personal skill and fidelity of each one shall have their legitimate reward. The contract system, as usually practiced, acts in precisely an opposite direction. Your house must be built 'by the day' Jill, or I shall recall my gift." That question was settled. The good and wise man had previously decided as peremptorily an early query relating to the plans. When it was known that a new house was to be built, several architects, with more conceit than self-respect, proposed to offer plans "in open competition"—not to be paid for unless accepted—concerning which Jill had asked her father's advice.
"What should you think of a physician," said he, "who, on hearing that you were ill, should hasten to present himself with a prescription and a bottle of medicine, begging you to read the one, test the other, and, if they made a favorable impression, give him the job of curing you? There are such who call themselves physicians; other people call them quacks, and there is one place for their gratuitous offerings—the fire. I shall burn any plans that are presented in this way. Choose your architect at the outset, and give him all possible aid in carrying out your wishes, but do not employ one of those who must charge a double price for their actual work in order to work for nothing half the time. In any other business such a practice would be condemned at once."
"Isn't it the same thing as offering samples of goods?"
"No, it is offering the goods themselves—the top of the barrel at that."
Of course this did not apply to the contributions that were prompted by personal friendship, of which Jill, as we have seen, received her full share, none of them, excepting the one-story plan, proving in the least tempting.
As the race of competent, industrious mechanics is not yet extinct, whatever the croakers may say such were found to build the house, which was well closed in before winter. The walls and roof were completed and the plastering dried while the windows could be left open without danger of freezing, a most important thing, because although mortar may be kept from freezing by artificial heat, the moisture it contains, unless expelled from the house, will greatly retard the "seasoning" of the frame and the walls of the building. After it has all been blown out of the windows, if the house is kept warm and dry the fine wood-finishing will "keep its place" best if put up in winter rather than in summer. For the most carefully seasoned and kiln-dried lumber will absorb moisture so rapidly in the hot, steaming days of June and in the damp dog-day weather that no joiner's skill can prevent cracks from appearing when the dry furnace heat has drawn the moisture from its pores.
One year is a reasonable length of time for building a common dwelling-house. Twelve months from the day the workmen appeared to dig the foundation trenches the last pile of builder's rubbish was taken away and the new, clean, bright, naked, empty house stood ready for the first load of furniture. If the social and domestic tastes of Jack and Jill have been even slightly indicated, it is unnecessary to say that this first load did not consist of the brightest and best products of the most fashionable manufacturers. Aunt Melville had sent a few ornaments and two or three elegant trifles in the way of furniture, a chair or two in which no one could sit without danger of mutual broken limbs, and a table that, like many another frail beauty, might enjoy being supported but could never bear any heavier burden than a card-basket, and was liable to be upset by the vigorous use of dust-brush or broom. "They will help to furnish your rooms," said the generous aunt, "and will give a certain style that cannot be attained with furniture that is simply useful."
The ornaments that were ornamental and nothing more Jill accepted gratefully. The furniture that must be protected to preserve its beauty, and generally avoided lest it should be broken, she returned, begging her aunt to give it to some one having a larger house.
On one of those perfect days that are so rare, even in June, Bessie appeared in all the glory of the lilies. To Jill's surprise, her first remark after the customary effusive greeting was, "How lovely it is to have a home of your own. I shouldn't care if it was made of slabs and shaped like a wigwam. Of course, this house is exquisite. I knew it would be, but it is ten times as large as I should want. It will be so much work to take care of it."
"I don't expect to take care of it alone."
"I know you don't, but I should want to take care of my own house, if I had one, every bit of it. Oh, you needn't look so amazed. I know what I am saying. I have learned to cook, and dust, and sweep, and kindle fires, and polish, silver, and—and black stoves!"
No wonder Jill was dumb while Bessie went on at a breathless rate.
"And do you know, Jill dear, I wouldn't take this house if you would give it to me. There! I would a thousand times rather have a little bit of a cottage, just large enough for—for two people, and everything in it just as cosy and simple as it could be. Then we—then I could learn to paint and decorate—I've learned a little already—and embroider and such things, and slowly, very slowly, you know, I would fill the house with pretty things that would belong to it and be a part of it, and a part of me, too, because I made them."
"Wouldn't it be much cheaper and better to hire some skillful artist to do these things?" said Jill, taking refuge in matter-of-fact.
"If I hired any one of course it would be an artist, but our homes are not dear to us because they are beautiful, it is because they are ours, because we have worked for them and in them until they are a part of ourselves. I love artistic things as well as I ever did, but there are some things that are ten thousand times lovelier."
Before Jill had recovered from her astonishment at Bessie's transformed sentiments or imagined their cause, who should drive up but Aunt Jerusha. She and Bessie had never met before, but the mysterious laws of affinity, that pay no regard to outward circumstances or expectations, brought them at once into the warmest sympathy. Jill had provided extremely pretty china for her table, and for Bessie's sake had brought out certain rare pieces not intended for every-day use. It was contrary to her rule to make any difference between "every-day" and "company days." "Nothing is too good for Jack," was the basis of her argument. The one exception was china. But Bessie was absolutely indifferent to the frail and costly pottery. She was intent on learning domestic wisdom from Aunt Jerusha, and insisted upon writing in her note-book the recipes for everything she ate and recording the rules for carrying on whatever household matters chanced to be mentioned, from waxing floors to canning tomatoes. Jack strove to enliven the conversation by throwing in elaborate remarks upon the true sphere of women, the uncertainty of matrimonial ventures and the deceitfulness of mankind in general. Jill meanwhile preserved her equanimity upon all points relating to her house. She admitted the force of Aunt Jerusha's suggestion that a portion of the long serving-table in the kitchen should be movable and a door made from kitchen to china-closet, to be kept locked, as a rule, but available in an emergency, when one or both servants were sick or discharged; she appreciated her advice to form the habit of washing the silver and fine glasses with her own hands before leaving the table; she was able to repeat her favorite recipes correctly; she carved gracefully, as a lady ought, and gave due attention to her guests. Beyond these duties she was in a state of bewilderment. What had happened to Bessie, and what new mischief Jack was incubating were puzzles she could neither solve nor dismiss.
By one of those coincidences, not half as rare as they seem, at four o'clock the same day Aunt and Uncle Melville appeared upon the scene. They were spending a short time at a summer hotel in the vicinity, and Jill persuaded them to stay for tea, sending their carriage back for Cousin George and his wife, who were at the same place. She also invited her father and mother to improve the opportunity to make a small family gathering. "I suppose you know Jim is coming over this evening," said Jack. "Don't you think he had better bring Uncle Harry along?"
"I didn't know Jim was coming, but he is always welcome, and Uncle Harry too. Your father and mother, of course, if they are able to come out this evening."
"Oh, they are coming, anyway," Jack began and stopped suddenly. "That is, I mean, certainly they will be delighted, if you send for them."
Jill was more puzzled than ever, but they all came.
"Now, you will please consider yourselves a 'board of visitors,'" said she, as they sat at the table after tea, "authorized to inspect this institution and report your impressions."
"Remembering that Jill is the warden and I am the prisoner," said Jack.
"But you must conduct us to the cells," said her father, rising, "and tell us what to admire."
Jill accordingly began at the beginning. She showed them the light vestibule, with a closet at one side for umbrellas and overshoes, and a seat at the other; the central hall that would be used as a common reception-room, and on such occasions as the present, would become a part of one large apartment—the entire first floor of the main house; the staircase with the stained-glass windows climbing the side; the toilet-room from the garden entrance and the elevator reaching from the basement to the attic. She showed them the family suite of rooms; her own in the southeast corner, with the dressing-room and adjoining chamber toward the west, and Jack's room over the front hall, with the large guest-room above the dining-room. She urged them to count the closets and notice their ample size; referred with pride to the servants' rooms, and explained how there was space in the roof for two chambers and a billiard-room, if they should ever want them. With true housekeeper's pride she declared the beauties and wonders of the kitchen arrangements, a theme that had been often rehearsed, and from the kitchen they descended to the basement, which contained the well-lighted laundry, the servants' bath-room and store-rooms without name or number; some warm and sunny, others cool and dark, but all dry and well ventilated.
Then they returned to the drawing-room to make their reports.
"It's too large," said Bessie.
"It isn't small enough," said Jim.
"The third floor is not the proper place for a billiard-table," remarked Uncle Melville, sententiously. "It is too remote for such a social pastime; too difficult of access; too—too—er—"
"The house looks smaller than it is," said Aunt Melville, "which I consider a serious defect. It ought to look larger; it should have a tower, and the front door should be toward the street."
"Your chambers are excellent," said Uncle Harry. "The personality of human beings should be respected. The chief object of home is to give to each individual a chance for unfettered development. Every soul is a genius at times and feels the necessity of isolation. Especially do we need to be alone in sleep, and to this end every person in a house is entitled to a separate apartment. I commend the family suite."
"A nobby house," said Cousin George.
"I like our own better," said his wife, sotto voce, which was a worthy sentiment and should have been openly expressed. Fondness for our own is the chief of domestic virtues.
"Is it paid for?" inquired Jack's father. To which Jack replied:
"It is: and the house that I built is sold to the most stylish people you ever saw. They paid me more than this cost, but I wouldn't swap with them for a thousand dollars to boot."
"No; neither would they change with us for two thousand."
Just as the clock struck nine the door-bell rang and the rector and his wife were announced. Before Jill could realize what was taking place she found herself an amazed and helpless spectator in her own house, for Jim and Bessie stood side by side under the curtains leading to the library, and the rector was reading the solemn marriage service. By way of calming her excitement Jack found a chance to whisper to Jill,
"They have been engaged six months."
"You unnatural husband! Why didn't you tell me?"
"Didn't know it myself till this afternoon."
There was no time for further explanations, for the good rector was saying: "I am sure you will agree with me that building and cherishing a consecrated home is the noblest work we can do on earth. From such homes spring all public and private excellence, all patriotic virtues, all noble charities and philanthropies, all worthy service of God and man. Whether high or low, rich or poor, in all times and in all places, domestic life, in its purity and strength, is the safeguard of individuals and the bulwark of nations. And when, in after years, other solemn sacraments shall be performed beneath this roof, may it still be found a sacred temple of peace and love!"
Bessie and Jim kept house in two chambers until a cottage of four rooms, with an attic and wood-shed, was finished, which happened before cold weather. Her wedding present from Jack was an express wagon full of obsolete household utensils. She had learned to make the fire in the kitchen, and nothing was more acceptable than such a load of dry kindling wood.
The house that Jill built cost ten thousand dollars. Jim's cost less than one thousand. Bessie declares that the smaller the house the greater the happiness it contains. She may be right, but Jill denies it, and it is never safe to draw general conclusions from special cases.

ack, Jr., and his sister Bessie, were building block houses on the
piazza. Jack was pretending to read the evening paper, in reality
watching the builders; and Jill was making no pretense of doing
anything else.
"Really Jack, I think Bessie shows more skill in building than her brother. Her houses look like realities, and they have more grace and dignity than his."
"Of course. Haven't I always said that women would make the best architects if they had a fair chance? Didn't you make the plans of this house? Hasn't it been all our fancy painted and a great deal more? There isn't a stick nor a stone, a brick nor a shingle that I would have changed if we were to build it again."
"And haven't I always said that men were more conservative than women? I would be glad to change everything there is in the house to build it all over again, and build it differently."
"Oh the inconstancy of women! Even the moon is more constant, for her changes are only superficial and temporary."
"When I say; 'I have changed my mind,' it is only another way of saying, 'I am wiser to-day than I was yesterday.'"
"I understand; what a Jacob's ladder of wisdom you must be! All right; change your mind every day, grow wiser and wiser; I will try to keep the hem of your garments in sight."
"Have you selected a lot?"
"What for?"
"For a new house."
"Bless you, my dear husband, I wouldn't build another house, still less live in it, for all the wealth of the treasury vaults. Isn't this our own? Hasn't it always been perfectly suited to our wants? What upon earth are you thinking of?"
"Oh, nothing in particular. I never think if I can help it. I have heard that a man ought always to build two houses, one to learn how, the second to correct the mistakes of the first. I thought perhaps it was the same way with women."
"This house was exactly right when it was built, it could not have been improved, but that was ten years ago, and a great many things have happened in the last ten years; but, then, a great many more will happen in the next ten, and ten years hence there will be just as many things to change in the houses that are built this year as there are now in those that are of the same age as ours."
"But how would you change this house if it could be done by a magic wand or by the exercise of faith, and without raising a speck of dust or upsetting the housekeeping affairs for a single minute?"
"I would make it larger for one thing. Our rooms are too small. The number of rooms a house contains should depend on the number of people there are to live in it, including all the children, the guests and the servants, with a certain allowance for contingencies."
"Depending on the hospitality of the family."
"Yes; and whatever the number of rooms, they should be large enough, not merely to hold the occupants when the doors are shut, but for comfortable living and moving about. There is nothing in which all men and women are more conservative than in the planning of their houses; there seems to be something hereditary about it, as difficult to change as a tendency to bald heads and awkward locomotion. Americans are special sufferers in this respect. The primitive Anglo-American home was only a step removed from the wigwams of the aboriginal savages, in size, shape and general accommodations. Even our English ancestors, from whom we derived some of our domestic notions, were not accustomed to anything magnificent in the way of dwellings. The climate was against them, and they were not sufficiently luxurious in their tastes. Their houses were primarily places for shelter and refuge. In summer they lived out of doors, and in winter they crept into close quarters and waited for warm weather. With plenty of land and building materials to be had for the taking, our colonial grandfathers should have had the most generous homes in the world."
"Yes; and to judge by some of the old colonial mansions which have escaped the 'making-over' vandals we have been going backwards in that respect during the last fifty or a hundred years."
"Yes; and we ought to have been going the other way, for the size of rooms should increase as the cost of furniture diminishes. Take for instance, a parlor or sitting room fifteen feet square, which is, I believe, about the orthodox size for a modern house. Give such a room a dozen straight-backed and straight-legged chairs ranged along the sides, a table in the center of the room with a green cover and four books on it, two or three unhappy-looking family portraits on the walls, a pair of brass candlesticks on the high, wooden mantel, a pair of bellows, a shovel and tongs, with, perhaps, in the way of luxury, a haircloth sofa. Now compare the room furnished in that way, which was by no means uncommon in the days of our grandfathers with a room of the same size, in which are stored half a dozen chairs, no two alike, and some of them as large as small lounges, a center table piled with books and magazines and photographs, till like a heap of jack straws, it is impossible to remove one without disturbing the whole pile; a lounge with a back, a divan or something without a back, an upright piano, two or three bookcases, several small stools and piles of Turkish cushions to catch the unwary, huge Japanese vases beside the fireplace, a leopard skin with a solid head in front of the table, and a sprinkling of Persian rugs spilt over the floor; a cabinet of bric-a-brac in the northeast corner, a 'whatnot' with a big jardiniere bearing a three-foot palm on the top story in the northwest, a carved bracket with a sheaf of Florida grasses in the southeast, and a tall wooden clock that won't go in the southwest; a brass tea kettle hanging from a wrought iron frame beside a fragile stand that carries a half dozen of still more fragile 'hand-painted' teacups and saucers; lambrequins and heavy curtains at all the windows and most of the doors, a big combination gas and electric chandelier suspended from the center of the ceiling, bedangled with jumping jacks, Christmas cards, straw ornaments and other artistic 'curious'; one or two small tables scattered 'promiscous like' about the room; a music stand and a banjo; with photographs, chromos, oil paintings, water colors and etchings, from one to three feet square, in gilt, enameled and wooden frames of all styles and degrees of fitness on the walls of the room,—take a room furnished in this way or a great deal more so, and compare it with another of the same actual dimensions furnished in the old-fashioned way and see which is the larger. The modern furnishing may be 'cozy,' oppressively cozy when there are half a dozen people trying to move gracefully around and between it without upsetting or destroying anything, but what sort of hospitality can we offer our guests if they must be always afraid of breaking something valuable if they stir?"
"Why not have a bonfire and liquidate some of this superfluous stock?"
"It is not superfluous; all these things, if they are good add to the enjoyment of living, if we have room for them and are able to take good care of them without neglecting weightier matters. Our own rooms are not large enough. However, if we cannot enlarge them we can build new ones for special purposes. For one, we must have a children's workroom. If Jack is going to be an artist, and you know he shows decided talent, and Bessie an architect, there's no doubt of her having real genius in that direction, they should have one room immediately, and two by and by, for their own exclusive use. A room where they could keep all their books, and tools and toys, and where they could work in their own spontaneous, untrammeled way."
"You mean a nursery."
"No, I do not mean a nursery, but a workshop, study, gymnasium, call it anything you please. The floor should be smooth and hard, and the walls should be wainscoted with smooth, hard wood. There should be blackboards and shelves at the sides, and the children should be allowed to drive nails wherever they please. I am not sure but I would have a sink and a water faucet."
"Not unless the room is in the cellar or has a floor tight enough for a swimming tank. Well, what next?"
"We must have a hospital."
"For inebriates or the insane?"
"A room similar to the private wards in a hospital. You know our own and the children's sleeping rooms are very simply furnished, but a sick room should be still more severe. The children have both had the measles, thank goodness, and I hope they never will have smallpox, scarlet fever, or diphtheria, but if they should it would be necessary to send them away from home or run the risk of their exposing one another."
"You might as well include every other ill that flesh is heir to. If we have got to fight germs day and night in order to live, the cleaner and more open we can keep the battle ground the better. It strikes me that it might be a good thing to have the whole house sort of clean and wholesome."
"Of course. But none of us would like to have the living rooms as absolutely bare of all superfluous furnishing as a hospital ward. We should not be willing to give up our rugs, take down the curtains, throw away the cushions and sit in hard wooden chairs."
"No, and I wouldn't like to burn my books, although there is nothing quite so 'germy' as my musty old books that were made in Italy in plague times and smell like the 16th century every time they are opened. So I suppose we must have a hospital for the children to be sick in, a workshop for them to work in, and what would you say to a small chapel and penitentiary, with a dungeon or two? While we are about it, let's have a market and cold storage annex."
"Precisely what I was going to suggest. It would be the easiest thing in the world to attach a small room to the cellar or the kitchen, where a low temperature can be kept at all times, either by ice or by the artificial refrigeration that will soon be distributed and sold in the same way that gas, water, steam, electric light and power are now furnished in many cities."
"I never thought of it before, but why shouldn't milk and beer and other medicinal drinks be distributed in the same way as water and gas?"
"Please don't interrupt me. These are really serious considerations. Why, Jack, we haven't begun to guess at the wonderful changes that are to be made in all our housekeeping affairs, as well as in everything else by electricity. In a few years we shall find our present cooking arrangements as much out of date as the old turnspit and tin ovens and the great wood fires on the hearth. And light! Our houses will be as light as day all the time, unless we choose darkness in order to sleep more comfortably."
"Or because our deeds be evil, or for the better accommodation of burglars. No self-respecting burglar would think of 'burgling' without a dark lantern."
"And heat; do you remember how something more than twenty-five years ago a French scientist proposed to supply all the heat needed for human comfort in cold climates directly from the sun's rays?"
"I can't say that I do remember that particular philosopher, but I have a notion that the sun was considered a fair sort of furnace a good many years before the first Frenchman was born."
"Yes, yes; but he was going to gather the sun's heat into such shape that it would warm our houses in winter, do all the cooking, take the place of all the steam boilers and furnaces. I never heard that his theories were reduced to practice, but we have found another source of light and heat that is already under our control. There is no more doubt that all the warmth, illumination and mechanical power that we can use are within our reach, when we have learned how to take possession of them, than there is of gravitation. It is all waiting at the door, we have only to clap our hands and the potent spirit is ready to do our bidding."
"Without money and without price?"
"No, not quite that, there are too many incorporated monopolies in the way. But it is coming nearer and nearer, and with the unlimited power of wind and waves and waterfalls, all these things will soon be as cheap as anything really worth having ought to be."
"Say, Jill, do you suppose we shall live to see all our necessities supplied, gratis, and have nothing to work for except the luxuries?"
"We have lived long enough to find that for most people in our day and generation, even for those who think they have to work very hard 'just to get a living,' their most serious toil is to provide, what might be called, not the 'bare' necessities of life, but the well-dressed necessities. But it is time for those children to be in bed."
"
ow Jill," this was half an hour later, the children were asleep and
the gas was lighted, "let us by way of amusement draw plans of a castle
in Spain. Let us forget all the houses that ever were built and fancy
ourselves, not Adam and Eve, with the responsibility of setting the
housekeeping pace for the rest of the human family nor Robinson Crusoe,
whose domestic arrangements were somewhat handicapped, but a wise pair
of semi-Bourbons, at the end of the 19th century, who forget nothing
old but are willing to learn and adopt anything new, provided it is
good."
"All right; go ahead."
"In the first place our castle will not be destructible by fire or water. All the walls will be of masonry and the floor beams will be of steel. There will be nothing to invite moth or rust."
"Nor burglars; not so much as a silver spoon or a candlestick."
"I have always been sorry that the roof of this house was not fireproof, but I suppose it would have cost too much, though the architect said it might have been made like the floors if we would consent to have it flat."
"Moral: if you want a roof of the mountainous variety you must either pay for it or run the risk of being burned out on top. But what do castles in Spain care for the cost? We can have fireproof roofs in miniature copy of Alpine peaks or we can use them for billiard tables and croquet grounds."
"Really," Jill continued, "there is no good reason for steep roofs. Snow is more troublesome on the ground around the house than on top of it, if it will stay there, and a very slight slope will carry off the rain. I fancy steep roofs must have been invented when builders used such clumsy materials for covering that they were obliged to lay them on a steep pitch in order to keep out the water. Shingles of course last longer the steeper the roof."
"If that's the case they ought to last forever on the second story walls of our house, where they are straight up and down. When you come to think of it, high roofs must be built now-a-days mainly for show, incidentally they cover the house. First beautiful, then useful. How large will it be?"
"What, the roof?"
"No, the whole thing; how many rooms will it have?"
"That will depend on the size of the family. Not less than ten nor more than forty. Ten rooms will answer for two people, and more than forty complicates the housekeeping."
"Do you count closets?"
"Oh, no. Closets and dressing rooms, storerooms, bath rooms, cupboards and things of that sort, are mere adjuncts. They are to the real rooms what the pockets are to a suit of clothes."
"Excellent. I'm glad we haven't got to count the closet or the expense. Probably ten rooms are not too many for two young people, but a pair of childless octogenarians ought to get along with eight or nine; the other way you are all right, only I would say four hundred. While we are about it, let's have a comfortable, good sized, 'roomy' house. But how do you propose to put even forty rooms with their various pockets under one roof and give them all plenty of sunlight and fresh air? Will you pile them up one above another or set them in a row on the ground? In either case it would need a trolly car and a telephone to connect the two ends of the line."
"It mustn't be more than two stories high, and I'm not sure but one would be better."
"That means twenty rooms on each floor. The rooms will average twenty feet long, and that will make the entire length of our castle four or five hundred feet. Won't it look like an institution or a row of tenements if it is strung out in a line?"
"It will not be."
"Cut up into wings and things?"
"No, it will be in the form of a hollow square. There may be a wing or two on one side or another, and wherever a projecting bay or oriel will add to the comfort or charm of the interior we shall have one, but its general form will be a great square with an open court in the center."
"Oh, I see. An imitation Pompeian, or Florentine palace."
"No, nothing of the kind. Not an imitation of anything. It will be a simple, straightforward, common-sense, American home, with room for a good-sized family, several rooms for extra occasions, and some that will not be finished at all but held in reserve for future contingencies. It sometimes costs no more to enclose a certain space in building than to leave it outside, and there is the same satisfaction in knowing we have space to spare inside the house that there is in owning the land that joins us even when we don't expect to sell or use it."
"What shall we do with the big hole in the center? It will be too small for golf or tennis, and too big for a conservatory. We might keep hens."
"It will not be too large for a garden, with fountains for hot weather and flowers for cold. It will be its own excuse for being, for it will give light and air to all the rooms, and if it has a glass roof the problem of comfortable living in cold weather will be solved. There will always be the temperate zone at one side of the house,—that is inside the court,—however high the drifts may be piled outside. Of course the entire building will be warmed in winter and cooled in summer by spicy breezes driven by electric fans, and we shall only have to decide what temperature we prefer on different days of the week, set the gauge, and there will be no more watching of the thermometer, the registers, the weather reports or the wood pile."
"But I thought it was wrong to live in a river of warm air. Uncle John compares that to taking a perpetual warm bath."
"It is wrong; but, my dear Jack, life is a succession of compromises, especially domestic life, and considering the practical difficulties in the way of open hickory fires in all the forty or more rooms, we must be content with the artificially warmed air for every day use and consider radiated heat from wood fires, coal grates, or sunshine, as luxuries."
"Certainly; it would be a pity to make all luxuries impossible just because we happen to own a castle in Spain. Aren't you afraid our court will be dreadfully hot in summer, shut in by four brick walls?"
"By no means; it will be particularly cool. If we like we can have a great awning to draw over it in the hottest weather, and wide halls will allow a perfect circulation of air throughout the whole structure. In addition to this, on the highest part of the roof there will be a space fitted for an outdoor sitting room, sheltered when necessary by awnings and screens, but most delightful on hot summer evenings."
"Oh, yes, I see. A sort of copy of the old Egyptian houses."
"No, not a sort of a copy of anything, but a simple application of common sense. In the evening when there is a breeze from any direction, the highest part of the house will be the coolest."
"I thought it was to be a two-story house. How can one part be higher than the rest?"
"I didn't say it was to be all of the same height. Some rooms will be much higher than others because they will be larger. If a room is to be of agreeable proportions, the height must be determined by the size. It may be best to make the north side three stories high and the south only one; that would give more sunlight on the north wall of the court and make the average two stories."
"Nothing like keeping up the average. But aren't forty rooms with all the closets and storerooms, and stairways and halls, and bays and oriels and dungeons going to make a large house for one family? Can't we work the same idea on a smaller scale?"
"Of course, but that is not too large for a comfortable home for a family of moderate size. Count your fingers and try it. To begin at that end of the establishment, we want a scullery, a kitchen, and a servants' dining room; we want a breakfast room, and a large dining room for the family, and the dining room, by the way, should be one of the largest rooms in the house, say twenty-one or two feet by thirty six or forty; we want a parlor, a drawing room, a library, a billiard room and a picture gallery; a music room and ball room, these being, of course, in one, but as large as two ordinary rooms; then we want a nursery, a workroom for the children, a sick room and a sewing room, an office and a smoking room, and one or two extra sitting or reception rooms. Each member of the family should have a private sitting room and bedroom, with dressing room and bath for each suite. That, you see, would just about suit a family of ten people without counting the servants."
"Have you made any calculation Jill, dear, as to how many people there are at present in the United States who could manage to scrape along with thirty-nine rooms instead of forty?"
"Why should I? This is a castle in Spain. We have plenty of money, plenty of room, plenty of time. Our only anxiety is lest there should be a lack of brains to make good use of our room and time and money."
"And what shall we build it of, jasper, sapphire and chalcedony?"
"No, burned clay and granite, steel, copper and glass. It shall be defiant of fire and flood; it shall neither burn up nor rot down."
"One thing more, Jill, when we come to make our wills to which one of the children shall we bequeath the castle?"
Before Jill could answer the door was hurriedly opened and Bessie appeared upon the threshold.
"I've just run away from Jim," she began rapidly. "We haven't had a family quarrel exactly, but we've argued it over and over, and we come out just as far apart as ever. Finally I told him I would leave it to you."
"I haven't any idea what it is all about, but did Jim agree to that?"
"I didn't give him a chance to differ. He always agrees to everything Jill says about building houses But don't interrupt me. The baby may wake up at any minute and then Jim will be helpless. The truth is he is dissatisfied with our home."
"Jim, dissatisfied; impossible!"
"Yes, he thinks it's too small."
"He wants more servants, I suppose; several additional children, a lot more poor relations, and all the various items that go to make up a well-ordered household."
"No, no; it is the house that is too small."
"Excuse me, you said the home. The house is a very different affair."
"You remember," Bessie continued, "that when it was built ten years ago Jim thought it was not large enough. Now he is determined to sell it and build a new one. There are five good rooms besides the closets, and as there is nobody but Jim and me and the four children and one servant, we have all the room we need. We have always been perfectly comfortable, and I can't bear the thought of selling our home."
Here Bessie began to show symptoms of dissolution, but swallowing her emotion she continued, "If we could build on a room or two as we need them I wouldn't mind it. But if you advise us to sell this house for the sake of having another, I'll"—
"We shan't advise any such thing," said Jack, "but it's perfectly natural for Jim to think you ought to have a larger, more modern house."
"But I don't want a more modern house," Bessie protested, "if there is any created thing that I despise it is a 'modern' house, made up of bay windows and crooked turrets, and shingled balconies, and peaked roofs, and grotesque little fandangoes of wood and copper and terra cotta, that have no more dignity or repose, or beauty or homelike appearance, than a crazy quilt or a Chinese puzzle. They are simply outrageous, abominable. I would sooner have the children brought up in a reform school or a house of correction."
"How would you like a colonial house?"
Bessie's indignation had spent itself, and she resumed her ordinary, but sometimes misleading manner.
"Isn't it a pity we were not all born a hundred years ago, then we might have had colonial houses. But why should I want to live in an uncomfortable old curiosity shop when I like my house just as it is? Our trouble is that Jim wants the house twice as large as it is now and I want only one more room."
"Bessie," said Jack, in his most fatherly manner, "I am surprised that two sensible people like you and Jim should fall into such a distressing controversy over nothing, absolutely nothing. You are already in perfect accord. Jim says the house is only half large enough. You say you want one more room. The house is now just thirty-three feet long and thirty-three feet wide; add a new room thirty-three feet square; you will have the one extra room, and Jim will have the house doubled in size. Isn't that right?"
"Yes," said Jill; "It is exactly what I should have suggested if you had given me a chance. Do you remember the charming room in the old Florentine palace, where we spent the winter, and how we enjoyed it, and finally measured it for the benefit of some other Americans who intended to build a new house as soon as they got home? That was just thirty-three feet square and eighteen feet high. There was a grand piano in one corner, in another a group of chairs with bookcases, in another sofas and chairs and tables scattered about, so that in effect it was equal to several small rooms. Indeed one of our party described it in a home letter as a magnificent apartment one hundred feet each way. It would accommodate several callers, with their different groups of friends, and it was of course a capital place for music and dancing. In your new room you will have one corner for the children and another for yourselves. The Dorcas society can meet at one side while your little Jack and his friends are playing games at the other. It won't be many years before Bessie will claim a large section, including one of the bay windows, for her own use."
"I think I hear the baby crying. Thank you, I'll talk it over with Jim. Good night."
"Do you think they will do it?" Jack inquired.
"Of course they will; it is by far the most sensible thing. As a family they are always together and always will be, and one large room will suit them better than several small ones. Perhaps it will be the best thing for us, until we can build our castle in Spain. It certainly will not cost as much as making over and enlarging the rooms we have."
"That is true, and it is my impression that the wisest way to enlarge an old house is to nail up the windows, seal up the doors and go ahead with the additions without taking out the nails or breaking the seals till it is all done; that would save time, money and patience."
"Yes, and more than that," said Jill, "it would preserve the charm of the old house which grows stronger every year until the loss of the familiar rooms and their hallowed associations seems like parting with a dear old friend."
End of Project Gutenberg's The House that Jill Built, by E. C. Gardner
*** END OF THIS PROJECT GUTENBERG EBOOK THE HOUSE THAT JILL BUILT ***
***** This file should be named 15678-h.htm or 15678-h.zip *****
This and all associated files of various formats will be found in:
https://www.gutenberg.org/1/5/6/7/15678/
Produced by Audrey Longhurst, Jeannie Howse and the Online
Distributed Proofreading (https://www.pgdp.net), from images
generously provided by the Hearth Library, Cornell
University (http://hearth.library.cornell.edu/).
Updated editions will replace the previous one--the old editions
will be renamed.
Creating the works from public domain print editions means that no
one owns a United States copyright in these works, so the Foundation
(and you!) can copy and distribute it in the United States without
permission and without paying copyright royalties. Special rules,
set forth in the General Terms of Use part of this license, apply to
copying and distributing Project Gutenberg-tm electronic works to
protect the PROJECT GUTENBERG-tm concept and trademark. Project
Gutenberg is a registered trademark, and may not be used if you
charge for the eBooks, unless you receive specific permission. If you
do not charge anything for copies of this eBook, complying with the
rules is very easy. You may use this eBook for nearly any purpose
such as creation of derivative works, reports, performances and
research. They may be modified and printed and given away--you may do
practically ANYTHING with public domain eBooks. Redistribution is
subject to the trademark license, especially commercial
redistribution.
*** START: FULL LICENSE ***
THE FULL PROJECT GUTENBERG LICENSE
PLEASE READ THIS BEFORE YOU DISTRIBUTE OR USE THIS WORK
To protect the Project Gutenberg-tm mission of promoting the free
distribution of electronic works, by using or distributing this work
(or any other work associated in any way with the phrase "Project
Gutenberg"), you agree to comply with all the terms of the Full Project
Gutenberg-tm License (available with this file or online at
https://gutenberg.org/license).
Section 1. General Terms of Use and Redistributing Project Gutenberg-tm
electronic works
1.A. By reading or using any part of this Project Gutenberg-tm
electronic work, you indicate that you have read, understand, agree to
and accept all the terms of this license and intellectual property
(trademark/copyright) agreement. If you do not agree to abide by all
the terms of this agreement, you must cease using and return or destroy
all copies of Project Gutenberg-tm electronic works in your possession.
If you paid a fee for obtaining a copy of or access to a Project
Gutenberg-tm electronic work and you do not agree to be bound by the
terms of this agreement, you may obtain a refund from the person or
entity to whom you paid the fee as set forth in paragraph 1.E.8.
1.B. "Project Gutenberg" is a registered trademark. It may only be
used on or associated in any way with an electronic work by people who
agree to be bound by the terms of this agreement. There are a few
things that you can do with most Project Gutenberg-tm electronic works
even without complying with the full terms of this agreement. See
paragraph 1.C below. There are a lot of things you can do with Project
Gutenberg-tm electronic works if you follow the terms of this agreement
and help preserve free future access to Project Gutenberg-tm electronic
works. See paragraph 1.E below.
1.C. The Project Gutenberg Literary Archive Foundation ("the Foundation"
or PGLAF), owns a compilation copyright in the collection of Project
Gutenberg-tm electronic works. Nearly all the individual works in the
collection are in the public domain in the United States. If an
individual work is in the public domain in the United States and you are
located in the United States, we do not claim a right to prevent you from
copying, distributing, performing, displaying or creating derivative
works based on the work as long as all references to Project Gutenberg
are removed. Of course, we hope that you will support the Project
Gutenberg-tm mission of promoting free access to electronic works by
freely sharing Project Gutenberg-tm works in compliance with the terms of
this agreement for keeping the Project Gutenberg-tm name associated with
the work. You can easily comply with the terms of this agreement by
keeping this work in the same format with its attached full Project
Gutenberg-tm License when you share it without charge with others.
1.D. The copyright laws of the place where you are located also govern
what you can do with this work. Copyright laws in most countries are in
a constant state of change. If you are outside the United States, check
the laws of your country in addition to the terms of this agreement
before downloading, copying, displaying, performing, distributing or
creating derivative works based on this work or any other Project
Gutenberg-tm work. The Foundation makes no representations concerning
the copyright status of any work in any country outside the United
States.
1.E. Unless you have removed all references to Project Gutenberg:
1.E.1. The following sentence, with active links to, or other immediate
access to, the full Project Gutenberg-tm License must appear prominently
whenever any copy of a Project Gutenberg-tm work (any work on which the
phrase "Project Gutenberg" appears, or with which the phrase "Project
Gutenberg" is associated) is accessed, displayed, performed, viewed,
copied or distributed:
This eBook is for the use of anyone anywhere at no cost and with
almost no restrictions whatsoever. You may copy it, give it away or
re-use it under the terms of the Project Gutenberg License included
with this eBook or online at www.gutenberg.org
1.E.2. If an individual Project Gutenberg-tm electronic work is derived
from the public domain (does not contain a notice indicating that it is
posted with permission of the copyright holder), the work can be copied
and distributed to anyone in the United States without paying any fees
or charges. If you are redistributing or providing access to a work
with the phrase "Project Gutenberg" associated with or appearing on the
work, you must comply either with the requirements of paragraphs 1.E.1
through 1.E.7 or obtain permission for the use of the work and the
Project Gutenberg-tm trademark as set forth in paragraphs 1.E.8 or
1.E.9.
1.E.3. If an individual Project Gutenberg-tm electronic work is posted
with the permission of the copyright holder, your use and distribution
must comply with both paragraphs 1.E.1 through 1.E.7 and any additional
terms imposed by the copyright holder. Additional terms will be linked
to the Project Gutenberg-tm License for all works posted with the
permission of the copyright holder found at the beginning of this work.
1.E.4. Do not unlink or detach or remove the full Project Gutenberg-tm
License terms from this work, or any files containing a part of this
work or any other work associated with Project Gutenberg-tm.
1.E.5. Do not copy, display, perform, distribute or redistribute this
electronic work, or any part of this electronic work, without
prominently displaying the sentence set forth in paragraph 1.E.1 with
active links or immediate access to the full terms of the Project
Gutenberg-tm License.
1.E.6. You may convert to and distribute this work in any binary,
compressed, marked up, nonproprietary or proprietary form, including any
word processing or hypertext form. However, if you provide access to or
distribute copies of a Project Gutenberg-tm work in a format other than
"Plain Vanilla ASCII" or other format used in the official version
posted on the official Project Gutenberg-tm web site (www.gutenberg.org),
you must, at no additional cost, fee or expense to the user, provide a
copy, a means of exporting a copy, or a means of obtaining a copy upon
request, of the work in its original "Plain Vanilla ASCII" or other
form. Any alternate format must include the full Project Gutenberg-tm
License as specified in paragraph 1.E.1.
1.E.7. Do not charge a fee for access to, viewing, displaying,
performing, copying or distributing any Project Gutenberg-tm works
unless you comply with paragraph 1.E.8 or 1.E.9.
1.E.8. You may charge a reasonable fee for copies of or providing
access to or distributing Project Gutenberg-tm electronic works provided
that
- You pay a royalty fee of 20% of the gross profits you derive from
the use of Project Gutenberg-tm works calculated using the method
you already use to calculate your applicable taxes. The fee is
owed to the owner of the Project Gutenberg-tm trademark, but he
has agreed to donate royalties under this paragraph to the
Project Gutenberg Literary Archive Foundation. Royalty payments
must be paid within 60 days following each date on which you
prepare (or are legally required to prepare) your periodic tax
returns. Royalty payments should be clearly marked as such and
sent to the Project Gutenberg Literary Archive Foundation at the
address specified in Section 4, "Information about donations to
the Project Gutenberg Literary Archive Foundation."
- You provide a full refund of any money paid by a user who notifies
you in writing (or by e-mail) within 30 days of receipt that s/he
does not agree to the terms of the full Project Gutenberg-tm
License. You must require such a user to return or
destroy all copies of the works possessed in a physical medium
and discontinue all use of and all access to other copies of
Project Gutenberg-tm works.
- You provide, in accordance with paragraph 1.F.3, a full refund of any
money paid for a work or a replacement copy, if a defect in the
electronic work is discovered and reported to you within 90 days
of receipt of the work.
- You comply with all other terms of this agreement for free
distribution of Project Gutenberg-tm works.
1.E.9. If you wish to charge a fee or distribute a Project Gutenberg-tm
electronic work or group of works on different terms than are set
forth in this agreement, you must obtain permission in writing from
both the Project Gutenberg Literary Archive Foundation and Michael
Hart, the owner of the Project Gutenberg-tm trademark. Contact the
Foundation as set forth in Section 3 below.
1.F.
1.F.1. Project Gutenberg volunteers and employees expend considerable
effort to identify, do copyright research on, transcribe and proofread
public domain works in creating the Project Gutenberg-tm
collection. Despite these efforts, Project Gutenberg-tm electronic
works, and the medium on which they may be stored, may contain
"Defects," such as, but not limited to, incomplete, inaccurate or
corrupt data, transcription errors, a copyright or other intellectual
property infringement, a defective or damaged disk or other medium, a
computer virus, or computer codes that damage or cannot be read by
your equipment.
1.F.2. LIMITED WARRANTY, DISCLAIMER OF DAMAGES - Except for the "Right
of Replacement or Refund" described in paragraph 1.F.3, the Project
Gutenberg Literary Archive Foundation, the owner of the Project
Gutenberg-tm trademark, and any other party distributing a Project
Gutenberg-tm electronic work under this agreement, disclaim all
liability to you for damages, costs and expenses, including legal
fees. YOU AGREE THAT YOU HAVE NO REMEDIES FOR NEGLIGENCE, STRICT
LIABILITY, BREACH OF WARRANTY OR BREACH OF CONTRACT EXCEPT THOSE
PROVIDED IN PARAGRAPH F3. YOU AGREE THAT THE FOUNDATION, THE
TRADEMARK OWNER, AND ANY DISTRIBUTOR UNDER THIS AGREEMENT WILL NOT BE
LIABLE TO YOU FOR ACTUAL, DIRECT, INDIRECT, CONSEQUENTIAL, PUNITIVE OR
INCIDENTAL DAMAGES EVEN IF YOU GIVE NOTICE OF THE POSSIBILITY OF SUCH
DAMAGE.
1.F.3. LIMITED RIGHT OF REPLACEMENT OR REFUND - If you discover a
defect in this electronic work within 90 days of receiving it, you can
receive a refund of the money (if any) you paid for it by sending a
written explanation to the person you received the work from. If you
received the work on a physical medium, you must return the medium with
your written explanation. The person or entity that provided you with
the defective work may elect to provide a replacement copy in lieu of a
refund. If you received the work electronically, the person or entity
providing it to you may choose to give you a second opportunity to
receive the work electronically in lieu of a refund. If the second copy
is also defective, you may demand a refund in writing without further
opportunities to fix the problem.
1.F.4. Except for the limited right of replacement or refund set forth
in paragraph 1.F.3, this work is provided to you 'AS-IS', WITH NO OTHER
WARRANTIES OF ANY KIND, EXPRESS OR IMPLIED, INCLUDING BUT NOT LIMITED TO
WARRANTIES OF MERCHANTIBILITY OR FITNESS FOR ANY PURPOSE.
1.F.5. Some states do not allow disclaimers of certain implied
warranties or the exclusion or limitation of certain types of damages.
If any disclaimer or limitation set forth in this agreement violates the
law of the state applicable to this agreement, the agreement shall be
interpreted to make the maximum disclaimer or limitation permitted by
the applicable state law. The invalidity or unenforceability of any
provision of this agreement shall not void the remaining provisions.
1.F.6. INDEMNITY - You agree to indemnify and hold the Foundation, the
trademark owner, any agent or employee of the Foundation, anyone
providing copies of Project Gutenberg-tm electronic works in accordance
with this agreement, and any volunteers associated with the production,
promotion and distribution of Project Gutenberg-tm electronic works,
harmless from all liability, costs and expenses, including legal fees,
that arise directly or indirectly from any of the following which you do
or cause to occur: (a) distribution of this or any Project Gutenberg-tm
work, (b) alteration, modification, or additions or deletions to any
Project Gutenberg-tm work, and (c) any Defect you cause.
Section 2. Information about the Mission of Project Gutenberg-tm
Project Gutenberg-tm is synonymous with the free distribution of
electronic works in formats readable by the widest variety of computers
including obsolete, old, middle-aged and new computers. It exists
because of the efforts of hundreds of volunteers and donations from
people in all walks of life.
Volunteers and financial support to provide volunteers with the
assistance they need, is critical to reaching Project Gutenberg-tm's
goals and ensuring that the Project Gutenberg-tm collection will
remain freely available for generations to come. In 2001, the Project
Gutenberg Literary Archive Foundation was created to provide a secure
and permanent future for Project Gutenberg-tm and future generations.
To learn more about the Project Gutenberg Literary Archive Foundation
and how your efforts and donations can help, see Sections 3 and 4
and the Foundation web page at https://www.pglaf.org.
Section 3. Information about the Project Gutenberg Literary Archive
Foundation
The Project Gutenberg Literary Archive Foundation is a non profit
501(c)(3) educational corporation organized under the laws of the
state of Mississippi and granted tax exempt status by the Internal
Revenue Service. The Foundation's EIN or federal tax identification
number is 64-6221541. Its 501(c)(3) letter is posted at
https://pglaf.org/fundraising. Contributions to the Project Gutenberg
Literary Archive Foundation are tax deductible to the full extent
permitted by U.S. federal laws and your state's laws.
The Foundation's principal office is located at 4557 Melan Dr. S.
Fairbanks, AK, 99712., but its volunteers and employees are scattered
throughout numerous locations. Its business office is located at
809 North 1500 West, Salt Lake City, UT 84116, (801) 596-1887, email
business@pglaf.org. Email contact links and up to date contact
information can be found at the Foundation's web site and official
page at https://pglaf.org
For additional contact information:
Dr. Gregory B. Newby
Chief Executive and Director
gbnewby@pglaf.org
Section 4. Information about Donations to the Project Gutenberg
Literary Archive Foundation
Project Gutenberg-tm depends upon and cannot survive without wide
spread public support and donations to carry out its mission of
increasing the number of public domain and licensed works that can be
freely distributed in machine readable form accessible by the widest
array of equipment including outdated equipment. Many small donations
($1 to $5,000) are particularly important to maintaining tax exempt
status with the IRS.
The Foundation is committed to complying with the laws regulating
charities and charitable donations in all 50 states of the United
States. Compliance requirements are not uniform and it takes a
considerable effort, much paperwork and many fees to meet and keep up
with these requirements. We do not solicit donations in locations
where we have not received written confirmation of compliance. To
SEND DONATIONS or determine the status of compliance for any
particular state visit https://pglaf.org
While we cannot and do not solicit contributions from states where we
have not met the solicitation requirements, we know of no prohibition
against accepting unsolicited donations from donors in such states who
approach us with offers to donate.
International donations are gratefully accepted, but we cannot make
any statements concerning tax treatment of donations received from
outside the United States. U.S. laws alone swamp our small staff.
Please check the Project Gutenberg Web pages for current donation
methods and addresses. Donations are accepted in a number of other
ways including including checks, online payments and credit card
donations. To donate, please visit: https://pglaf.org/donate
Section 5. General Information About Project Gutenberg-tm electronic
works.
Professor Michael S. Hart was the originator of the Project Gutenberg-tm
concept of a library of electronic works that could be freely shared
with anyone. For thirty years, he produced and distributed Project
Gutenberg-tm eBooks with only a loose network of volunteer support.
Project Gutenberg-tm eBooks are often created from several printed
editions, all of which are confirmed as Public Domain in the U.S.
unless a copyright notice is included. Thus, we do not necessarily
keep eBooks in compliance with any particular paper edition.
Most people start at our Web site which has the main PG search facility:
https://www.gutenberg.org
This Web site includes information about Project Gutenberg-tm,
including how to make donations to the Project Gutenberg Literary
Archive Foundation, how to help produce our new eBooks, and how to
subscribe to our email newsletter to hear about new eBooks.
*** END: FULL LICENSE ***